Вариант армирования проема во внутренней стене
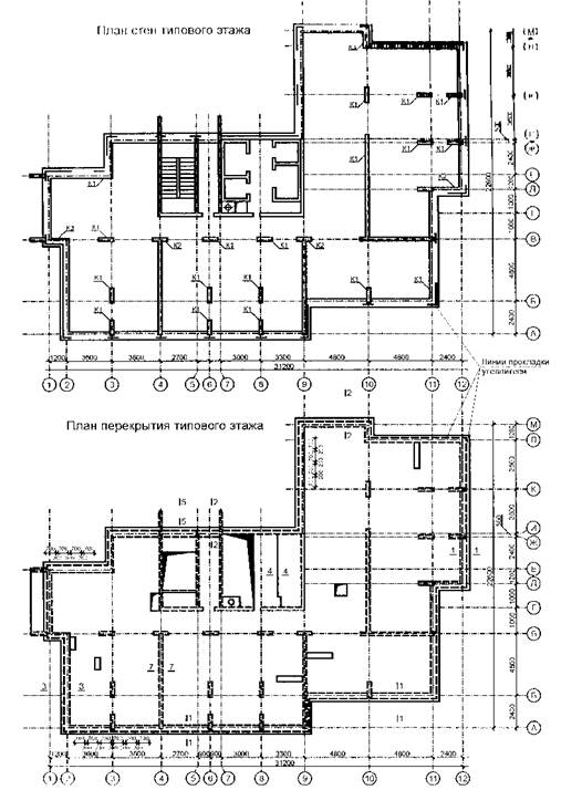
План стен
Стеновая система с широким шагом несущих стен
(Вариант 2)

Рис.1. Стеновая конструктивная система монолита.
По краям стен и проемов устанавливают вертикальные каркасы или гнутые стержни, приваренные к вертикальным сеткам. Гнутые стержни располагают и в местах пересечений стен. При процессе возведения стен соблюдают непрерывность армирования.
В наружные стенки приставных лоджий прокладывают теплоизоляционные вкладыши.


Рис.2. Узлы армирования внутренних стен.
Монолитные перекрытия в конструктивной стеновой системе работают как неразрезные балочные системы или как плиты, защемленные по трем или четырем сторонам (рис. 3.). Армирование плит перекрытий производят арматурными (сварными или вязанными) сетками. Сетки укладывают в нижнем сечении плиты, а в местах опирания на вертикальные стены - в верхнем сечении. В местах опирания плит на наружные стены прокладывают теплоизоляционные пакеты. Теплоизоляцию плиты перекрытия соблюдают при устройстве лоджий и балконов. В конструкциях монолитных зданий допускается устройство перекрытий из сборных панелей.

Рис.3. Планы перекрытий монолитного здания стеновой конструктивной системы.
Каркасная конструктивная система монолита представляет свободу в планировке жилых помещений, а также возможность устройства нежилых объемов (магазины, кафе, рестораны) в нижних этажах зданий (рис.4). Также как и в стеновой системе соблюдают принцип непрерывного армирования при возведении несущих конструкций. Колонны армируют вертикальными стержнями с замкнутыми хомутами или вертикальными каркасами. Монолитные перекрытия армируют меж колоннами сетками и под колоннами, рассчитанными на усилия от продавливания. Вариантами каркасной системы служат конструктивные системы с плоскими пилонами (плоские колонны) (рис.5 и 6). Они могут быть решены как с устройством ригелей в плоскости перекрытия, так и без них. Так же, как и каркасные системы, они обладают свободой планировочных решений, но имеют некоторые недостатки по сравнению с каркасной системой:
- колонны заменены плоскими участками стен, более развитыми по сравнению с сечением колонн;
- при ригельной системе появляются балки в интерьере помещений.

Рис.4. Каркасная безригельная система.

Рис.5. Конструктивная безригельная система с несущими пилонами.

Рис.6. Конструктивная система монолита с несущими пилонами.
Следует отметить, что с точки зрения конструктивного решения ригельная система имеет преимущества перед безбалочной в связи с упрощением армирования перекрытий, не требующих усиления его надколонной части.
Габариты пилонов колеблются 200-250x1200-1500 мм. Армирование пилонов назначают по расчету.
Каркасная система с плоским перекрытием коробчатого типа (рис.7) применяют при большом шаге расстановки колонн - 7,2x7,2 м или 9х9 м.

Рис.7. Каркасная система с плоским перекрытием коробчатого сечения.
Плоская плита перекрытия высотой в 400 мм представляет собой систему перекрестных балок (ребер) с уложенными между ними вкладышами из теплоизоляционных материалов (пенополистирол, минераловатные плиты и пр.). Верхняя (толщиной 60 мм) и нижняя (толщиной 50 мм) плоскости плиты связаны между собой ребрами. Верхняя и нижняя плоскость плиты армируется конструктивными сетками, а ребра - сварными или вязаными каркасами. По осям колонн располагают основные балки шириной порядка 400 мм и армируют рабочей арматурой. Второстепенные (дополнительные) балки, идущие с шагом 600 мм, имеют ширину 120-150 мм, их армирование конструктивное.
Каркасная система с плоским коробчатым перекрытием имеет большую несущую способность, хорошие звукоизоляционные свойства и достаточно проста в изготовлении.
Наружные стены монолитных зданий могут иметь многовариантные решения:
- стены слоистые с монолитным железобетонным слоем;
- стены, выполненные из не бетонных материалов (кирпич, ячеистобетонные и керамзитобетонные блоки).
Полностью монолитные стены возводят из бетона плотностью 1000-1400 кг/м3. Современные требования строительной теплотехники ограничивают их применение южными районами страны.
Монолитные слоистые наружные стены имеют внутренний несущий железобетонный слой, а для выполнения наружного слоя существует ряд модификаций: -
А - наружный монолитный слой;
Б - наружный слой из кирпичной кладки;
В - с наружной облицовкой железобетонными скорлупами.
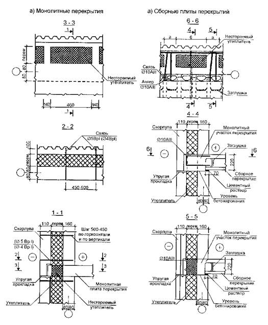
А - Монолитные слоистые наружные стены (рис. 8) возводят непосредственно на строительной площадке с предварительной установкой в опалубку термопакетов. После чего производят одновременное бетонирование наружного (не менее 70 мм) и внутреннего слоев. В уровне перекрытия бетонные слои стены соединяют бетонными шпонками. Между шпонками укладывают несгораемый утеплитель, играющий роль поэтажного разделителя.
Б - Монолитная наружная несущая стена с наружным слоем из кирпичной кладки (рис. 9)
В первую очередь возводят внутренний монолитный слой, к которому при помощи анкеров крепят утеплитель. Для соединения внутреннего монолитного слоя и кирпичной кладки закладывают металлические связи, на которые накалывают утеплитель.

Рис.8. Монолитная слоистая наружная стена.
Монолитная плита перекрытия заходит за несущий внутренний бетонный слой наружной стены в виде решетки с гнездами утеплителя. При перекрытиях, выполненных из сборных железобетонных плит, в теле стены устраивают монолитный пояс, связанный арматурой со сборными элементами перекрытия.
По высоте стены в уровне перекрытия устанавливают по наружной поверхности облицовочную плитку под кирпич.

Рис.9. Монолитная слоистая наружная стена с облицовкой кирпичом.
В - Трехслойная монолитная наружная стена с наружной облицовкой железобетонными скорлупами (рис. 10). Скорлупа может иметь любую конфигурацию сечения.
Монолитная плита перекрытия, как и в описанном выше варианте, заходит за внутренний железобетонный слой стены в виде решетчатой конструкции с гнездами утеплителя.
Технология производства такой конструкции предусматривает в первую очередь установку и крепление к перекрытию и внутренним поперечным монолитным стенам железобетонных скорлуп. Затем на скорлупу с внутренней стороны наклеивают утеплитель. После чего приступают к армированию и бетонированию в щитовой опалубке внутреннего несущего слоя стены. Перекрытие, как и в варианте Б - может быть решено с применением сборных плит.

Рис.10. Монолитная слоистая наружная стена с облицовкой железобетонными скорлупами.