Схемы комплексной механизации и автоматизации погрузочно-разгрузочных работ и складских операций
Транспорт торфяной промышленности.
Транспорт металлургических предприятий.
Особенности железнодорожного транспорта промышленных предприятий.
1. Небольшая грузоподъёмность.
2. Небольшая скорость движения.
3. Малый вес поездов.
4. Наличие рельсовых путей с малыми радиусами и большими уклонами.
5. Большое количество пересечений с автомобильной дорогой.
6. Отсутствие пассажирских перевозок.
Весь железнодорожный транспорт делится на транспорт узкой и широкой колей. Узкоколейные железнодорожные пути в зависимости от назначения и срока службы делится на временные и постоянные. Их преимущество перед обычными состоит в том, что они проектируются по более легким нормам, благодаря сему сокращается объём строительства дорог, и резко сокращаются капиталовложения.
При подземном способе добычи полезных ископаемых груз транспортируется от забоя до поверхности в следующей последовательности. Из забоя до места погрузки полезные ископаемые загружаются в вагонетки, далее их доставляют с помощью конвейеров и перегружают на подземную узкоколейную дорогу. По ней груз следует до подъемника, дальше поднимается на поверхность. На поверхности вагонетки выкатываются и по отвалочным путям направляются к разгрузочным устройствам.
|
|
|
Автомобильный транспорт находит применение лишь при сложном рельефе при перевозке горной массы на короткое расстояние.
На современных заводах вагоны с углем разгружаются при помощи вагоноопрокидывателей, с дальнейшим транспортированием угля на склад ленточными конвейерами. В результате производственного процесса доменные цеха получают чугун и шлак. Жидкий чугун перевозится в чугунных ковшах, жидкий шлак в шлаковозах для дальнейшей обработки. Гранулированный шлак грузится в открытые полувагоны для перевозки в отвал. В настоящее время изучается вопрос возможность применения трубопроводного транспорта для транспортировки жидкого чугуна и шлака, что упростит конструкцию цеха за счёт снятия железнодорожных путей. На металлургических предприятиях автотранспорт используется как внутрицеховой.
Он отличается тем, что используется только узкоколейные железные дороги, из-за того, что пути прокладываются по болотам в местах больших топей.
Вид схемы механизированной перегрузки грузов зависит:
- от объемов и характера складских работ;
- подготовленности грузов для выполнения грузовых операций:
а) непакетированные;
б) пакетированные;
в) типы пакетов;
![]() |
- номенклатуры грузов;

- сроков хранения грузов на складе;
|
|
|
- финансовых возможностей предприятия.
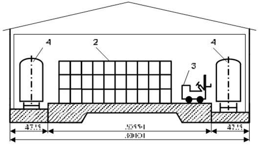
Схема 1 механизированной перегрузки и хранения тарно-штучных грузов:
- в крытом складе;
- с внешним расположением подъезных транспортных средств;
- с выполнением грузовых операций малогабаритными электро- или автопогрузчиками.



Особенности:
а) груз хранится в штабелях, что целесообразно при:
- массовой обработке груза;
- небольшой номенклатуре груза;
б) прямой вариант погрузки, выгрузки транспортных средств.
Недостаток:
- работа по погрузке, выгрузке транспортных средств на открытом воздухе.
Технология погрузки (выгрузки):
![]() | |||||
![]() | |||||
![]() | |||||

ВИДЕО: Работа погрузчика KALMAR с навесным устройством 20.07.2012 www.youtube
Маршрут перемещения груза:

Схема 2 – то же, но с вводом подъезных путей
внутрь склада
Преимущества: улучшают условия работы и сохранность груза.
Недостаток: повышают стоимость строительства склада.
ВАРИАНТ А. Однопролетный склад (с навесом для автомобилей):

То же с двумя железнодорожными путями
![]() |
Схема 2 может иметь многопролетные варианты:
ВАРИАНТ Б. Двухпролётный склад

ВАРИАНТ В. Трёхпролётный склад

Прогрессивным направлением в развитии складов для тарно-штучных грузов является переход к стеллажному хранению грузов.
Преимущество: возможность внедрения гибких автоматизированных систем механизации.
Вариант 1.
Вариант 2.











