![]() |
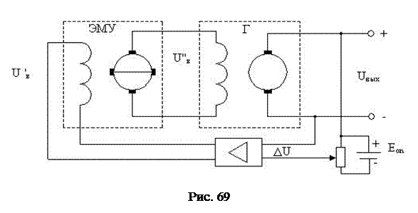
В системах автоматического управления наиболее распространён принцип управления по отклонению. На рис. 69 показана упрощенная принципиальная схема системы автоматического регулирования напряжения генератора постоянного тока, применяемая в системах электропровода.
В этой системе поддерживается заданное значение выходного напряжения
генератора Г при всех изменениях нагрузки. Задача управления решается путем сравнения величины выходного напряжения
с заданным значением напряжения от опорного источника напряжения
. Функциональная схема системы приведена на рис. 70.







