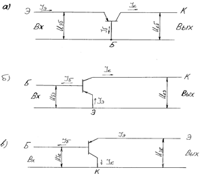
В электрических схемах транзисторы включают: с общей базой (ОБ), общим эмиттером (ОМ) и общим коллектором (ОК) (см. рис.)

У всех схем включения коэффициент усиления по мощности
.
Схема с ОБ, по сравнению с ОЭ и ОК характеризуется самым низким входным и самым высоким выходным сопротивлением. В схеме с ОБ
, а коэффициент усиления по напряжению
. Схема с ОЭ характеризуется относительно высоким входным и выходным сопротивлениями, поэтому в этой схеме
и
. Схема с ОК обладает самым большим входным и самым низким выходным сопротивлениями, в этом случае
, а
. Схема с ОБ обладает хорошими частотными характеристиками т. к. в этой схеме облегчен процесс рассасывания носителей заряда, кроме этого она позволяет наглядно раскрыть физику транзистора, однако она имеет небольшое усиление по току и имеет малое входное сопротивление в связи с этим мало используется в электронных схемах. На практике максимальное применение в электрических схемах получили схемы с ОЭ, т. к. они имеют приличное усиление и по току и по напряжению.






