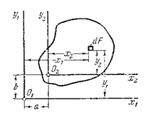
Возьмем некоторое поперечное сечение бруса (рис. 4.2)

Рис. 4.2
Свяжем его с системой координат
и рассмотрим два следующих интеграла

(4.1)
Индекс
у интеграла означает, что интегрирование ведется по всей площади сечения.
Первый интеграл называется статическим моментом сечения относительно оси
, а второй статическим моментом относительно оси
. Размерность —
.
При параллельном переносе осей величины статических моментов меняются. Рассмотрим две пары параллельных осей
и
(рис. 4.3).

Рис. 4.3
Пусть расстояние между осями
и
равно
, а между
и
равно
. Дано:
. Требуется определить
.
Очевидно, что 

Искомые статические моменты равны


Или 
.
Рассмотрим подробнее, например, первое из полученных выражений

Величина
может быть как положительной, так и отрицательной. Всегда можно подобрать
так, причем единственным образом, чтобы,
, тогда
. Ось, относительно которой статический момент равен “0”, называется центральной.
Расстояние до центральной оси от некоторой произвольной
равно
|
|
|
, (4.2)
аналогично
. (4.3)
Таким образом, с помощью формул (4.2), (4.3) можно найти центр тяжести любой фигуры.






