Пусковое устройство. В процессе пуска число оборотов двигателя незначительно, скорость воздушного потока небольшая, тонкость распыливания и испарения топлива недостаточны. Пониженный температурный режим двигателя способствует конденсации части топлива на стенках впускного коллектора. Все это создает неблагоприятные условия для смесеобразования и вызывает затруднения при пуске непрогретого двигателя.
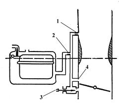
Следовательно, для облегчения пуска двигателя необходимо кратковременное обогащение смеси. Это достигается при помощи специального пускового устройства, которое у большинства карбюраторов представляет собой воздушную заслонку (рис. 5.14).

Рис. 5.14. Воздушная заслонка с клапаном
Воздушная заслонка устанавливается во входном патрубке карбюратора, перед диффузором. При пуске воздушная заслонка кратковременно прикрывается. Это понижает количество воздуха, проходящего через диффузор, но, повышая разрежение у распылителя, увеличивает подачу топлива и обогащает смесь.
|
|
|
Воздушная заслонка часто дополняется клапаном, предотвращающим переобогащение смеси. Клапаном является круглая пластина, нагруженная пружиной. Под действием пружины пластина прижимается к воздушной заслонке и закрывает имеющиеся в ней отверстия. Как только двигатель запустится, разрежение в диффузоре возрастает. При этом пружина сжимается, пластина отходит от заслонки и открывает отверстия. В карбюратор поступает дополнительный воздух, что препятствует переобогащению смеси.
С этой же целью воздушная заслонка выполняется иногда неравносторонней, устанавливается на оси эксцентрично, а с приводным рычагом соединяется через пружину. При увеличении разрежения в карбюраторе воздушная заслонка под действием воздушного потока на большую сторону заслонки открывается автоматически.
У ряда карбюраторов пусковое устройство представляет собой сочетание воздушной заслонки с клапаном и обогатительной иглы.
Ряд карбюраторов имеет автоматическое управление воздушной заслонкой. В процессе пуска положение воздушной заслонки изменяется автоматически при помощи температурного (в зависимости от температуры охлаждающей воды или впускного коллектора) или вакуумного (в зависимости от разрежения во впускном коллекторе или карбюраторе) регуляторов.
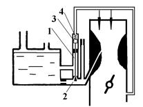
Устройство холостого хода. На холостом ходу и малых нагрузках двигателя дроссельная заслонка почти полностью прикрыта, но воздушная заслонка открыта. В этот период расход воздуха и разрежение в диффузоре малы и главное дозирующее устройство не работает. Обогащение смеси на холостом ходу и малых нагрузках достигается при помощи устройства холостого хода (рис. 5.15).
|
|
|

Рис. 5.15. Устройство холостого хода
Работа этого устройства основана на использовании значительных разрежений, которые создаются за дроссельной заслонкой, когда дроссель прикрыт.
В устройстве холостого хода топливный жиклер холостого хода 2 каналомсообщается с отверстием 4 в стенке карбюратора перед дросселем и отверстием за дросселем, проходное сечение которого регулируется винтом 3. В канал через воздушный жиклер 1 поступает воздух.
На холостом ходу и малых нагрузках под действием значительного разрежения за дросселем топливо из поплавковой камеры через жиклер 2 поступает в канал, смешивается с воздухом, поступающим через воздушный жиклер 1, и образует эмульсию. Эмульсия поступает в пространство за дросселем через отверстие и дополнительно распыливается воздухом, проникающим с большой скоростью через зазоры между дросселем и стенками карбюратора.
Отверстие 4 создает условия для плавного перехода от холостого хода к малым нагрузкам и постепенного обеднения смеси. При холостом ходе, когда дроссель прикрыт, через отверстие 4, расположенное выше дросселя, в канал проходит воздух. Воздух уменьшает разрежение в канале и притормаживает истечение топлива. Когда при переходе к малым нагрузкам дроссель незначительно открывается, а расход воздуха, проходящего через карбюратор, увеличивается, оба отверстия оказываются ниже дросселя. В этот период приток воздуха через отверстие 4 в канал прекращается и подача топлива несколько увеличивается.
По мере дальнейшего открытия дросселя разрежение за дросселем постепенно падает, но в горловине диффузора повышается. Одновременно подача топлива устройством холостого хода постепенно уменьшается, а затем прекращается. Подача топлива обеспечивается главным дозирующим устройством. Устройство холостого хода участвует в смесеобразовании при пуске двигателя.
Экономайзер. Максимальная мощность двигателя достигается на обогащенной смеси, когда коэффициент избытка воздуха составляет от 0.8 до 0.9. Но главное дозирующее устройство карбюратора рассчитывается на приготовление экономичной смеси. Следовательно, необходимо обогащать смесь от состава, соответствующего максимальной экономичности (что обеспечивается главным дозирующим устройством), до состава, при котором возможно реализовать максимальную мощность.
Для осуществления указанного требования современные карбюраторы имеют устройство, позволяющее автоматически обогащать смесь. Такое автоматическое устройство, обеспечивающее сочетание экономичной работы двигателя при неполных нагрузках и реализацию максимальной мощности при полных нагрузках, называется экономайзером.
Экономайзеры выполняются с механическим или пневматическим приводом. Экономайзер с механическим приводом включается в действие в зависимости от положения дросселя, а экономайзер с пневматическим приводом – в зависимости от разрежения в карбюраторе.
Принципиальная схема экономайзера с пневматическим приводом показана на рис. 5.16. Колодец экономайзера имеет клапан 2, шток 1, пружину 4 и поршень 3, размещенный в цилиндре. Цилиндр над поршнем сообщается через канал с пространством за дросселем. На малых и средних нагрузках под действием разности давлений поршень удерживается в верхнем положении. Клапан экономайзера при этом закрыт. С переходом к большим нагрузкам разность давлений значительно понижается. Поэтому поршень под действием разжимающейся пружины штока опускается, а клапан экономайзера открывается. Одновременно дополнительное топливо из колодца через жиклер экономайзера поступает к распылителю и обогащает смесь.

Рис. 5.16. Экономайзер с пневматическим приводом
|
|
|
Схема экономайзера с механическим приводом показана на рис. 5.17. Колодец экономайзера имеет клапан 2, шток 1, имеющий механическую связь с дроссельной заслонкой. На малых и средних нагрузках шток находится в верхнем положении. Клапан экономайзера при этом закрыт. С переходом к большим нагрузкам, при определенном положении дроссельной заслонки, на шток оказывается механическое воздействие. Шток опускается, а клапан экономайзера открывается. Одновременно топливо из колодца через жиклер экономайзера поступает к распылителю и смесь обогащается.

Рис. 5.16. Экономайзер с механическим приводом
Характер изменения мощности двигателя в зависимости от степени открытия дросселя у карбюраторов с экономайзерами показан на рис. 5.17.
Из рис. 5.17а следует, что экономайзер с механическим приводом (двигатель ЗИЛ-130, карбюратор К-88А) включается в работу при одном и том же положении дросселя (около 80% открытия), вне зависимости от числа оборотов двигателя. Если при п = 2000 об./мин перед включением экономайзера мощность еще продолжает расти, то при п = 1000 об./мин и 40% открытия дросселя мощность практически не возрастает. Это ухудшает приемистость двигателя и является недостатком экономайзера с механическим приводом.
Включение экономайзера с пневматическим приводом (рис. 5.17б) происходит при разных положениях дросселя. Если при п = 900 об./мин экономайзер включается, когда дроссель открыт на 30%, то при п = 2300 об./мин включение соответствует открытию дросселя на 60%. Это объясняется зависимостью включения экономайзера от разрежения во впускном коллекторе.


а б
Рис. 5.17. Изменение мощности двигателя в зависимости от нагрузки и числа оборотов
Следовательно, по мере уменьшения оборотов включение экономайзера происходит при меньшем открытии дросселя. Это является преимуществом карбюратора с экономайзером, имеющим пневматический привод, так как дает возможность повысить мощность в те периоды, когда увеличение открытия дросселя не дает такой возможности.
Некоторые карбюраторы с двумя смесительными камерами имеют экономайзер, называемый эконостатом (рис. 5.18). Он устанавливается во вторичных камерах, дроссельные заслонки которых начинают открываться при нагрузке, близкой к полной.
|
|
|

Рис. 5.18. Эконостат
При работе на малых и в начале средних нагрузок дроссельная заслонка вторичных камер закрыта и поток воздуха в диффузоре отсутствует.
При средних нагрузках, когда топливной смеси, приготовленной первой камерой, недостаточно, дроссельная заслонка вторичной камеры начинает открываться. Увеличивающийся поток воздуха через диффузор создает разрежение, и начинает работать главная дозирующая система вторичной камеры 2, которая готовит обедненную смесь.
При нагрузке, близкой к полной, воздушный поток через вторичную камеру велик и разрежение создается не только в диффузоре, но и перед ним. Через распылительную трубку эконостата 1, выведенную выше диффузора, начинает распыляться топливо, поднимаемое из поплавковой камеры этим разрежением. Топливная смесь обогащается.
Насос-ускоритель. Необходимость резкого изменения режима работы двигателя при разгоне машины или во время движения по пересеченной местности вызывает необходимость резкого изменения степени открытия дросселя.
При резком открытии дросселя разрежение в диффузоре карбюратора значительно возрастает, а за дросселем падает. С увеличением разрежения в диффузоре расход воздуха, благодаря меньшей инерции, повышается в большей мере, чем расход топлива. Поэтому смесь кратковременно обедняется. Понижению разрежения за дросселем сопутствует понижение температуры смеси; часть топлива конденсируется, что также способствует кратковременному обеднению смеси.
Обеднение смеси влечет за собой падение мощности и ухудшение приемистости двигателя и может вызвать перебои в его работе. Для того чтобы резкое открытие дросселя не сопровождалось временным обеднением смеси, а приемистость двигателя не ухудшалась, большинство современных карбюраторов снабжается насосом-ускорителем.
Принципиальная схема насоса-ускорителя показана на рис. 5.19. Колодец насоса питается топливом из поплавковой камеры через впускной клапан 1. Колодец сообщается с распылителем и имеет выпускной клапан 2. Если клапан 2 открыт, топливо из колодца поступает в распылитель 5. Поршень насоса 3 постоянно отжимается пружиной вверх к штоку 4. Шток при помощи рычага связан с осью дросселя.
При постепенном открытии дросселя и медленном движении поршня топливо из колодца перетекает через впускной клапан 1 в поплавковую камеру; выпускной клапан 2 при этом закрыт. При резком открытии дросселя поршень перемещается вниз, под действием давления топлива впускной клапан 1 закрывается, выпускной клапан 2 открывается и дополнительная доза топлива из колодца поступает в смесительную камеру, обогащая смесь.

Рис. 5.19. Принципиальная схема насоса-ускорителя
Когда дроссель прикрывается, поршень насоса под действием пружины перемещается вверх; впускной клапан 1 при этом открыт и колодец заполняется топливом. Колодцем насоса-ускорителя иногда служит колодец экономайзера, но чаще колодец насоса выполняется самостоятельным.






