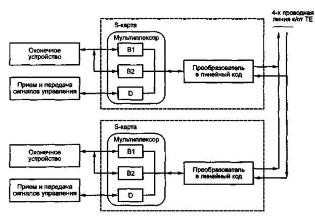
На рис. 2 показаны принцип и устройства подключения интерфейса в эталонной точке S (между оконечным устройством и сетевым окончанием). Следует обратить внимание на то, что в оконечных устройствах должны присутствовать функциональная часть и устройство приема и передачи управляющей информации. В частности, передача информации происходит после полного накопления номера, это же устройство осуществляет анализ доступа к каналам В\ и В2, который будет подробнее рассмотрен далее.

Рис. 2 Принцип подключения к эталонной точке S
Интерфейс в точке S использует 4 провода. Передача осуществляется по двум проводам и столько же проводов используется на приемном конце. Следовательно, интерфейс в эталонной точке S требует четырехпроводной линии от абонентской розетки до сетевого терминала, который находится на расстоянии нескольких километров. Расстояние зависит от параметров линии (диаметра жил кабеля и других параметров, рассмотренных в главе 1). Скорость передачи равна 196 кбит/с. Для обмена информацией применяется рассмотренный линейный биполярный код с уплотнением нулей.
Предполагается, что оконечное устройство генерирует цифровую последовательность в формате ИКМ со скоростью 64 кбит/с (8 кбайт/с). Структура и наполнение байтов для тракта ISDN безразличны. Информационные и сигнальные потоки поступают на вход мультиплексора. При этом каждое из оконечных устройств может передавать информацию по одному из двух каналов в зависимости от их занятости (канал может быть занят любым другим устройством из множества устройств, подключенных к шине). Выбор одного из каналов производится на станции путем передачи сигналов управления интерфейса в точке S. После объединения с помощью мультиплексора каналов 2В + D результирующий поток передается на следующий блок, где производится кодирование информации и добавляются
служебные биты. При этом скорость, необходимая для обмена, возрастает. Для передачи в интерфейсе эталонной точки S принят формат, представленный на рис. 3

Рис. 3 Формат данных и служебных сигналов, передаваемых в интерфейсе эталонной точи S
Полезная информация, — в данном случае это байты каналов В\, В2 и D — дополнена служебной информацией. Добавлены следующие биты: бит нарушения четности (L), бит эхо (Е) и 8 битов флага.
Бит нарушения четности показывает, что число последовательно передаваемых нулей превысило заданную норму. Поэтому, для того чтобы не возникала последовательность из большого числа нулей, необходимо выполнить алгоритм вставки единицы в бит L, который нарушает четность при чередовании единиц (см. табл. 1.9 и рис. 3).
Бит эхо связан со специальной процедурой, которая решает задачу конкуренции при поступлении одновременно нескольких требований на информационный канал. Когда от одного из абонентов поступает вызов, по каналу D передается последовательность единиц. Ответ на эту последовательность поступает по эхо-каналу в виде последовательности единиц (ответ на каждую переданную единицу).
Каждому из 8-ми абонентов присваивается код из последовательности единиц в соответствии с предоставленным приоритетом:
приоритет 1 — 11111111,
приоритет 2 — 01111111,
приоритет 3 — 00111111,
приоритет 4 — 00011111,
приоритет 5 — 00001111,
приоритет 6 — 00000111,
приоритет 7 — 00000011,
приоритет 8 — 00000001.
Сетевое устройство, получившее символ «0» на последнюю посланную единицу, перестает генерировать вызов. Таким образом в канале останется только то устройство, которому присвоено наибольшее число единиц (наивысший приоритет).
Флаг применяется в системах передачи для того, чтобы отметить начало передачи единицы информации. Исходная смысловая информация разбита на блоки (единицы), содержащие определенное количество байтов (в данном случае 48). Флаг позволяет отделить каждую такую единицу, одновременно указывая на конец одной единицы и начало другой, и тем самым выполняя задачу синхронизации. Флаг также позволяет подстраивать генератор, поскольку представляет собой последовательность 01111110, содержащую много единиц. Наличие флага улучшает качество передачи, но требует дополнительного времени, поэтому иногда его пропускают (при гарантии низкого уровня помех в канале).
Подсчитаем необходимую скорость передачи информации. Если передавать только полезную информацию, то процесс передачи можно представить как передачу 4 раза за одну мс трех полей информации, которые в сумме составляют 36 битов (16 битов — два канала 51, 16 битов — два канала 52 и 4 бита — канал D), что требует скорости передачи 4x36 = 144 кбит/с. Если к каждому из трех полей добавить 4 служебных бита эхо-канала (E), то необходима скорость 4x40 =160 кбит/с.
Добавление флага и другой служебной информации приводит к варианту, показанному на рис. 1.41: 48 бит за 250 мс или 192 кбит/с.