Автозаправочные станции (АЗС) предназначены для приема, хранения и заправки наземных транспортных средств моторным топливом.
Наряду с заправкой топливом на АЗС могут выполняться следующие работы:
- замена и доливка масла в двигатели и охлаждающей жидкости в радиаторы;
- подкачка шин воздухом;
- доливка электролита и подзарядка аккумуляторов;
- доливка тормозной жидкости и прокачка тормозов;
- мойка автомобилей;
- мелкие работы по обслуживанию и ремонту автомобилей;
- сервисное обслуживание водителей и пассажиров (кафе, магазин и т. д.).
Чтобы не снижать пропускную способность станции по заправке топливом, все вспомогательные работы выполняются в стороне от заправочных островков на специально выделенных постах.
Автомобильные заправочные станции классифицируют по различным признакам. По конструктивному исполнению:
- стационарные;
- контейнерные (КАЗС);
- передвижные (ПАЗС).
По функциональному назначению:
- общего пользования;
- ведомственные.
По способу размещения резервуаров:
|
|
|
- с подземным расположением;
- с наземным расположением;
- с расположением на транспортном средстве.
По нормативным параметрам типовых проектов:
- по числу топливораздаточных колонок;
- по числу заправок в часы пик;
- по количеству заправляемых машин в сутки;
- по общей вместимости резервуаров.
По типу расположения на местности автозаправочные станции бывают:
- дорожные;
- городские;
- сельские;
- речные.
Дорожные АЗС располагаются вблизи автомобильных дорог. Они должны обеспечивать заправку автомобилей топливом, сжатым воздухом и водой. Мощность дорожных станций зависит от напряженности автотранспорта на дороге и может достигать 1000 – 1500 заправок в сутки.
Городские АЗС размещаются в городах вне центральной части (жилой застройки) и рассчитаны на заправки всех типов автомобилей и мототехники. Мощность городских станций – 250 – 1000 заправок в сутки, а станций «тротуарного типа» – 150 – 250 заправок в сутки в центральных районах города для личных легковых автомобилей.
Сельские АЗС обеспечивают заправку автотранспортных средств сельскохозяйственных предприятий и организаций районных центров всеми видами горючесмазочных материалов.
Речные АЗС осуществляют заправку водных маломерных судов – катеров, моторных лодок и др.
Стационарные АЗС строят по типовым проектам с серийно выпускаемыми технологическими системами для приема, хранения и заправки топливом, согласованные с Государственной противопожарной службой МЧС России. Допускаются несерийные технологические системы, документация которых согласуется с территориальными подразделениями противопожарной службы.
|
|
|
Стационарные АЗС представляют собой капитальные сооружения, включающие здания, топливозаправочные колонки, резервуары, технологические трубопроводы, очистные сооружения и различные системы обеспечения технологического процесса. Вариант сооружений АЗС показан на рисунке 4.1.
Навесная группа включает заправочные островки, информационные колонные светильники, облицовочный комплект колоннады и навесной части, световой фриз в фирменной расколеровке «Заказчика», объемный световой знак «Заказчика», светильники освещения, переходной купол между зданием и навесной группой.

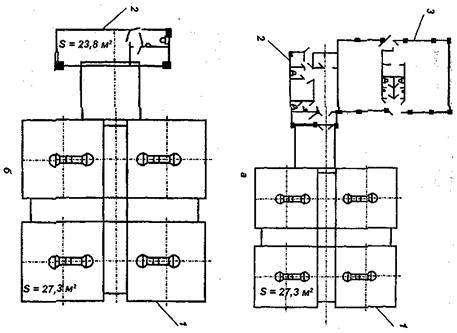
Рис. 4.1. Состав сооружений АЗС: а) I – навесная группа; 2 – производственный блок здания; 3 – сервисный блок здания; б) 1 – навесная группа; 2 – модуль здания полной заводской готовности
Заправочные островки изготавливают из полированной или шлифованной нержавеющей стали и используют в качестве оснований ТРК, опор колонн, стел и сервисных постов с целью защиты их от повреждений автотранспортом.
Здание АЗС состоит из одного модуля заводской готовности или производственного и сервисного блоков. Производственный блок включает центральный вход, зону работы оператора, электрощитовую, кладовую, служебный выход, комнату слесаря, комнату администратора, служебный санузел, санузел для посетителей и комнату охраны. Сервисный блок предназначен для обслуживания.
Здание АЗС оборудуется системами кондиционирования воздуха, тепловой завесы центрального тамбура, теленаблюдения, отопления, освещения и вентиляции, учета электроэнергии и расхода воды, канализации, охранно – пожарной сигнализации, громкой связи, а также блоками защиты ТРК и др.
Стационарные АЗС могут обеспечить заправку до 1500 машин в сутки. По емкости их рассчитывают на 200, 250, 500, 750 и 1000 заправок автомобилей в сутки, по числу заправок в часы пик – 57, 100, 135, 170 автомобилей в час, возможны и другие мощности (табл. 4.1). Наиболее распространенными типами являются АЗС на 500 – 750 заправок в сутки.
Таблица 4.1 Нормативные параметры типовых проектов АЗС
| Типы АЗС | Мощность АЗС, машин / ч | Количество резервуаров 25 м3, шт. | Время заправки транспортного средства, мин. | Число топли – вораздаточ – ных колонок, шт. | Средняя разовая заправка, л | Площадь АЗС, га |
| Первый | 2,5 | 0,4 | ||||
| Второй | 2,5 | 0,35 | ||||
| Третий | 120 80 | 2,5 | 0,3 | |||
| Четвертый | 1,75 | 0,2 |
Технологический процесс функционирования стационарной АЗС включает комплекс операций по приему, хранению и выдаче нефтепродуктов. С целью повышения эффективности работы АЗС технологический процесс может быть обеспечен автоматизированными системами по определению количества топлива, контроля герметичности резервуаров, снижению потерь топлива и сохранению его качества.
Количество хранимого на АЗС топлива определяется исходя из средней величины заправки одного автомобиля (50 л), а количество ТРК – из расчета обслуживания 15 автомобилей в час.
Планировка станции может иметь различные решения в зависимости от мощности и количества отпускаемого топлива и предоставляемых клиентам услуг. Одно из таких решений показано на рисунке 4.2.

Рис. 4.2. План автозаправочной станции: I – площадка под автоцистерну; 2 – топливные резервуары; 3 – стоянка машин; 4 – мусорные баки; 5 – стела; б – резервуары – накопители для очистных сооружений