Желательные требования: жаростойкость, жаропрочность, химическая стойкость, однозначность и линейность градуировочной характеристики.
Стандартные термоэлектрические термометры.
| Тип термопары | Обозначение новое (старое) | Рабочий диапазон длительного режима работы, ОС | Максимальная температура кратковременного режима работы, ОС |
| Медь-копелевая | –– | – 200 ÷ +100 | –– |
| Медь-медноникелевая | T | – 200 ÷ +400 | –– |
| Железо-медноникелевая | J | – 200 ÷ +700 | |
| Хромель-копелевая | (XK) | – 50 ÷ +600 | |
| Никельхром-медноникелевая | E | – 100 ÷ +700 | |
| Никельхром-никельалюминиевая (хромель-алюмелевая) | K (XA) | – 200 ÷ +1000 | |
| Платинородий (10%) - платиновая | S (ПП) | 0 ÷ +1300 | |
| Платинородий (30%) - Платинородиевая (6%) | B (ПР) | 300 ÷ 1600 | |
| Вольфрамрений (5%) - вольфрамрениевая (20%) | (ВР) | 0 ÷ 2200 |
Удлиняющие термоэлектродные провода.
Свободные концы термоэлектрического термометра должны иметь температуру 0ОС. Или их температура должна быть постоянной, чтобы можно было ввести поправку на температуру свободных концов. Если расположить свободные концы в головке термоэлектрического термометра, то невозможно обеспечить постоянство температуры свободных концов, так как температура головки термоэлектрического термометра, расположенного на технологической установке. Зависит от режима работы установки, температуры окружающего воздуха и других факторов. В связи с этим возникает необходимость удлиннить термоэлектрический термометр, не искажая его термо-ЭДС, чтобы отвести свободные концы в такое место, где будет удобно их термостатировать или поставить устройство для автоматического введения поправки. Так как температуры головки термометра и мест прокладки проводов значительно ниже измеряемых, то это удлиннение термометра должно осуществляться не обязательно теми же материалами, которые идут на изготовление термоэлектродов. Однако, эти удлинняющие провода должны обладать определенными свойствами, чтобы исключить возникновение паразитной термо-ЭДС. В частности, если удлинняющие провода c и d развивают ту же термо-ЭДС, что и термоэлектроды a и b: Ecd (t1,t2) = Eab (t1,t2), то включение таких проводов в цепь термометра не исказит его термо-ЭДС.
3.3. Компенсационный метод измерения термо-ЭДС.
![]() |
Компенсационный метод измерения основан на уравновешивании измеряемой ЭДС падением напряжения, значение которого может быть определено. Компенсация может производиться как вручную, так и автоматически.
Основное достоинство компенсационного метода – отсутствие в момент измерения тока в цепи, а значит и отсутствие погрешностей, связанных с сопротивлением соединительных проводов, результаты измерения не зависят от сопротивления цепи термоэлектрического термометра.
Существуют измерительные схемы потенциометра с постоянной силой рабочего тока. Их преимущества: 1) независимость показаний от изменения сопротивления внешней цепи (преимущество компенсационного метода); 2) повышение точности измерительной установки за счет повышения точности установки тока I.
4. Пирометры.
4.1. Принцип работы.
Общие сведения.
Все рассмотренные выше термометры (расширения, сопротивления, термоэлектрические) предусматривают непосредственный контакт между чувствительным элементом термометра и измеряемым телом или средой, т.е. являются контактными. Верхний предел измерения контактных методов 2200ОС. При необходимости измерения более высоких температур или когда недопустим непосредственный контакт термометра с измеряемой средой, применяются бесконтактные средства измерения температуры, которые измеряют температуру тела или среды непосредственно по тепловому излучению. Такие средства измерения называются пирометрами. Бесконтактные методы измерения теоретически не имеют верхнего предела измерения. Серийно выпускаемые пирометры применяются для измерения температур от +20 до +6000ОС.
Если для каких-либо условий могут быть использованы и контактные, и бесконтактные методы измерения, то предпочтение следует отдавать контактным как более точным.
Основы теории измерения температуры тел по излучению.
Все тела излучают электромагнитные волны различной длины λ или частоты ν. Электромагнитное излучение, возбуждаемое тепловым движением молекул, называют тепловым излучением. Это излучение имеет место при температурах до 4000ОС как результат колебательного или вращательного движения молекул, а при более высоких температурах излучение вызывается в основном процессами диссоциации и ионизации.
Поток излучения, падающего извне на поверхность тела, разделяется на три части: отраженный поток, пропущенный поток и поглощенный поток. Энергия поглощенного потока превращается в тепловую и нагревает тело. Процессы поглощения и излучения взаимообратимы. Соответственно определяются три коэффициента:
– отражения ρ = ФОТР / Ф0;
– поглощения α = ФПОГЛ / Ф0;
– пропускания τ = ФПРОП / Ф0.
Для монохроматического излучения с длиной волны λ эти коэффициенты называют соответственно спектральными коэффициентами отражения, поглощения и пропускания. Они зависят от материала тела, способа обработки, состояния поверхности, температуры и ряда других факторов. Между ними существуют соотношения:
ρ + α + τ = 1; ρλ + αλ + τλ = 1.
Тело, поглощающее все падающее на него излучение, называется абсолютно черным телом. Серым телом называют тело, коэффициент поглощения которого не равен 1, но не зависит от длины волны и температуры.
По закону Кирхгофа, отношение спектральной энергетической яркости любого источника теплового излучения BλT к его спектральному коэффициенту поглощения αλT равно спектральной энергетической яркости абсолютно черного тела B0λT при одной и той же длине волны λ и температуре Т:
BλT / αλT = B0λT.
Энергетическая яркость тела BT при температуре Т может быть определена по спектральной энергетической яркости при интегрировании по всему диапазону длин волн:
BT =
BλT dλ.
Существует ряд формул, выражающих зависимость между энергетической яркостью, длиной волны и температурой:
B0λT =
– закон Планка
B0λT =
при λТ < 2´10-3 мК – формула Вина
B0λT =
при λТ > 0,2 мК – формула Релея – Джинса
Суммарная энергетическая яркость абсолютно черного тела
B0Т =
B0λT dλ =
, где
С1 = 3,7415 ´ 10-16 Вт´м2 – первая постоянная излучения;
С2 =1,43879 ´ 10-2 м´К – вторая постоянная излучения;
s = 5,6697´10-8 Вт/(м2´К4) – постоянная Стефана-Больцмана.
Таким образом, существует однозначная зависимость между излучением тела и его температурой, позволяющая определять температуру по излучению. С ростом температуры мощность излучения увеличивается, и максимум спектральной мощности смешается в сторону все более малых длин волн.
Методы измерения температуры тел по излучению.
Различают пирометры квазимонохроматические, полного (частичного) излучения и спектрального отношения.
Пирометр, действие которого основано на использовании зависимости спектральной энергетической яркости от температуры, описываемое формулой Планка для фиксированной длины волны, называется квазимонохроматическим.
Если взять отношение спектральных энергетических яркостей при двух длинах волн λ1 = const и λ2 = const, то можно заметить, что это отношение будет изменяться с изменением температуры. Это изменение вызвано тем, что с изменением температуры изменяется соотношение спектральных энергетических яркостей для двух фиксированных длин волн. Пирометр, действие которого основано на использовании зависимости от температуры тела отношения спектральной энергетической яркости для двух или более фиксированных длин волн, называется пирометром спектрального отношения.
Если проинтегрировать спектральную энергетическую яркость при Т = const по длинам волн от 0 до ∞, то получим значение энергетической яркости, которое будет расти с ростом температуры. Пирометр, действие которого основано на использовании зависимости от температуры интегральной энергетической яркости излучения, описываемой для абсолютно черного тела законом Стефана-Больцмана, называется пирометром полного излучения.
На практике трудно осуществить такой приемник излучения, который поглощал бы излучение всех дин волн в интервале от 0 до ∞. В связи с этим часто применяются пирометры с приемниками, воспринимающими излучение в интервале длин волн от λ1 до λ2. Пирометр, действие которого основано на зависимости от температуры энергетической яркости излучения в ограниченном интервале длин волн, называется пирометром частичного излучения.
В связи с тем, что излучательные способности реальных тел очень разнообразны и зависят от температуры, длины волны и состояния поверхности тел, производить градуировку пирометров излучения по реальным телам не представляется возможным. Поэтому практически все пирометры излучения градуируются по черному излучателю, излучательные свойства которого близки к свойствам абсолютно черного тела. При измерении температуры реальных тел пирометры, отградуированные по черному излучателю, показывают условную псевдотемпературу:
– яркостную Тя для квазимонохроматических пирометров;
– цветовую Тц для пирометров спектрального отношения;
– радиационную Тр для пирометров полного излучения.
Яркостной температурой реального тела называется такая температура абсолютно черного тела Тя, при которой спектральные энергетические яркости абсолютно черного тела B0λTЯ при температуре Тя и реального тела BλT при температуре Т равны: B0λTЯ = BλT = ελТ B0λT.
Формула связи реальной температуры тела Т с яркостной температурой Тя:
Т =
, где
, ελТ – коэффициент теплового излучения.
Цветовой температурой тела Тц называется такая температура абсолютно черного тела, при которой отношение спектральных энергетических яркостей абсолютно черного тела при длинах волн λ1 и λ2 равно отношению спектральных яркостей при тех же длинах волн реального тела с температурой Т.

Радиационной температурой тела Тр называется такая температура абсолютно черного тела, при которой интегральные энергетические яркости абсолютно черного тела и реального тела при температуре Т равны.
, где εТ – интегральный коэффициент теплового излучения.
Все псевдотемпературы занижены по сравнению с действительной температурой. Наименьшая погрешность – для пирометров спектрального отношения (Тц), наибольшая – для пирометров полного излучения (Тр).
Отличие псевдотемпературы от действительной тем больше, чем больше отличаются излучательные способности реального тела от излучательных способностей абсолютно черного тела и чем выше измеряемая температура.
Длина волны, при которой работают большинство монохроматических пирометров, λ = 0,65 мкм.
Таблица. Монохроматический коэффициент черноты некоторых тел ελТ
при λ = 0,65 мкм.
| Материал | Коэффициент черноты для поверхности | |
| неокисленной | окисленной | |
| Сталь углеродистая твердая | 0,45 | 0,80 |
| Сталь углеродистая жидкая | 0,37 | –– |
| Железо твердое | 0,32–0,43 | 0,50–0,95 |
| Железо жидкое | 0,41–0,50 | 0,55–0,95 |
| Медь твердая | 0,11–0,20 | 0,20–0,35 |
| Медь жидкая | 0,12–0,19 | –– |
| Вольфрам | 0,43 | –– |
| Графит | 0,80–0,96 | –– |
| Фарфор | 0,26–0,50 | –– |
| Шлаки жидкие | 0,75–0,95 | –– |
Устройство пирометров излучения.
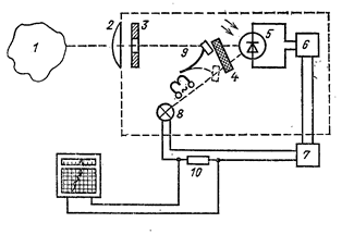
Квазимонохроматический пирометр с исчезающей нитью.

Принципиальная схема квазимонохроматического пирометра.
1 – объект измерения;
2 – объектив;
3 – плоскость регистрации;
4 – пирометрическая лампа;
5 – окуляр;
6 – наблюдатель;
7 – красный светофильтр;
8 – поглощающее стекло;
9 – реостат;
10 – источник питания;
11 – амперметр, отградуированный в значениях яркостной температуры.
Процесс измерения сводится к изменению накала нити пирометрической лампы, а значит, и ее яркости, до тех пор, пока глаз наблюдателя не перестанет различать нить пирометрической лампы на фоне объекта измерения. В этот момент производят отсчет значения температуры, т.к. спектральная энергетическая яркость реального тела (объекта измерения) и спектральная энергетическая яркость нити пирометрической лампы равны.

Принципиальная схема квазимонохроматического фотоэлектрического пирометра.

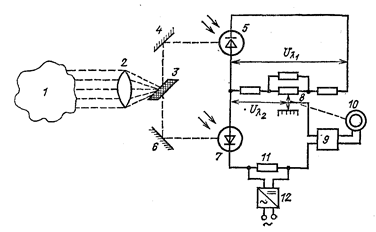
Принципиальная схема пирометра спектрального отношения.

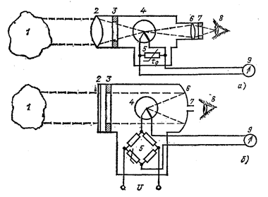
Принципиальная схема пирометров полного излучения
А) рефракторного Б) рефлекторного
Лекция 8.
Измерение давления. Давление и единицы измерения давления. Классификация манометров. (2 час)
Понятие давления. Единицы измерения давления. Виды давления (атмосферное, абсолютное, избыточное, вакуумметрическое). Тяга и напор. Классификация средств измерения давления по назначению (барометры, манометры избыточного давления, вакуумметры, манометры абсолютного давления, дифференциальные манометры) и по принципу действия (жидкостные, деформационные, грузопоршневые, электрические, ионизационные, тепловые).
Лекция 9.
Измерение давления. Характеристика отдельных типов манометров. (4 ч)
Деформационные манометры. Пружинные манометры и мановакуметры. Мембранные тягометры и напорометры. Грузопоршневые манометры. Электрические манометры. Источники погрешности при измерении давления и разряжения и способы их устранения. Проверка приборов для измерения давления и правила их установки.
1. Общие сведения.
Давление относится к числу распространенных измеряемых физических величин. Контроль за протеканием большинства технологических процессов в тепловой и атомной энергетике, металлургии, химии связан с измерением давления или разности давлений газовых и жидких сред.
Давление является широким понятием, характеризующим нормально распределенную силу, действующую со стороны одного тела на единицу поверхности другого. Если действующая среда – жидкость или газ, то давление, характеризуя внутреннюю энергию среды, является одним из основных параметров состояния. Единицей измерения давления в системе СИ является паскаль (Па), который равен давлению, создаваемому силой в 1 ньютон, действующей на площадь в 1 м2: 1Па = 1н / 1м2.
Таблица. Единицы измерения давления и соотношение между ними.
| Единица | Па | Бар | кгс/см2 | кгс/м2 (мм вод.ст.) | мм рт. ст. |
| 1 Па = | 10–5 | 1,0197▪10–5 | 0,10197 | 7,5006▪10–3 | |
| 1 Бар = | 105 | 1,0197 | 1,0197▪104 | 750,06 | |
| 1 кгс/см2 = | 9,8066▪104 | 0,98066 | 104 | 735,56 | |
| 1 кгс/м2 = (мм вод.ст.) | 9,8066 | 0,98066▪10–4 | 10–4 | 7,3556▪10-2 | |
| 1 мм рт.ст. = | 133,32 | 1,3332▪10–3 | 1,3595▪10–3 | 13,595 |
2. Классификация давлений и манометров.
Различают следующие виды давления:
– барометрическое (атмосферное) рат;
– абсолютное (полное) давление ра = р + рат;
– избыточное давление (сверх атмосферного) р;
– вакуумметрическое давление (вводится при измерении давления ниже атмосферного) рв = рат – ра
Средства измерения предназначены для измерения давления и разности давлений. Общее название – манометры.
Классификация манометров по назначению:
– барометры,
– манометры избыточного давления,
– вакуумметры,
– манометры абсолютного давления.
Манометры, предназначенные для измерения давления или разрежения в диапазоне до 40 кПа, называются напоромерами и тягомерами.
Дифференциальные манометры применяются для измерения разности давлений.
Классификация манометров по принципу действия:
– жидкостные,
– деформационные,
– грузопоршневые,
– электрические,
– ионизационные,
– тепловые.
3. Характеристика отдельных типов манометров.
3.1. Жидкостные манометры и дифманометры.
Принцип действия. В жидкостных манометрах измеряемое давление или разность давлений уравновешивается давлением столба жидкости. В приборах используется принцип сообщающихся сосудов, в которых уровни рабочей жидкости совпадают при равенстве давлений над ними, а при неравенстве занимают такое положение, когда избыточное давление в одном из сосудов уравновешивается гидростатическим давлением избыточного столба жидкости в другом. Большинство жидкостных манометров имеют видимый уровень рабочей жидкости, по которому производится непосредственное снятие показаний. Эти приборы используются в лабораторной практике и при проведении промышленных испытаний. Существует группа жидкостных дифманометров. В них уровень рабочей жидкости непосредственно не наблюдается. Изменение последнего вызывает перемещения поплавка или изменение характеристик другого устройства, обеспечивающих либо непосредственное показание измеряемой величины, с помощью отсчетного устройства, либо преобразование и передачу ее значения на расстояние. Рассмотрим разновидности жидкостных манометров.
Схема двухтрубного манометра
.
Двухтрубные жидкостные манометры. Для измерения давления и разности давлений используют двухтрубные манометры и дифманометры с видимым уровнем, часто называемыми U-образными. Принципиальная схема такого манометра представлена на рис. Две вертикальные сообщающиеся стеклянные трубки 1, 2 закреплены на металлическом или деревянном основании 3, к которому прикреплена шкальная пластинка 4. Трубки заполняются рабочей жидкостью до нулевой отметки. В трубку / подается измеряемое давление, трубка 2 сообщается с атмосферой. При измерении разности давлений к обеим трубкам подводятся измеряемые давления.
Столб жидкости высотой h уравновешивает разность давлений
р1 – р2 = ρgh; h = (p1 – p2) / (ρg), где ρ – плотность рабочей жидкости, кг/м3; g – местное ускорение свободного падения, м/с2.
В качестве рабочей жидкости используются вода, ртуть, спирт, трансформаторное масло. Таким образом, в жидкостных манометрах функции чувствительного элемента, воспринимающего изменения измеряемой величины, выполняет рабочая жидкость. Выходной величиной является разность уровней, входной – давление или разность давлений. В соответствии с формулами, крутизна статической характеристики зависит от плотности рабочей жидкости. С увеличением плотности чувствительность (коэффициент передачи) снижается, поскольку S = ΔН/Δр = 1/(ρg)
Если плотность среды над рабочей жидкостью соизмерима с плотностью последней, то выражение видоизменяется: р1 – р2 = (ρ1 – ρ2) gh = g (ρ1 – ρ2) (h1 + h2), где ρ1, ρ2 – соответственно плотности рабочей жидкости и среды над ней.
Высота столба h определяется как сумма высот h1 и h2. Удвоение высоты h1 либо h2 недопустимо, так как из-за непостоянства внутреннего сечения стеклянных трубок 1, 2 высоты h1 и h2 могут различаться. Для исключения влияния капиллярных сил в манометрах используются стеклянные трубки с внутренним диаметром 8 – 10 мм. Если рабочей жидкостью служит спирт, то внутренний диаметр трубок может быть снижен.
Двухтрубные манометры с водяным заполнением используются для измерения давления, разрежения, разности давлений воздуха и неагрессивных газов в диапазоне до ±10 кПа. При заполнении манометра ртутью пределы измерения расширяются до 0,1 МПа, при этом измеряемой средой могут быть вода, неагрессивные жидкости и газы.
При использовании жидкостных манометров для измерения разности давлений сред, находящихся под статическим давлением до 5 МПа, в конструкцию приборов вводятся дополнительные элементы, предназначенные для защиты прибора от одностороннего статического давления и проверки начального положения уровня рабочей жидкости.
Погрешности и способы их устранения. Согласно выражению, источниками погрешностей двухтрубных манометров являются отклонения от расчетных значений местного ускорения свободного падения, плотностей рабочей жидкости и среды над ней, ошибки в считывании высот h1 и h2.
Местное ускорение свободного падения рассчитывается по формуле
g = gH (1 – 0,0026 cos (2Δφ) – 2 · 10–7H),
где gH – нормальное ускорение свободного падения, равное 9,80665 м/с2; Δφ – отклонение географической широты от широты 45°, соответствующе нормальному ускорению свободно падения; Н – высота над уровнем моря, м.
Плотности рабочей жидкости и среды даются в таблицах теплофизических свойств веществ в зависимости от температуры и давления. Погрешности считывания разности высот уровней рабочей жидкости зависит от цены деления шкалы. Без дополнительных оптических устройств при цене деле 1 мм погрешность считывания разности уровней составляет ±2 мм с учетом погрешности нанесения шкалы. При использовании дополнительных устройств для повышения точности считывания h1, h2 необходимо учитывать расхождение температурных коэффициентов расширения шкалы, стекла и рабочего вещества. Разность высот уровней приводят к 0°С с использованием формулы: h0 = ht (1–(β–α)t), где β – коэффициент видимого расширения рабочего вещества в стекле, у ртути β = 0,00018 1/°С; α – температурный коэффициент линейного расширения материала шкалы, для латуни α = 0,000019 1/°С.
Однотрубные манометры. Для повышения точности отсчета разности высот уровней используются однотрубные (чашечные) манометры (рис.). У однотрубного манометра одна трубка заменена широким сосудом, в который подается большее из измеряемых давлений. Трубка, прикрепленная к шкальной пластинке, является измерительной и сообщается с атмосферой, при измерении разности давлений к ней подводится меньшее из давлений. Рабочая жидкость заливается в манометр до нулевой отметки.
Под действием давления часть рабочей жидкости из широкого сосуда перетекает в измерительную трубку. Поскольку объем жидкости, вытесненной из широкого сосуда, равен объему жидкости, поступившей в измерительную трубку, h1F = h2f, h1 = h2 f/F, где f, F — площади поперечного сечения измерительной трубки и широкого сосуда.
При f<<F имеем h1 << h2. Если F/f ≥ 400, то изменением уровня в широком сосуде пренебрегают и при измерении учитывается только изменение уровня в измерительной трубке. Если для повышения точности измерения необходимо учесть это изменение, то шкала градуируется в единицах давления в соответствии с уравнением: р1 – р2 = ρ g (h1 + h2) = ρ g h2 (1+f/F).
Измерение в однотрубных манометрах высоты одного столба рабочей жидкости приводит к снижению погрешности считывания, которая с учетом погрешности градуировки шкалы не превышает ±1 мм при цене деления 1 мм.
Другие составляющие погрешности, обусловленные отклонениями от расчетного значения ускорения свободного падения, плотности рабочей жидкости и среды над нею, температурными расширениями элементов прибора, являются общими для всех жидкостных манометров и рассчитываются по методике, рассмотренной выше.
Схема однотрубного манометра
Схема микроманометра ММН.
У двухтрубных и однотрубных манометров основной погрешностью является погрешность считывания разности уровней. При одной и той же абсолютной погрешности приведенная погрешность измерения давления снижается при увеличении пределов измерения манометров. Минимальный диапазон измерения однотрубных манометров с водяным заполнением составляет 1,0 кПа (160 мм вод. ст.), при этом приведенная погрешность измерения не превышает ±1 %• Конструктивное выполнение манометров зависит от статического давления, на которое они рассчитаны.
Микроманометры. Для измерения давления и разности давлений до 3 кПа (300 кгс/м2) используются микроманометры, которые являются разновидностью однотрубных манометров и снабжены специальными приспособлениями либо для уменьшения цены деления шкалы, либо для повышения точности считывания высоты уровня за счет использования оптических или других устройств. Наиболее распространенными лабораторными микроманометрами являются микроманометры типа ММН с наклонной измерительной трубкой (рис. И.З). Показания микроманометра определяются по длине столбика рабочей жидкости n в измерительной трубке 1, имеющей угол наклона α. Исходя из равенства объемов рабочей жидкости, вытесненной из широкого сосуда 2 в измерительную трубку 1, получаем
h1 F = nf, h1 = n f/F,







