Быстродействующий автоматический выключатель (БВ) служит для отключения (защиты) силовых цепей тяговых двигателей, вспомогательных машин и отопления при коротких замыканиях в них. Кроме того, БВ используют для отключения силовых цепей при перегрузке тяговых двигателей, чрезмерном повышении или понижении напряжения в контактной сети, неполных коротких замыканиях в силовых цепях тяговых двигателей и вспомогательных машин, сильном боксовании одной из колесных пар, перегрузке в цепи отопления вагонов состава.
На электровозе ЧС2 установлен быстродействующий выключатель 12НС с пневматическим приводом. Он имеет несущую раму, автоматически контактное отключающее и

Рис. Быстродействующий выключатель 12НС и его габаритные размеры
дугогасительное устройство, пневматический привод,
вспомогательные (блокировочные) контакты. По отношению к кузову («земли») токонесущие части высокого напряжения выключателя имеют двойную изоляцию, состоящую из четырех фарфоровых изоляторов 1 (см. рис. 157) и гетииаксовых изоляционных стенок 2. Вместе со стальной сварной рамой выключателя эти стенки образуют каркас для крепления всех остальных частей выключателя.
|
|
|
Контактное устройство состоит из неподвижного главного контакта 30, выполненного из медной шины толщиной 16 мм, к которой тремя винтами прикреплен медный контакт, и подвижного главного медного контакта 10; последний может поворачиваться вокруг оси 6 и находиться под действием отключающей пружины, стремящейся разомкнуть контакты 10 и 30, т. е. отключить БВ.
Для включения аппарата необходимо переместить текстолитовую тягу 31 в направлении неподвижного контакта 30 (вправо по рис. 157 и влево по рис. 158 и 159). При этом зубчатая тяга (защелка) 7 захватывается храповиком 8, сцепленным с подвижным контактом 10, и последний передвигается в сторону неподвижного контакта, т. е. главные контакты замыкаются.
Пружины 28, регулируемые винтом 29, устанавливают необходимое нажатие между главными контакта-

Рис. Быстродействующий выключатель 12НС

Рис. Схема включающего и отключающего механизмов выключателя 12НС
ми. В отключенном состоянии подвижной контакт 10 удерживается пружиной 73.
С подвижным контактом связаны четыре пары подвижных блокировочных контактов, помещенных в корпусе 34. Две пары контактов замыкают цепи при включенном БВ и две пары размыкают.
Автоматическое отключающее устройство состоит из катушки 37, выполненной из 13Д витка шинной меди сечением 16X70 мм2, якоря 35, магнитопровода 36 и расцепляющего механизма. Концы катушки 37 с одной стороны соединены с выводной шиной 5, а с другой —с дугогасительными катушками 11. На якорь 35 постоянно нажимает пружина 40, стремящаяся отвести его от сердечника 41 электромагнита. Воздушный зазор между якорем 35 и сердечником устанавливают винтом 43. Величиной этого зазора определяется ток катушки 37, при котором якорь, преодолевая нажатие пружины 40, притягивается к сердечнику. Значения тока уставки определяются положением якоря, который рычагом 42 связан со стрелкой 4. Положение стрелки 4 шкалы 3 указывает ток уставки.
|
|
|
По катушке 37 проходит ток силовой цепи электровоза. Когда величина этого тока превысит ток уставки БВ, якорь 35 поднимется вверх, регулировочный винт 43 вытолкнет зубчатую тягу (защелку) 7 из зацепления с храповиком 8. Подвижной контакт 10 под действием отключающей пружины 72 практически мгновенно (через 0,006 с) отойдет от неподвижного контакта 30.
БВ включается пневматическим приводом (рис. 160). Привод состоит из чугунного цилиндра 66 с внутренним диаметром 90 мм, закрытого снизу крышкой 52, имеющей канал для подвода и отвода сжатого воздуха. В цилиндре помещен поршень 54 с канавкой,

Рис. Пневматический привод быстродействующего выключателя 12НС
в которую заложено уплотняющее резиновое кольцо 53. На поршень через шайбу 55 постоянно давит пружина 57, стремящаяся возвратить поршень в нижнее положение. В нижней части поршня укреплен валик 51, соединяющий поршень со штоком 33.
Пружина 56, витки которой расположены вокруг валика 51, упирается своим нижним концом о дно поршня, верхним концом нажимает на шток 33 и стремится прижать его к ролику 58, ось этого ролика прикреплена к цилиндру 66.
Над цилиндром 66 расположен двуплечий рычаг 32, на нижнем плече которого укреплен ролик 60, а верхнее плечо через шарнир и изоляционную (текстолитовую) тягу 31 при повороте рычага по часовой стрелке перемещает подвижной контакт к неподвижному.
В выключателе имеется механизм, состоящий из тяги 59, рычага 61, свободно посаженного на ось 62, тяги 63, соединенной с плунжером электромагнита 64. При возбуждении этого электромагнита шток 33 поворачивается по часовой стрелке и верхней частью прижимается к ролику 60 рычага 32.
К поршню 54 прикреплен кронштейн 70, в который ввернут болт 69, управляющий включением и выключением блокировочных контактов, расположенных в корпусе 67.
Впуск и выпуск сжатого воздуха в рабочую полость цилиндра привода производят электромагнитным вентилем 65 типа 8VZ.
При возбуждении катушки вентиля 65 сжатый воздух поступает под поршень 54 и, преодолевая усилие пружины 57, поднимает его вместе со штоком 33. Так как одновременно с возбуждением катушки вентиля возбуждается удерживающий электромагнит 64— катушка его постоянно включена параллельно катушке вентиля, то шток 33 прижимается к ролику 60 и своим выступом В поворачивает рычаг 32 по часовой стрелке, т. е. производит включение БВ.
Нормально поршень 54 имеет ход 38 мм. При перемещении поршня вверх болт 69 нажимает на штифт 68, с которым связаны четыре пары подвижных блокировочных контактов БВ. При отключении катушек электромагнита 64 и вентиля 65 шток 33 поворачивается против часовой стрелки и дает возможность под действием отключающих пружин 72 (см. рис. 159) отойти подвижному контакту от неподвижного, так как рычаг 32 при этом может свободно поворачиваться против часовой стрелки. По мере выхода воздуха из цилиндра 66 поршень 54 вместе со штоком 33 под действием пружины 57 и собственного веса опускается вниз. Сделано это для того, чтобы- время отключения БВ не было связано со временем выхода сжатого воздуха из цилиндра через каналы и электромагнитный вентиль 65. Пневматический механизм установлен на двух консолях между изоляционными стенками 2. При отключении БВ между его главными контактами появляется дуга / (рис. 161). Для ускорения процесса гашения дуги применено магнитное ее выдувание. Магнитное поле создается двумя параллельно включенными дугогасительными катушками 11, имеющими по пять медных витков (сечением 50 X Х10 мм2). Катушки с одной стороны через катушку 37 электромагнита соединены с внешней цепью (токоприемником), а с другой (внешними витками) с помощью гибких шунтов 44 —с подвижным контактом 10. По этим катушкам проходит весь ток силовой цепи электровоза и образованный им магнитный поток замы- кается по магнитопроводу 9 (см. рис. 158), башмакам 13, воздушному зазору между боковыми стенками 14 и самим стенкам дугогаси-тельной камеры. Башмаки выполнены из листов электротехнической стали, расположенных в виде веера. Под действием магнитного поля катушек // дуга уд линяется и перекидывается на рога 21 и 45 (на рис. 161 эта стадия гашения дуги изображена линией //) и начинает двигаться по ним вверх.
|
|
|
Рог 21 соединен с неподвижным, а рог 45 — с подвижным контактами. После того как дуга растянется настолько, что она перекинется с нижней части рогов 21 и 45 на верхние изолированные от первых прямолинейные части — шины 25 и 46 (стадия ///), ток начнет проходить по дополнительным дугогасительным катушкам 26 и 47, которые имеют по два витка. Образованный указанными катушками магнитный поток, замыкаясь через сердечник 27 (см. рис. 157 и 158), стальные накладки 12, воздушный зазор между стенками камеры и сами стенки, создает дополнительную силу, способствующую перемещению дуги вверх. При этом дуга встречает в дугогасительной камере дополнительные малые рога 19 и48, соединенные между собой дугогасительной катушкой 16, внутри которой помещен сердечник 15 из электротехнической стали, а снаружи боковых стенок камеры расположены стальные накладки 17.
Малые рога укреплены в дугогасительной камере с помощью непроводящего ток стержня 18. При прохождении тока через катушку 16 (стадия IV) этой катушкой также создается магнитный поток, выдувающий дугу вверх и растягивающий ее (см. рис. 161). Когда дуга достигнет длины, при которой внешнее напряжение уже не может ее поддержать, она разрывается.
|
|
|
Дугогасительная камера состоит из боковых асбоцементных стенок 14, скрепленных между собой болтами 24. По краям камеры между стенками помещены асбоцементные бруски 23. Для уменьшения выхлопа пламени и ионизированных газов из дугогасительной камеры в верхней ее части установлена деионная решетка, состоящая из отдельных элементов 22.
При движении дуги вверх она охлаждается боковыми стенками, а также дополнительными вертикальными перегородками 39, расчленяющими ее на параллельные дуги, что также способствует ее лучшему охлаждению. Перегородки скреплены прокладками 20. Бруски 74, на которые помещены рога, изготовлены из микоплакса (спрессованный порошок слюды со связующим). Дугогасительная камера помещается между башмаками 13 так, что они соприкасаются со стенками 14 этой камеры. Дополнительным креплением камеры служат пружинящие пластины 38.
Многожильный кабель управления 49 присоединен к БВ с помощью многоконтактного штепсельного соединения 50.
Сжатый воздух к пневматическому механизму подведен резиновым шлангом 71, присоединенным к трубопроводу через кран 955.
| Основные технические данные быстродействующего выключателя 12НС | 3000 В | |
| 2000 А | ||
| Пределы регулировки при автоматическом выклю- | 2000—3000 А 2500±5°/о 60 кгс+5% 26 мм±10%> | |
| Ток уставки иа электровозе ЧС2... Нажатие главных контактов.... | ||
| Натяжение отключающей пружины.. | ||
| Номинальное напряжение катушек электромагнитного вентиля, удерживающей катушки электромагнита и блокировочных контактов..... Число витков катушки удерживающего электро- | 48 В 2350 | |
| 0 0,8 мм 12,5 35 кгс/см2 282 кг | ||
| 72» | ||
| 20» |
Главный выключатель ВОВ-25А-10/ 400УХЛ1 (ВОВ-25-4МУХЛ1) и ВОВ-25А-10/630ХЛ1. Эти выключатели унифицированы для всех отечественных электровозов и моторных вагонов электропоездов переменного тока. Силуминовым корпусом / главный выключатель укреплен в специальном люке на крыше локомотива. Между корпусом и установочной площадкой в паз закладывают резиновый шнур 2. К внешней стороне (к одной из стенок и сверху) корпуса прикреплены: патрубком 4 воздушный резервуар 6 вместимостью 32 л: воздухопроводный опорный фарфоровый изолятор 7 с фарфоровым изолятором 8, дугогасительной камерой, неподвижным контактом 10 и латунным фланцем 9 — выводом выключателя для подключения к высоковольтной цепи; фарфоровый поворотный изолятор 14 с разъединителем 12 и выводом 13; заземляющий кронштейн 11 для заземления ножей разъединителя 12 в отключенном положении контактов 20, 21 и снятия емкостного заряда с обмотки тягового трансформатора. Конденсат из резервуара 6 отводится через трубку 5. Подвод сжатого воздуха производится через штуцер 3. В полом фарфоровом изоляторе 8 дугогасительной камеры размещены неподвижный 20 (рис. 198, а) и подвижной 21 контакты.
Подвижной контакт 21 соединен штоком 28 с поршнем 27. Для уменьшения обгорания медного наконечника подвижного контакта 21 на его торец припаян стержень из тугоплавкого материала, который выступает над торцовой поверхностью на 5—8 мм. Шток перемещается в латунной трубке 23, которая с одной стороны припаяна к цилиндру 24, а с другой оканчивается гибкими ла-мелями 22. В цилиндр 24 помещены поршень 27 и пружина 26, которая создает контактное нажатие около 450 Н при вжиме контакта 21 на 8 мм путем ввинчивания патрубка 19. Для смягчения удара поршня 27 при его перемещении в крайнее правое положение предусмотрен демпфер 25, набранный из резиновых и стальных шайб.
Неподвижный контакт 20 внутри имеет сопло и патрубком 19 соединен с фланцем 9, к которому подключается ошиновка. В патрубок 19 встроен стальной дуго-приемный ограничитель — электрод 15 с тугоплавким наконечником К фланцу 9 болтами прикреплена головка (колпак) 17 с отверстиями 16 и выхлопным клапаном 18, предохраняющим детали, расположенные внутри дугогасительной камеры, от атмосферных осадков.

Рис. Главный выключатель ВОВ-25-4МУХЛ1
В корпусе / смонтированы механизмы управления выключателем: блок 46 главного привода и клапана; клапаны отключения 33 и включения 45, включающий электромагнит 43, отключающий электромагнит удерживающего типа; отключающий электромагнит переменного тока 32, контрольно-сигнальный аппарат 36, выключатель минимального давления 29, панели зажимов, промежуточное реле 38, трансформатор тока 39. Механизм выключателя снизу закрыт кожухом. Все контактные поверхности токо-ведущего контура покрыты слоем серебра. На электровозах главный выключатель монтируют в комплекте с проходным изолятором ПНБ-35/400, в который встроен трансформатор тока. Через проходной изолятор, стержень которого является первичной обмоткой этого трансформатора, вводится напряжение 25 кВ на тяговый трансформатор.
Включение главного выключателя начинается с поднятия давления воздуха в резервуаре 6 до 0,56 МПа (5,6 кгс/см2).
Схема рис. 198, б соответствует выключенному положению разъединителя выключателя. При этом замыкаются замыкающие контакты выключателя минимального давления 29 и подготовляется общая цепь управления. Затем возбуждается катушка электромагнита 43 (от источника энергии постоянного тока напряжением 50 В). Сердечник удерживающего электромагнита 44 притягивает якорь и удерживает его от воздействия на отключающий клапан 33. Напряжение кнопкой «Включение ГВ» подается на включающий электромагнит 43 через контакты 42 штепсельных разъемов ШР1. Электромагнит возбуждается, открывает включающий клапан 45, подающий сжатый воздух из резервуара 6 в пневматический привод 46, и закрывает отверстие, через которое воздух выходит в атмосферу. Шток привода поворачивает вал 34 до замыкания ножей 12 с неподвижным контактом 10 дугогасительной камеры и переключает контакты контрольно-сигнального аппарата 36, раз-

Рис. Дугогасительная камера (а) и принципиальная схема (б) главного выключателя ВОВ-25-МУХЛ1.
мыкая цепь питания катушки включающего электромагнита 43 Электромагнит 43 отпускает включающий клапан 45, который открывает выход сжатому воздуху через отверстие А. При этом эксцентрик 37 вместе с валом 34 поворачивается и сжимает (взводит) отключающую пружину 35 удерживающего электромагнита 44. Время включения разъединителя определяется скоростью движения поршня пневматического привода в зависимости от темпа заполнения сжатым воздухом рабочего объема привода и регулируется изменением рабочего зазора между включающим клапаном и якорем включающего электромагнита. Разъединитель отключается, когда
удерживающая катушка электромагнита 44 теряет питание. Это происходит при выключении кнопки «Выключение ГВ», установке главной рукоятки контроллера машиниста в положение БВ (быстрое выключение), установке переключателя режимов в отключенное положение, срабатывании одного из реле защиты, отключении быстродействующего выключателя, размыкании контактов автомата минимального давления 40 при понижении давления сжатого воздуха в резервуаре 6 до 0,46 МПа (4,6 кгс/см2). Выключатель выключается и при подаче рабочего напряжения через контакты 41 разъема ШР2 на отключающий электромагнит переменного тока 32. После срабатывания удерживающего 44 или отключающего 32 электромагнита открывается клапан 33, закрывая отверстие А, и подает сжатый воздух из резервуара в пневматический привод 31 главного клапана 49. Привод 31 открывает главный клапан 49, и сжатый воздух из резервуара 6 через воздуховодный изолятор 7 поступает в дугогасительную камеру, воздействуя на контакты 20 и 21, и в пружи-но-пневматический привод. Контакты размыкаются, возникает электрическая дуга, которая выдувается в сопло неподвижного контакта 20 на ограничитель 15 и затем гасится в интенсивной струе сжатого воздуха.
Для облегчения гашения электрической дуги и снижения коммутационных перенапряжений контакты 20 и 21 шунтированы нелинейным резистором ВНКС-25-МУХЛ1, состоящим из 15 шайб, электрически соединенных друг с другом контактными поверхностями. Шайбы расположены внутри фарфорового изолятора (см. вид Л на рис. 197), сжаты пружиной, залиты эластичным термостойким и морозостойким компаундом для обеспечения неподвижности и электрического контакта.
Одновременно сжатый воздух из резервуара 6 через главный клапан поступает в дополнительный резервуар 48 и пневматический привод 46 разъединителя, который поворачивает вал 34 до замыкания ножей с контактом заземляющего кронштейна // (см. рис. 197 и 198) и переключает контакты аппарата 36, замыкая цепь включающего электромагнита 43. При этом эксцентрик 37 вместе с валом 34 поворачивается и отпускает отключающую пружину электромагнита 44. Клапан отключения закрывается и открывает отверстие, через которое сжатый воздух из пневматического привода главного клапана выходит в атмосферу. Главный клапан закрывается под действием пружины 50. В дугогасительной камере падает давление воздуха и под действием пружины 26 замыкаются подвижной и неподвижный контакты.
Разъединитель должен размыкать электрическую цепь при разомкнутых контактах дугогасительной камеры после того, как на них погаснет электрическая дуга Запаздывание на размыкания контактов разъединителя на 0,03—0,035 с относительно размыкания контактов дугогасительной камеры создается временем заполнения сжатым воздухом дополнительного резервуара 48 и объема пневматического привода разъединителя до достижения рабочего давления, которое регулируют, изменяя размеры впускного отверстия с помощью регулировочного винта 47.
Главный выключатель рассчитан на номинальный ток 400 А, наибольшее рабочее напряжение 29 кВ, имеет собственное время отключения не более 0,06 с в случае воздействия на него промежуточного реле при напряжении в цепи управления 50 В, давлении сжатого воздуха 0,8 МПа (8 кгс/см2) и токе срабатывания, равном 1,3 тока уставки.
На электровозах ЧС4 и ЧС4Т в качестве главного применяют воздушный однополюсный выключатель 2DVV-25А2; его номинальный ток отключения 10 кА, собственное время отключения 0,04 с. Гашение электрической дуги в этом аппарате осуществляется так же, как и в выключателе ВОВ-25-4М.
Быстродействующие контакторы
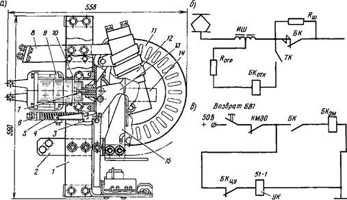
Контакторы БК-78Т и БК-2Б. Эти контакторы установлены на электровозах ВЛ11, В Л 10у и В Л10 для защиты тяговых двигателей от токов к.з. в режиме рекуперации. Узлы контактора БК.-78Т смонтированы на двух текстолитовых планках 1. На верхнем латунном кронштейне 9 укреплены шихтованный магнитопровод включающего механизма, ярмо, отключающая катушка, кронштейн, несущий гибкий провод, подвижной контакт 13 и магнитопровод дутья с дугогасительной катушкой 12. Подвижной контакт 13 тягой 7 соединен с якорем 10. Замыкание подвижного контакта 13 с неподвижным 15 обеспечивается контактной пружиной 5, натянутой между нижним концом контакта 13 и скобой 6. Неподвижный контакт установлен на рифленой поверхности вывода 2 Верхний вывод 8, к которому присоединен наконечник катушки 12, укреплен на текстолитовой планке. В стенки лабиринтно-щелевой дугогасительной камеры 11 из дугогасительного материала КМК-218 впрессованы шихтованные полюсы 14. В камере закреплен рог. Вспомогательные контакты и электромагнит укреплены на кронштейне и через индивидуальные изоляционные рычаги связаны с подвижным контактом 13 и рычагом защелки 4, которые шарнирно закреплены на планке.
При рекуперативном торможении в нормальном положении силовые контакты БК контактора БУ-78Т замкнуты (рис 199, б) под действием пружины 5 (см. рис. 199, а) Размыкание контактов 13 и 15 происходит при возбуждении отключающей катушки БКатк (см. рис. 199, б), которая через ограничивающий резистор Rогр подключена параллельно катушке индуктивного шунта ИШ. При к.з. в режиме рекуперации на зажимах шунта ИШ напряжение повышается, катушка БКотк возбуждается, якорь 10 (см. рис. 199, а) притягивается, подвижной контакт 13 отключается, растягивая контактную пружину 5, при этом рычаг защелки 4 попадает в паз держателя 3 контакта 13 и удерживает его в отключенном положении. Дуга, образующаяся при разрыве контактов 13 и 15, гасится в дугогасительной камере //. В процессе отключения контакт 13 толкает рычаг блока вспомогательных контактов БКау (см. рис. 199, в), которые размыкают цепь удерживающей катушки (УК) быстродействующего выключателя 51-1, и восстанавливается цепь включающего электромагнита БКШ. После перевода главной рукоятки на нулевую позицию замыкаются контакты КМЭ0 и катушка 5/Сэм электромагнита возбуждается, якорь ударяет по изоляционному рычагу, который в свою очередь поднимает вверх рычаг зашелки и, освобождая контактную пружину, замыкает подвижной контакт 13 с неподвижным 15.
Привод контактора БК-2Б имеет удерживающую катушку и витки насыщения, проходящие 4 раза через окна магнито- провода, что делает его неполяризован- ным В отличие от контактора БК-78Т у контактора БК-2Б при рекуперации витки насыщения, дугогасительная ка тушка соединены последовательно с силовыми контактами и включены в цепи обмоток возбуждения тяговых двигателей.

Рис. Быстродействующий контактор БК-78Т (а) и схемы (б, в) его включения
Быстродействующие контакторы КМБ-3. Это двухполюсные контакторы, установлены они на электропоездах ЭР2Р, ЭР2Т, ЭР22В и ЭР22 для защиты си овых цепей при к.з., круговом огне, перебросах на землю в режимах рекуперативного и реостатного торможения. На двух изоляционных стойках / и 2 смонтированы следующие узлы: магнитопровод, имеющий две магнитные цепи, расположенные во взаимно перпендикулярных плоскостях
дугогасительные катушки с одно- щелевыми камерами 3 (см рис. 200, а); дюралюминиевые рычаги 4 с подвижными контактами, четыре блокировочных контакта 13.
Вертикальную магнитную цепь составляют: сварное ярмо 6, рычаг якоря 12, два рабочих воздушных зазора, два шихтованных сердечника 10, шихтованное ярмо 17.
![]() |
Рис. Быстродействующий контактор КМБ-3 (а), его магнитопровод (б) и схема привода (в)
Горизонтальная магнитная цепь состоит из якоря 11, двух сердечников с включающими катушками 7, ярма и магнитного шунта 9, на котором расположена размагничивающая катушка 8. Два полюса контактора разделены асбестоцементной перегородкой (на рис. 200, а она не показана), предотвращающей переброс дуги между неподвижными контактами.
При включении контактора его катушки 7 соединяются параллельно и согласованно (это увеличивает тяговое усилие), так как при включенной кнопке КнЗ (рис. 200, в), возбужденных катушках реле Р/С 31, РК 32 их контакты замкнуты. Магнитные потоки катушек 7 замыкаются по вертикальной цепи и притягивают якорь привода к сердечникам. Рычаг 14 якоря 11, поворачиваясь вокруг своей оси, толкает изоляционный стержень 15 (см. рис. 200, а), подвижные контакты растягивают отключающие пружины 5 и прижимаются к неподвижным. Магнитный зазор б между якорем и шихтованными сердечниками при этом значительно уменьшится, тяговое усилие увеличится. После замыкания силовых контактов для подготовки быстрого отключения катушки 7 блок-контактами переключаются на встречное последовательное соединение и включается добавочный резистор R39. В этом режиме магнитный поток ослаблен и замыкается по горизонтальной магнитной цепи (штриховые стрелки). При коротком замыкании в силовой цепи ток в размагничивающей катушке 8 резко возрастет, а так как ее поток направлен встречно потоку удерживающих катушек, то магнитный поток, ответвляющийся в магнитный шунт, увеличится и резко уменьшится магнитный поток, замыкающийся через якорь. Две мощные отключающие пружины отрывают якорь 11 от магнитопровода и размыкают силовые
контакты. После этого переключатся блокировочные контакты.
Контактор КМБ-3 имеет номинальное напряжение силовой цепи 3000 В, номинальный ток 180 А, нажатие силовых контактов 45 Н (4,5 кгс), собственное время срабатывания 0,003 с при скорости нарастания тока 50 кА/с.
