Технические данные реостатных контроллеров
Тип контроллера...............................................................КСП-1А 1 КС-009
номинальное напряжение силовой цепи, кВ…………….....3 3
Номинальное напряжение цепи управления, В.……… 50 110
Число позиций главного кулачкового вала.......……..18 20
Угол поворота главного кулачкового вала на одну
позицию, град.................................………….……..……. 20 18
Время свободного вращения главного кулачкового
вала при проходе всех позиций при давлении
0,5 МПа (кгс/см2), с ……………………………………. 6—7 7—9
Масса, кг........................................................................88 110.
Общие сведения. Реверсоры, тормозные переключатели, переключатели напряжения и мотор-вентиляторов относятся к групповым контакторам с двухпозиционным приводом, которые производят переключения при отсутствии тока в силовых цепях; поэтому их выполняют без дугогашения. Они имеют, как правило, пневматические приводы. Такой привод состоит из цилиндра 1 (рис. 182, а — г), двух поршней 2 и 7, жестко соединенных зубчатой рейкой 8, рейкой 11 с пальцем 10 или штоком 34. Рейки 8 и 11 через сектор 4, водило 9 или шестерню 12 либо через сухарь 35, поводок 36 поступательное движение поршней превращают во вращательное движение кулачкового вала 13 либо 37 или барабанов 5 с сегментами, к которым прижаты контактные пальцы 6. Пои возбуждении
|
|
|
одного из вентилей 3 поршни переходят в одно из крайних положений. Эти положения сохраняются и при перерывах питания катушек вентилей 3 или отсутствии сжатого воздуха. В приводе (см. рис. 182, в) при повороте вала 13 его шайбы 14 роликами 19 в заданной последовательности давят на рычаги 21, замыкая самоустанавливающиеся подвижные контакты 15, 24 с неподвижными контактами 16, 23. Контакты 15, 24 электрически соединены гибким проводом, который подключен к выводу- 20. Выводы 18, 20 и 22 укреплены на изоляционной планке 17.
Привод по схеме рис. 182, а обычно обеспечивает угол поворота барабана 90—120°, что дает возможность увеличить воздушный зазор между силовыми сегментами; применяют его на тормозных переключателях. Привод с кривошипным механизмом (см. рис. 182, б иг) поворачивает барабан на 30°, а у привода по схеме рис. 182, в угол поворота вала может быть любым и зависит от диаметра шестерни 12 и длины зубчатой рейки. Первым оборудованы реверсоры и переключатели мотор-вентиляторов, а вторым — реверсоры и тормозные переключатели отечественных электровозов.
Пневматические поршневые приводы имеют значительную массу. Кроме того, скорость движения поршня и поворот вала аппарата непостоянны и зависят от состояния кожаных манжет и качества смазки. Эти приводы трудоемки в изготовлении и требуют больших затрат труда при ремонте и эксплуатации в связи с необходимостью разборки для прожировки или замены кожаных манжет. Поэтому в последнее время на электроподвижном составе начали внедрять диафрагменные двухпозиционные приводы (для реверсоров РК-8, тормозных переключателей ТК-8, переключателей мотор-вентиляторов ПШ-5Б, быстродействующих выключателей БВП-ЗА, групповых переключателей ПКГ-6, ПКГ- 4 и других аппаратов).
|
|
|
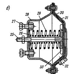
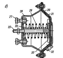
Приводы изготовляют на базе диафрагменных камер одностороннего действия. Основными частями такого привода являются каркас, камеры и передающий механизм (рычаги, вилка, шток и т.д.). Камера (рис. 182, д) состоит из корпуса 28,





крышки 31, между которыми зажата резиновая диафрагма 30. Диафрагма внутренней поверхностью опирается на диск 33, закрепленный на штоке 25. Другой конец штока соединен с валом, барабаном или упором аппарата, например с рычагом кулачкового вала реверсора. Щток вставлен в отверстие корпуса 28 и шайбы 26 с зазором, что позволяет ему несколько отклоняться от центрального положения. Это дает возможность применять диафрагменный привод в аппаратах с качающимся рычагом, например в быстродействующих выключателях Подвод сжатого воздуха от электромаг
нитного вентиля в камеру осуществляется через бобышку 32, приваренную к крышке 31. При поступлении сжатого воздуха диафрагма прогибается и давит на диск, вызывая поворот вала или перемещение якоря (быстродействующий выключатель). Возврат диафрагмы в исходное положение происходит под действием пружины 29. Крепят камеру к каркасу аппарата болтами 27.
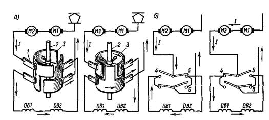
Реверсором называют аппарат, которым осуществляют переключения с целью изменения направления тока в обмотках возбуждения или обмот-

Рис. 183 Принципиальные схемы переключения обмоток главных полюсов тяговых двигателей M1 и М2 реверсорами барабанным (а) и кулачковым (б):
1 — палец, 2 — вал, 3 — сегмент, 4 к 5 — подвижные контакты, 6 — неподвижный контакт
ках якорей тяговых двигателей для перемены направления вращения вала якоря и, следовательно, изменения направления движения локомотива. На электровозах ЧС2, ЧС2Т и ЧС4Т реверсорами также отключают неисправные тяговые двигатели и переключают силовые цепи в аварийный режим.
Реверсор, как правило, включают в цепь обмоток возбуждения тяговых двигателей, так как в этом случае напряжение между его рабочими частями значительно меньше, чем у реверсоров, включенных в цепи обмоток якорей; это позволяет уменьшить габаритные размеры аппарата. На электровозах ВЛ10, ВЛ10у, ЧС2, ЧС2Т, ЧС4Т и др. в целях упрощения схемы силовых цепей реверсоры включены в цепи обмоток якорей.
Реверсоры выполняют барабанного типа с пальцевыми контактами и кулачкового типа с кулачковыми контакторами Реверсоры отечественного производства имеют положения «Вперед» и «Назад», а электровозов ЧС4, ЧС2, ЧС21' — «Вперед», «Нулевое положение» и «Назад».
Контактные сегменты силовой цепи реверсоров смонтированы попарно, и в зависимости от угла поворота вала реверсора пальцы соединяются друг с другом так, что при положении «Вперед» ток / (рис. 183) протекает через обмотки главных полюсов тяговых двигателей в одном направлении, а при положении «Назад» — в другом. Реверсором управляют дистанционно с помощью реверсивной рукоятки контроллера машиниста. В нулевое положение барабаны реверсоров электровозов ЧС2Т, ЧС2, ЧС4Т устанавливают вручную, когда необходимо выключить из силовой цепи неисправный тяговый двигатель.
Реверсоры барабанного типа. В основном они имеют одинаковое конструктивное выполнение. Каждый реверсор состоит из привода, барабана и пальцев 1. Барабан состоит из стального вала 2, сегментодержате- лей и сегментов 3. Конструкция пальцев в основном зависит от силы тока. При больших токах, вызывающих значительное увеличение размеров пальца (ширина более 25 мм), применяют несколько пальцев, включенных параллельно. В реверсорах для токов более 200 А делают более устойчивую конструкцию пальцев с цилиндрической пружиной; все части реверсора крепят на изолированных стальных стержнях.
|
|
|
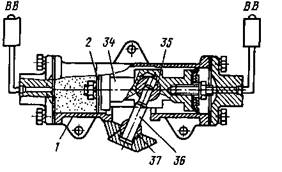
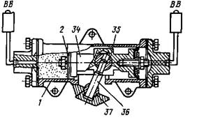
Реверсоры кулачкового типа. На сварной боковине / реверсора РК-8А (рис. 184, а) укреплен двухпозиционный пневматический привод 2, который через рейку и шестерню 4 связан со стальным валом 3. На вал насажены кулачковые шайбы 7. Вал вращается в подшипниках, установленных в боковинах. Подача сжатого воздуха в левую и правую полости цилиндра привода осуществляется электро



Рис Реверсоры а — РК-8 с поршневым приводом по схеме рис 182, в; б — диафраг- менным приводом по схеме рис 182, (3, в — ПР-320А с приводом по схеме, г
магнитными вентилями 5 включающего действия. На планках 6 укреплены кулачковые контакторы без дугогаше- ния. Конструкция контактора позволяет производить быструю его разборку и смену изоляционных планок Вращение кулачкового вала через тягу передается блокировочным сегментам, замыкающим соответствующие контактные пальцы 8. Подобную конструкцию имеют реверсоры электровозов ВЛ8, ВЛ10, ВЛ10У.
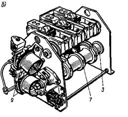
Реверсоры и переключатели ПВ-176 (на электровозах ВЛ80Р, для дистанционного отключения ВИП из коридора кузова) выпускают также с диафрагмен- ным приводом 9 (рис. 184, б). Конструкцию реверсора ПР-320А с каркасом из алюминиевых рам 10 электропоездов ЭР1 и ЭР2 поясняет рис 184, в.
Общие сведения. Реверсоры, тормозные переключатели, переключатели напряжения и мотор-вентиляторов относятся к групповым контакторам с двухпозиционным приводом, которые производят переключения при отсутствии тока в силовых цепях; поэтому их выполняют без дугогашения. Они имеют, как правило, пневматические приводы. Такой привод состоит из цилиндра 1 (рис. 182, а — г), двух поршней 2 и 7, жестко соединенных зубчатой рейкой 8, рейкой 11 с пальцем 10 или штоком 34. Рейки 8 и 11 через сектор 4, водило 9 или шестерню 12 либо через сухарь 35, поводок 36 поступательное движение поршней превращают во вращательное движение кулачкового вала 13 либо 37 или барабанов 5 с сегментами, к которым прижаты контактные пальцы 6. Пои возбуждении
|
|
|
одного из вентилей 3 поршни переходят в одно из крайних положений. Эти положения сохраняются и при перерывах питания катушек вентилей 3 или отсутствии сжатого воздуха. В приводе (см. рис. 182, в) при повороте вала 13 его шайбы 14 роликами 19 в заданной последовательности давят на рычаги 21, замыкая самоустанавливающиеся подвижные контакты 15, 24 с неподвижными контактами 16, 23. Контакты 15, 24 электрически соединены гибким проводом, который подключен к выводу- 20. Выводы 18, 20 и 22 укреплены на изоляционной планке 17.
Привод по схеме рис. 182, а обычно обеспечивает угол поворота барабана 90—120°, что дает возможность увеличить воздушный зазор между силовыми сегментами; применяют его на тормозных переключателях. Привод с кривошипным механизмом (см. рис. 182, б иг) поворачивает барабан на 30°, а у привода по схеме рис. 182, в угол поворота вала может быть любым и зависит от диаметра шестерни 12 и длины зубчатой рейки. Первым оборудованы реверсоры и переключатели мотор-вентиляторов, а вторым — реверсоры и тормозные переключатели отечественных электровозов.
Пневматические поршневые приводы имеют значительную массу. Кроме того, скорость движения поршня и поворот вала аппарата непостоянны и зависят от состояния кожаных манжет и качества смазки. Эти приводы трудоемки в изготовлении и требуют больших затрат труда при ремонте и эксплуатации в связи с необходимостью разборки для прожировки или замены кожаных манжет. Поэтому в последнее время на электроподвижном составе начали внедрять диафрагменные двухпозиционные приводы (для реверсоров РК-8, тормозных переключателей ТК-8, переключателей мотор-вентиляторов ПШ-5Б, быстродействующих выключателей БВП-ЗА, групповых переключателей ПКГ-6, ПКГ- 4 и других аппаратов).
Приводы изготовляют на базе диафрагменных камер одностороннего действия. Основными частями такого привода являются каркас, камеры и передающий механизм (рычаги, вилка, шток и т.д.). Камера (рис. 182, д) состоит из корпуса 28,





крышки 31, между которыми зажата резиновая диафрагма 30. Диафрагма внутренней поверхностью опирается на диск 33, закрепленный на штоке 25. Другой конец штока соединен с валом, барабаном или упором аппарата, например с рычагом кулачкового вала реверсора. Щток вставлен в отверстие корпуса 28 и шайбы 26 с зазором, что позволяет ему несколько отклоняться от центрального положения. Это дает возможность применять диафрагменный привод в аппаратах с качающимся рычагом, например в быстродействующих выключателях Подвод сжатого воздуха от электромаг
нитного вентиля в камеру осуществляется через бобышку 32, приваренную к крышке 31. При поступлении сжатого воздуха диафрагма прогибается и давит на диск, вызывая поворот вала или перемещение якоря (быстродействующий выключатель). Возврат диафрагмы в исходное положение происходит под действием пружины 29. Крепят камеру к каркасу аппарата болтами 27.
Тормозные переключатели. Они предназначены для переключения силовой цепи и цепи управления с тягового режима работы на тормозной и обратно и имеют два фиксированных положения. «Тяговый режим» и «Тормозной режим»
Тормозные переключатели, как и реверсоры, выполняют барабанного типа с пальцевыми контактами и кулачкового типа с кулачковыми контакторами без дугогашения. В конструктивном отношении они отличаются от реверсора только числом контактных пальцев (или контакторов), а также числом и формой силовых сегментов
Переключатели мотор-вентиляторов. Мотор-вентиляторы осуществляют охлаждение тяговых двигателей и часть электроаппаратов Если нет опасности недопустимого нагрева тяговых двигателей (при езде резервом или с легким составом) и попадания в них снега, нет надобности в работе мотор-вентиляторов при номинальном напряжении (на параллельном соединении). Для уменьшения расхода электроэнергии, износа машин и шума на электровозах постоянного тока предусматривают два режима работы мотор-вентиляторов: «Высокая скорость» (параллельное соединение) и «Низкая скорость» (последовательное соединение). Так как электродвигателями вентиляторов приводятся в движение генераторы управления, то при изменении частоты вращения мотор-вентиляторов будет изменяться и напряжение генераторов. Для поддержания в цепи напряжения 50 В необходимо менять режим работы генераторов управления.


![]() |
Тормозные переключатели и переключатели вентеляторов а —поршневым приводом, в; б — диафрагменным приводом, в— с приводом по
На электровозах отечественного производства в основном применяют переключатели мотор-вентиляторов ПШ-5. Переключатель ПШ-5 состоит из пневматического двухпозиционного привода и бакелитового цилиндра, на котором укреплены медные контактные сегменты. Эти сегменты в зависимости от положения цилиндра замыкают друг с другом пальцы высоковольтной цепи и цепи управления, укрепленные на изоляционных стойках. Переключатели ПШ-5 выпускают и с диафрагменными приводами.
Переключатели ослабления возбуждения. На электровозах ВЛ60 первых выпусков, ЧС2 и др. такие переключатели применяют для отключения и подключения секций резисторов параллельно обмоткам возбуждения тяговых двигателей с целью изменения коэффициента возбуждения. Это переключатели кулачкового типа с пневматическим приводом, по конструкции они отличаются от реверсоров числом позиций, разверткой кулачковых шайб и монтажом высоковольтных цепей.







