Общие сведения. Автоматические выключатели на э. п.с. применяют для защиты оборудования силовых цепей от токов короткого замыкания (к. з.) и от возникновения круговых огней по коллекторам тяговых двигателей, перебросу дуги с токоведущих частей на заземление. В ряде случаев автоматические выключатели используются для так называемых оперативных включений и отключений силовой цепи, например, при проезде нейтральных вставок электровозами или моторными вагонами переменного тока, проведении каких-либо работ в высоковольтной камере, необходимости включения и отключения устройств отопления и т. д.
К автоматическим выключателям обычно предъявляют требования исходя из допустимой динамической и термической устойчивости защищаемого оборудования. Так, во избежание кругового огня ток к. з. не может превышать 5—8-кратного значения тока двигателя при часовом режиме. При этом длительность тока выше предельного по коммутации не должна превышать 4—8 мс, а напряжение на обмотке якоря не должно быть более 2,5—3 кВ.
|
|
|
В эксплуатации скорость нарастания тока к. з. достигает 200—600 А/мс, его установившиеся значения—15 000— 18 000 А, при напряжении 220 В предельный ударный ток составляет 40 000 А. В месте к. з. выделяется большое количество тепла, вызывающее повреждение металлических и изоляционных деталей.
Особую трудность представляет защита тяговых двигателей в режиме рекуперации, так как при этом из цепи двигателей исключены их обмотки возбуждения, обладающие значительной индуктивностью, что приводит к увеличе нию скорости нарастания тока к. з. Автоматические выключатели должны ограничивать токи глухих к. з. в пределах, допускаемых тяговыми двигателями и самим выключателем. Ограничивая ток к. з., эти выключатели одновременно обеспечивают селективность (избирательность) работы подстанционной защиты и защиты локомотива.
Коммутационная способность быстродействующих выключателей определяется прежде всего размерами дугогаситель-ных камер. Например, отключающая способность выключателей БВП-ЗА и БВП-5 с учетом ограничения тока ие превышает 12 000 — 20 000 А.
Скорость отключения и степень ограничения тока к. з. зависят как от параметров цепи к. з., так и от конструкции выключателя. Ток i в цепях постоянного тока нарастает по экспоненциальному закону.
По времени отключения автоматические выключатели разделяют на обыкновенные и быстродействующие. У быстродействующих выключателей полное время отключения t6e (кривые 2 и 4 на рис. 187) в несколько раз меньше, чем у обыкновенных tOB (кривые 1 и 3). Полное время отключения t6s и /ов от момента
|
|
|

Рис. Кривые изменения тока короткого замыкания и напряжения при разрыве цепи быстродействующим и обычным выключателями.
достижения током к з. тока уставки /у до момента полного гашения дуги
где tl6a и iloB — время срабатывания выключателя — от момента достижения тока уставки /у до момента начала расхождения главных контактов; t26B и t2oB — время гашения дуги — от момента ее возникновения до момента исчезновения. Составляющие tlot> и tl6a определяются конструкцией механизма размыкания аппарата и в большой степени зависят от способа расцепления подвижной системы, силы выключающих пружин, массы подвижных частей, характера изменения тока и перемещений, предшествующих отрыву подвижного контакта. Снижение величин tl6e и г1ов имеет существенное значение, так как от них зависят токи
выключателей собственное время составляет 0,002 — 0,008 с, у обычных оио находится в пределах 0,02 — 0,08 с. Величины t2oB и *2бв зависят от эффективности применяемого дугогасительного устройства, индуктивности цепи и максимального тока, достигаемого в процессе выключения. Для обыкновенных выключателей полное время отключения составляет 0,1—0,3 с, для быстродействующих — 0,02—0,06 с.
Как видно из рис. 187, максимальный ток силовой цепи при выключении быстродействующим выключателем /д тах 6в значительно ниже максимального тока Стахов ПРИ размыкании цепи обыкновенным выключателем. Поэтому осуществить защиту от к. з. обычным автоматическим выключателем не представляется возможным, так как он отключал бы ток уже после достижения им максимального значения. Кроме того, прервать дугу при больших токе, индуктивности и напряжении более 3000 В обыкновенным выключателем очень трудно.
В равных условиях автоматические выключатели по-разному ограничивают ток короткого замыкания. Степень этого ограничения характеризуется коэффициентом ограничения
к.з мах — максимальное значение тока к. з., неотключаемой цепи; /8тах— максимальное значение тока к. з. при отключении ее выключателем.
Коэффициент ограничения увеличивается с увеличением индуктивности цепи и уменьшением ее активного сопротивления. Увеличение тока /кз тах сопровождается увеличением амплитуды тока отключения /атах. При некотором наибольшем /кз тах выключатель не способен разорвать дугу в пределах дугогасительной камеры. Наибольшее значение /кз тах, при котором выключатель еще может при наибольшем возможном напряжении в сети и наибольшей возможной для этих условий ее индуктивности надежно отключить защищаемую цепь, называют отключающей способностью выключателя.
Основные узлы. На э. п. с. постоянного тока магистральных железных дорог применяют только специальные быстродействующие автоматические выключатели, а на подвижном составе переменного тока — главные выключатели и автоматические выключатели с электромагнитными и тепловыми расцепителями и с ручным восстановлением.
Основными элементами любого автоматического выключателя являются следующие: чувствительный орган — отключающее устройство, исполнительный орган — контактное устройство, промежуточное кинематическое устройство, дуго-гасительное устройство, привод включения.
Отключающие устройства на э. п. с. постоянного тока обычно представляют собой электромагниты разной формы с различными схемами включения. Отключающее устройство воздействует на механизм выключателя. Общее требование ко всем отключающим устройствам — возможно меньшее время их срабатывания. В выключателе 12НС электровозов ЧС2 и ЧС2Т (рис 188, а) механизм отключения состоит из электромагнитного устройства с подвижным контактом / и защелок 9. Приводом включения служит электромагнитное устройство 10 с рычагом ручного включения //. Нажатие между главными контактами 1 и 2 осуществляется пружинами 3. Отключение контакта / происходит под действием пружины 4, когда ток / в защищаемой цепи и катушке 8 превысит некоторое предельное значение. В результате этого якорь 7 преодолевает усилие пружины 6 и защелки 9 освобождают рычаг 5.
|
|
|
В выключателях БВП-ЗА и БВП-5 контакт / размыкается под действием пружины 22 после отрыва якоря 21 от полюсов 20 в результате снижения или полного исчезновения притягивающих сил под влиянием размагничивающего действия тока /р. Удерживающая катушка 17 питается от генератора управления или аккумуляторной батареи. По размагничивающему витку 12, который расположен иа дополнительном сердечнике 19, проходит ток /р. Поток Фу удерживающей катушки 17 замыкается через сердечник 19, полюсы 20 и якорь 21.
Если рассматривать потоки независимо, то направление магнитодействую-щей силы (м. д. с.) витка 12 выбрано так, что создаваемый им поток Фр в левой части направлен встречно части потока ф' удерживающей катушки 17, а в правой части — согласно с потоком Фу. Следовательно, при увеличении тока в витке 12 полный поток, проходящий через якорь ф == ф'у — Фр, уменьшается и при не котором значении тока становится недостаточным для удержания якоря 21; при этом происходит отключение контакта /. Размагничивающее действие усиливается тем, что при к. з. и быстром увеличении тока [(0,14-0,7)106 А/с] вследствие наличия шунта 18 с индуктивным сопротивлением хиш > хр (где хр — индуктивное сопротивление размагничивающего витка) большая часть тока протекает через размагничивающий виток. Это ведет к дальнейшему увеличению потоков Фр и Фр и уменьшению Ф, а следовательно, к снижению времени выключения t6B быстродействующего выключателя.
Таким образом, быстродействующий выключатель обладает свойством ускоренного действия при к. з. с большим установившимся током, поскольку в этом случае больше значение dIK 3Jdt. При установившемся токе / защищаемой цепи индуктивность размагничивающего витка и индуктивного шунта не влияет на распределение токов.
|
|
|
Вихревые токи в полюсах 20 задерживают уменьшение полного потока Фу — Фр. Поэтому ярмо 15 выполняют из массивной стали, а полюсы 20 и якорь 21 — из листовой. Для регулирования тока уставки в стержне магнитопровода 14 и ярме 15 предусмотрены винты 13 и 16, при вывертывании которых ослабляется поток удерживающей катушки 17 Магнитная система с витком 12 на сердечнике (мостике) 19 обладает лучшей динамической характеристикой по сравнению с другими более простыми системами (например, при расположении витка 12 на магнитопроводе 14 удерживающего электромагнита).
На электровозах ВЛ10 с № 459 (ТЭВЗ) ис№ 1011 (НЭВЗ) для защиты вспомогательной цепи от токов к з применяют малогабаритный быстродействующий выключатель. Якорь 29 (рис. 188, в) и магнитопровод 30 его выполнены шихтованными. Магнитопровод имеет три катушки: две силовые А, Б и одну В оперативного отключения. Катушки А к Б включены последовательно в цепь нагрузки: А — со стороны токоприемника до нагрузки, Б — после нагрузки (вспомогательные цепи). Направление тока в них выбирают так, чтобы создаваемые им в магнитопроводе 30 магнитные потоки были направлены встречно. Механизм защелки состоит из двух защелочных (качающихся на шарнирах 03 и 04) рычагов 23 и 32, на концах которых укреплены шариковые подшипники 24 и 25. Защелочный рычаг 23 через шарнир 05 соединен с рычагом подвижного контакта /, на который передается усилие отключающих пружин 37.
Оси защелочных рычагов 01 и 02 расположены таким образом, что обеспечивается контакт роликов. Поворот рычага подвижного контакта влево ограничивается роликом рычага 32. Пружиной 33 рычаг 32 прижимается к регулировочному винту 26. В замкнутой защелке на ось 01 ролика передается сила Р, созданная отключающими пружинами 37. Штриховыми линиями показано разложение силы Р. Составляющая Q создает фиксирующий момент М = QI, прижимающий рычаг 32 к регулировочному винту, что обеспечивает устойчивое положение защелки. Этот момент регулируют винтом 26, изменяя значения плеча / и силы Q. Для расцепления защелки надо повернуть рычаг 32 по часовой стрелке, приложив к нему момент, превышающий по значению фиксирующий момент. По мере поворота рычага фиксирующий момент снижается (уменьшается плечо I) до нуля и защелка расцепляется. Под действием отключающих пружин 37 контакты выключателя размыкаются. Момент, размыкающий защелку, приложенный к двуплечему рычагу, создается выключающим электромагнитом. Фиксирующий момент невелик. Он определяется необходимой виброустойчивостью защелки, а поскольку составляющая Q имеет относительно большее значение (значительно превышает силу Р), то плечо / мало. Небольшие значения момента М и плеча / определяют ценное свойство защелки: для выключения ее к рычагу 32 надо приложить небольшое усилие и повернуть его на малый угол — это и обес^ печивает быстродействие выключателя.
Изменяя натяжение пружины 31, добиваются того, что якорь притягивается при результирующей м. д. с. в ярме (разности м. д. с. силовых катушек), равной 600 А. В момент притяжения якоря к ярму боек якоря ударяет по концу рычага 32, поворачивая его по часовой стрелке. Защелка размыкается, и выключатель отключается. Зазор у якоря выключающего электромагнита регулируют винтом 28, а зазор между якорем и рычагом 32 устанавливают винтом 27.
При перегрузке по силовым катушкам А и Б течет один и тот же ток и выключатель отключается при токе 300 А, так как результирующая м. д. с. составляет 600 А. При к. з. в цепи ток проходит только по одной силовой катушке А, и выключатель отключается при токе не более 50 А
Включение выключателя производится электромагнитным приводом, состоящим из силового электромагнита 34 и изоляционного включающего рычага 35. Электромагнит имеет втяжной конический якорь, что позволяет получить сравнительно большие начальные усилия. Изоляционный включающий рычаг представляет собой трехплечую систему: через одно плечо проходит ось вращения, на второе опирается ролик штока силового электромагнита, на третьем укреплен
Быстродействующие выключатели БВП-ЗА и БВП-5. Выключатели БВП-ЗА разработаны НЭВЗом; их применяют на электровозах ВЛ22М и ВЛ8. Выключатели БВП-5 разработаны ТЭВЗом в 1961 г. на основе выключателя БВП-ЗА и дугогасительной камеры и катушки автоматического выключателя АБ-2/4 тяговых подстанций. Ими оборудованы электровозы ВЛ8 (последних выпусков), ВЛ10, ВЛ10У и ВЛП.
Каждый выключатель БВП-5 (рис. 189—192) и БВП-ЗА имеет следующие основные узлы: основание, контактное устройство, пневматический привод, магнитную систему с дугогасительной камерой, электромагнитное удерживающее устройство и механизм блокировок. Основание состоит из угольников 1, скрепленных двумя изолированными стержнями 2, и рамы 3. Угольники установлены на гетинаксовом листе 4

Рис. Быстродействующий выключатель БВП-5.
и прикреплены болтами к плоской прямоугольной стальной плите 6, на которой устанавливают выключатель на электровозе. Рама 3 состоит из двух половин сложной формы (правой и левой), отлитых из алюминиевого сплава (силумина) и связанных болтами с распорными трубами. На раме укреплены все детали выключателя.
Контактное устройство состоит из неподвижного контакта 35, укрепленного на гетинаксовой плите 20, и подвижного контакта 24 (см. рис. 190), установленного на конце контактного рычага 25. Главным контактам 24 и 35 придана форма, при которой образуется узкая петля (виток). В ней возникает дополнительный магнитный поток того направления, что и от катушки 10 (см. рис. 189). Этот поток пропорционален току выключателя и не отстает от него во времени, что усиливает магнит-

Рис.Контактный рычаг (а), размагничивающий виток, дугогасительная катушка с магнито-проводом (б) выключателя БВП-5 и индуктивный шунт (в) быстродействующих выключателей
БВП-5 и БВП-ЗА
ное поле в зоне контактов, перебрасывающее дугу, возникшую на них при отключении, на рога дугогасительной камеры. Гетинаксовую плиту 20 (см. рис. 190) крепят к раме выключателя болтами. Контакты 24 и 35 изготовляют из меди. Контактный рычаг для уменьшения его массы, улучшения проводимости и теплоотдачи набран из алюминиевых пластин и шарнирно связан с якорем электромагнитного удерживающего устройства. На контактном рычаге укреплены: пластина 27, по которой перекатывается ролик 55 (см. рис. 192) включающего рычага 49, шпильки 26, за которые зацеплены две отключающие пружины 54, медный гибкий шунт 29 с переходной шиной 28.
Магнитная система (см. рис. 189), смонтированная на гетинаксовой плите 20, состоит из магнитопровода 11, двух секций дугогасительной катушки 10 с шиной 19 и опорных изоляторов 9. Маг-нитопровод набран из листов электротехнической стали в виде незамкнутого кольца. Секции катушки 10 навиты из меди и соединены параллельно. Катушка 10 у выключателя БВП-5 изолирована от магнитопровода прессшпаном, а катушка у БВП-ЗА выполнена с воздушным зазором.
По концам магнитопровода устанавливают специальные съемные полюсы 12, набранные из листов электротехнической стали. Каждый полюс скреплен скобой, которой его крепят к магнито-

Рис. Дугогасительная камера быстро, ствующего выключателя БВП-5
проводу 11. Съемный полюс 12 в верхней части образует шесть лучей, расположенных веерообразно и разведенных под углом 16°. Полюсы обхватывают дугогасительную камеру с обеих сторон и служат продолжением магнитопровода.
Дугогасительная камера выключателя БВП-5 состоит из двух половин, на которых смонтированы все детали. Одна половина камеры имеет асбестоцементную пластину, на которой укреплены: шарнир 41, рога 36 и 42 неподвижного и подвижного контактов, лабиринтные перегородки 38. Лабиринтные перегородки имеют клинообразную форму, их крепят в пазах листов жидким стеклом. При соединении двух половин камеры перегородки одной стенки размещают между перегородками другой стенки, в результате чего образуется постепенно расширяющаяся кверху лабиринтная щель в виде зигзага. Применение перегородок и выполнение камеры в виде раструба с уширением в верхней части дают возможность при сравнительно небольших размерах камеры увеличить в ее пределах длину дуги 39 до 3,6 м. При этом улучшаются аэродинамические свойства камеры (уменьшается сопротивление движению дуги и выхлоп газов вниз), а также уменьшается градиент напряжения дуги в верхней части камеры. Последнее приводит к снижению перенапряжений, возникающих при отключении выключателем токов короткого замыкания. В устье дугога-сительной камеры1 установлена одна центральная перегородка (вставка ас-бестоцементная) 40. Рога 36 и 42 выполнены латунными и расположены в камере симметрично относительно ее средней оси. Рог 42 соединен медной шиной с шарниром 41, а рог 36 при опускании камеры заходит в шлиц головки неподвижного контакта 35, обеспечивая под действием веса камеры необходимое контактное нажатие.
Расположение рога неподвижного контакта в камере и небольшая ширина щели в нижней ее части обеспечивают ко уменьшает выход ионизированных газов из камеры вниз. Сужение щели и увеличение скорости движения дуги в нижней части камеры усилением магнитного дутья ускоряют деионизацию дуги, в связи с этим увеличивается скорость нарастания ее сопротивления в первый период после размыкания контактов. Чтобы уменьшить выхлоп пламени и ионизированных газов из камеры, в верхней ее части устанавливают деионную решетку, состоящую из отдельных элементов 16 (см. рис. 189). Каждый элемент деионной решетки представляет собой набор металлических пластинок, скрепленных двумя текстолитовыми планками и шпильками 15 и 17. На наружных стенках 14 камеры установлены стальные пластины 13. Благодаря съемным полюсам 12 и пластинам 13, установленным с обеих сторон дугогаси-тельной камеры, создается равномерное магнитное поле. Дугогасительную камеру крепят к раме валиком, входящим в отверстия шарнира 41, и тягой 18, которую закрепляют шарниром 37.
Электромагнитное удерживающее устройство выключателей БВП-5 и БВП-ЗА

Рис. Кинематическая и электрическая
схема быстродействующего выключателя
БВП-5
состоит из магнитопровода 43, ярма 22, полюсов 44, удерживающей катушки 23, винтов 21 для регулирования тока уставки выключателя, размагничивающего витка 31 с сердечником 32, расположенных между полюсами 44, и индуктивного шунта 5, подключенного к соединительным пластинам 30 и 33 параллельно размагничивающему витку.
Магнитопровод 43 и ярмо 22 выполнены из массивной стали, полюсы 44 набраны из листов электротехнической стали. Размагничивающий виток (два витка) изготовлены из шинной меди и изолированы от магнитопровода кипер-ной лентой. Сердечник размагничивающих витков набран из листов электротехнической стали. Удерживающая катушка намотана из медной проволоки марки ПЭЛ.
Индуктивный шунт 5 представляет собой медную шину прямоугольного сечения, изолированную в средней части двумя слоями лакоткани. На изолированную часть для увеличения индуктивности набраны штампованные из электротехнической стали шайбы, изолированные друг от друга шеллаком. Активное сопротивление индуктивного шунта равно 0,65 активного сопротивления размагничи-

Рис. Последовательные положения подвижных частей при включении главных контактов быстродействующего выключателя БВП-5
вающего витка. Индуктивное сопротивление шунта в 9 раз больше, чем размагничивающего витка.
Пневматический привод состоит из цилиндра 52, в котором движется поршень 51 со штоком, электромагнитного вентиля 57 включающего типа, рычага 49 с роликом 55, оттягивающих пружин 50 и амортизатора, установленного на цилиндре. Цилиндр отлит из чугуна и прикреплен четырьмя болтами к раме выключателя. Поршень 51 бронзовый, имеет два уплотняющих кольца. Под действием оттягивающих пружин 50 (см. рис. 191) при отсутствии сжатого воздуха в цилиндре поршень отводится в левое крайнее положение.
Блокировочное устройство 7 имеет основание, выполненное из изоляционного материала; оно прикреплено болтами к угольникам. На основании укреплены держатели с контактными пластинами, к которым подведены провода цепи управления. Подвижная система блокировочного устройства состоит из стержня 8, на котором смонтированы блокировочные контакты.
Для включения быстродействующего выключателя предварительно должна быть замкнута цепь удерживающей ка тушки 23 кнопкой БВ. При возбуждении этой катушки никаких перемещений в механизме не происходит, так как при большом воздушном зазоре между якорем 46 и полюсами 44 притягивающее усилие мало.
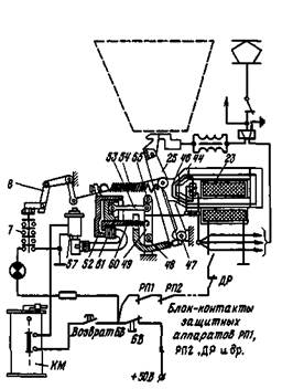
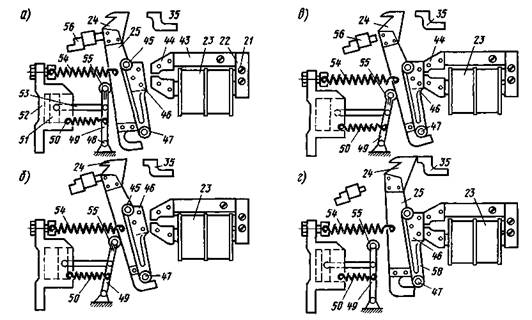
Чтобы приблизить якорь к полюсам, приводят в действие пневматический привод выключателя. Для этого нажимают кнопку Возврат БВ. Нажатие этой кнопки в том случае, когда главная рукоятка контроллера машиниста КМ установлена в нулевую позицию и замкнут его кулачковый контактор (что предотвращает ошибочное включение быстродействующего выключателя при нахождении главной рукоятки на позициях, кроме нулевой), вызывает возбуждение катушки электромагнитного вентиля 57. При этом сжатый воздух через изолирующий резиновый шланг поступает в цилиндр 52 привода и начинает перемещать поршень 51. Движение поршия 51 через шток 53 передается включающему рычагу 49, который, вращаясь на оси 48, роликом 55 толкает контактный рычаг 25 вправо (см. рис. 193).
Первая стадия включения быстродействующего выключателя состоит в том, что контактный рычаг 25, не отрываясь от верхнего упора 56 (рис. 193, а), начинает вращаться под действием включающего рычага 49 вокруг оси 45 до соприкосновения его нижнего выреза с втулкой оси 47 (рис. 193,6). При дальнейшем движении контактный рычаг отходит от упора 56 (рис. 193, в) и движется вместе с якорем 46 до соприкосновения якоря с полюсами 44, натягивая при этом отключающие пружины 54. В этом положении главные контакты 24 и 35 остаются разомкнутыми.
Чтобы главные контакты замкнулись, необходимо прекратить возбуждение катушки электромагнитного вентиля, т.е. дать возможность кнопке Возврат БВ под действием пружины разомкнуть цепь катушки. При размыкании цепи электромагнитный вентиль соединит цилиндр привода с атмосферой, а под действием оттягивающих пружин 54 включающий рычаг 49 вместе с поршнем отойдет в левое крайнее положение. При этом якорь останется притянутым к полюсам, так как удерживающая катушка 23
остается возбужденной. При отходе включающего рычага в левое крайнее положение контактный рычаг под действием отключающих пружин 54 поворачивается вокруг оси 45 по часовой стрелке и замыкает главные контакты 24 и 35.
Таким образом, замыкание главных контактов происходит только после возвращения в первоначальное положение кнопки Возврат БВ и рычага 49, что обеспечивает нормальное срабатывание выключателя в случае включения его при наличии короткого замыкания в цепи.
Движение контактного рычага при замыкании главных контактов передается также через системы рычагов стержню блокировочного устройства, который приводит в замкнутое состояние ранее разомкнутые и в разомкнутое ранее замкнутые блок-контакты выключателя.
Выключение быстродействующего выключателя происходит при размыкании цепи удерживающей катушки 23 или кнопкой БВ по усмотрению машиниста или контактами соответствующих защитных аппаратов, включенных в цепь удерживающей катушки выключателя Быстродействующий выключатель отключается также при повышении тока защищаемой цепи до тока уставки. В том и другом случае выключение происходит вследствие того, что магнитный поток, замыкающийся через якорь, становится ниже определенного значения, при котором притягивающее усилие меньше усилия пружин 54. Якорь 46 отрывается от полюсов 44, и рычаг 58 якоря вместе с рычагом 25 подвижного контакта под действием пружин 54 устанавливается в отключенное положение. Таким образом, одни и те же пружины 54 замыкают главные контакты, создают необходимое контактное нажатие во включенном положении, когда якорь 46 удерживается полюсами 44, и перемещают подвижные детали, размыкая главные контакты, когда магнитный поток становится ниже определенного значения.
Нажатие главных контактов регулируют, изменяя натяжение отключающих пружин 54. Ток уставки выключателя изменяют регулировочными винтами 21. При ввертывании винтов площадь сечения магнитопровода или ярма увеличи вается, в результате чего уменьшается сопротивление магнитному потоку удерживающей катушки. Последний также увеличивается, что требует большего тока в размагничивающем витке для срабатывания выключателя. При вывертывании винтов площадь сечения магни-топровода или ярма уменьшается, а сопротивление магнитному потоку удерживающей катушки увеличивается, следовательно, уменьшается ее магнитный поток.
У отрегулированного быстродействующего выключателя регулировочные винты фиксируют специальными планками и пломбируют. Пломбируют также и регулировочный виит отключающих пружин.
Таким образом, процесс выключения БВП-5 зависит от направления тока в удерживающей катушке и размагничивающем витке. Если поток распределен так, как показано на рис. 194, а, увеличение тока в размагничивающем витке 31 будет вызывать уменьшение потока якоря. При некотором значении тока в размагничивающем витке поток якоря падает настолько, что сила притяжения якоря этим потоком становится меньше усилия отключающих пружин.
При изменении полярности размагничивающего витка 31 (рис. 194, б) и том же направлении тока в удерживающей катушке 23, что и на рис. 194, а, якорь 46 при токе уставки уже не оторвется от полюсов 44. Быстродействующие выключатели, имеющие такие удерживающие электромагниты, называют поляризованными. Они не реагируют на недопустимо возросшие токи обратного направления, которые могут возникнуть во
| Показатель | Быстродействующий выключатель типа | |||
| БВП-ЗА | БВП-5 | БВП-5-02 | 12НС*4 | |
| При напряжении 3000 В наибольший | 20* | 1*2 | 20*3 | __ |
| отключаемый ток к. з., кА | ||||
| Номинальный ток, А | ||||
| Пределы регулирования тока уставки, А | 1500—2500 | 2000—3500 | 2400—2600 | 2000—3000 |
| Время гашения дуги при отключении | 0,05— | 0,05— | ||
| наибольшего тока к з, с | 0,08*2 | 0,08* | 0,05 | 0,04 |
| Нажатие главных контактов, Н | 210—220 | |||
| Масса, кг |
время электрического торможения и короткого замыкания контактной сети.
В выключателе БВП-5 по сравнению с выключателем БВП-ЗА электровоза ВЛ23 увеличена ширина силовых контактов с 10 до 34 мм; для повышения номинального тока и тока уставки изменено соотношение активных сопротивлений размагничивающего витка грв и индуктивного шунта гиш (у БВП-5 грв = 1 • 10~4 Ом, гиш = 0,48 * 10-4 Ом; у БВП-ЗА гр. — 1 • 10-4 Ом, гиш = = 1 • 10-4 Ом).
Конструкция выключателя БВП-5-02 электровоза ВЛ11 подобна конструкции выключателя БВП-5 электровозов ВЛ8, ВЛ10, ВЛ10У. Технические данные быстродействующих выключателей электровозов постоянного тока приведены в табл.