Струйный насос – насос трения, в котором одна жидкая среда перемещается внешним потоком другой жидкой среды.
Струйные насосы для нагнетания называются инжекторами, для отсасывания - эжекторами, для подъема – гидроэлеваторами.
Действие струйного насоса основывается на непосредственной передаче кинетической энергии одним потоком (рабочим) другому, имеющему меньшую кинетическую энергию (перекачиваемому - эжектируемому). Рабочая и перекачиваемая (эжектируемая) жидкости могут быть одинаковыми и различными. Струйные насосы, в которых рабочей и эжектируемой жидкостями является вода, называются водоструйными.
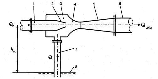
Водоструйный насос можно легко получить на основе трубы Вентури, организовав поток жидкости по оси трубы с высокой скоростью. На рис. 29 приведена принципиальная схема водоструйного насоса (эжектора).
В водоструйном насосе рабочий поток с расходом Qр под большим давлением
по трубопроводу 1 с соплом 2 на конце поступает в камеру всасывания 3, сообщенной всасывающим трубопроводом 7 с расходным резервуаром 8. Струя воды, вылетая из сопла 2 с большой скоростью, создает разрежение в камере всасывания 3 и соответственно во всасывающем трубопроводе 7. За счет вакуума из расходного резервуара 8 по всасывающему трубопроводу 7 подсасывается вода в количестве Q (расход эжектируемой – перекачиваемой жидкости).
|
|
|

Рис. 29. Схема водоструйного насоса (эжектора):
1 – трубопровод рабочей жидкости; 2 – сопло; 3 – камера всасывания;
4 – камера смешения; 5 – диффузор; 6 – напорный трубопровод
суммарного потока; 7 - всасывающий трубопровод; 8 – резервуара
расходный;
- расход рабочего потока жидкости;
- расход
эжектируемой (перекачиваемой) жидкости;
- расход общего потока жидкости.
Из камеры смешения 4 общий поток с расходом
направляется в диффузор 5, где скорость падает, и создается давление, необходимое для движения жидкости по напорному трубопроводу 6.
Струйные наосы обладают рядом существенных достоинств: простота конструкции, надежность работы, легкость изготовления, небольшие габариты и стоимость, простота эксплуатации.
Недостатком водоструйных насосов является низкий КПД (
) и относительно большой расход рабочей жидкости
, (в
раза превышающий расход эжектируемой жидкости).






