Область применения и типы анкеров
Грунтовые анкеры

:
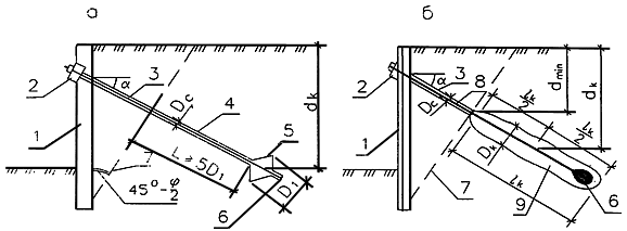
а - с разбуренным уширением; б - с инъекционным уширением
| Песчаные грунты | Пылевато-глинистые грунты |
| а) инъекционные анкера с одноразовой инъекцией цементного раствора; | а) инъекционные анкера с одноразовой инъекцией цементного раствора; |
| б) то же с двухразовой; | б) то же с многократной инъекцией; |
в) анкера с уширителем, входящим в состав анкера ( = 450 мм)
| в) с инвентарным уширителем ( = 600 мм)
|
Технология устройства инъекционного анкера со стержневой арматурой с одноразовой инъекцией цементного раствора в рабочую зону (рис. 4.3) следующая:

= 450 мм)






