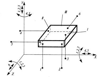
В процессе изготовления машины возникают задачи соединения с требуемой точностью двух или большего количества деталей. Такие задачи возникают при обработке заготовок деталей в различных технологических системах, когда заготовку необходимо установить и закрепить с заданной точностью на столе станка или в приспособлении. При этом каждая обрабатываемая заготовка, если ее рассматривать в системе трех взаимно перпендикулярных осей, имеет шесть степеней свободы: три перемещения вдоль осей 0Х, 0Y, 0Z и три перемещения при повороте относительно этих осей. Положение заготовки в пространстве определяется шестью координатами или шестью опорными точками (рис. 1). Придание заготовке или изделию требуемого положения относительно выбранной системы координат называется базированием.

Рис. 1. Опорные точки обеспечения неподвижности
призматической заготовки
База – поверхность или выполняющее ту же функцию сочетание поверхностей, ось, точка, принадлежащие заготовке или изделию и используемые для базирования (рис. 2…5). Слово база происходит от греческого слова базис, что означает основание. На представленных рисунках цифрами 1, 2 и 3 обозначены соответственно базы, заготовки и элементы станочных приспособлений.
|
|
|

Рис. 2. База – поверхность

Рис. 3. База – сочетание поверхностей

Рис. 4. База – ось

Рис. 5. База – точка
База может быть проектной (используется при проектировании изделия или технологического процесса) или действительной (фактически используется в конструкции при изготовлении, эксплуатации или ремонте).
Комплект баз – совокупность трех баз, образующих систему координат заготовки или изделия (рис. 1).
При обработке заготовок на станках различают следующие поверхности:
1) обрабатываемые поверхности, которые подвергают воздействию рабочего инструмента;
2) поверхности, посредством которых определяют положение заготовки при обработке;
3) поверхности, контактирующие с зажимными устройствами;
4) поверхности, от которых измеряют выдерживаемый размер;
5) свободные поверхности.






