Тяговые диаграммы можно обрабатывать при помощи планиметра или метода ординат. Если тяговая диаграмма в функции пути и ее длина пропорциональна длине пути, то площадь этой диаграммы представляет в некотором масштабе показатели изделия на пути динамометрирования.
Среднее тяговое усилие Ркр можно определить как произведение средней ординаты hср на масштаб К, определенный из тарировочной диаграммы динамографа.
Для определения средней ординаты hср измеряют планиметром площадь S, тяговой диаграммы, ограниченной сверху линией нагрузок, а снизу – нулевой линией, а по концам – начальной и конечной ординатами и делит эту площадь на длину l диаграммы
.
Существуют три типа планиметров:
- полярный;
- линейный;
- радиальный.
Полярный применяют при измерении площади осциллограмм небольших размеров, записанных в прямоугольных координатах.
Линейный – для измерения площадей рулонных диаграмм.
Радиальный – для определения суммарных или средних значений величин, записанных на дисковых диаграммах.
Для планиметрирования рулонных тяговых диаграмм наиболее удобно применять линейный планиметр.

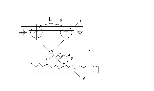
Схема линейного планиметра:
1 – направляющая; 2 – рамка; 3 – обводной рычаг; 4 – считывающий механизм; 5 – обводной штифт; 6 – лента диаграммы.
При планиметрировании диаграммы линейным планиметром, его направляющую 1 укрепляют на столе. Приблизительно параллельно ей прикалывают ленту 6 с диаграммой.рамка 2 планиметра перемещается вдоль направляющей. При этом ось 0 обводного рычага 3 движется по линии a b параллельно направляющей. Линия a b наз. нулевой линией. Если обводной штифт 5 планиметра вести по линии a b, то ролик считающего механизма 4 вращаться не будет и показание планиметра будет оставаться нулевым. При движении штифта по всем другим линиям счетный механизм будет вращаться в сторону положительных или отрицательных показаний. При начале планиметрирования иглой накалывают начальную точку и на эту точку устанавливают обводной штифт 5. затем диск и ролик считающего механизма 4 устанавливают на нуль и обводят диаграмму обводным штифтом 5 против часовой стрелки. При возвращении штифта в начальную точку показания считающего механизма умножение на масштаб планиметра дает площадь диаграммы.
Наиболее вероятными считаются совпадающие результаты двух измерений непосредственно следующих одно за другим, т. е. объединение площади следует производить до получения 2-ух одинаковых смежных измерений. Обводить диаграмму нужно от руки. Не допускается обведение прямых участок диаграммы под линейку, т. к при этом нарастает погрешность обводки.
При отсутствии линейного планиметра можно пользоваться полярным планиметром.






