Измерение ускорений и вибраций

При динамическом расчете узлов и деталей машин и исследования динамических процессов в них очень важна информация об инерционных нагрузках действующих на узлы и детали машины. Инерциальные нагрузки определяются действующими на объект исследования ускорениями, частотами и амплитудами вибраций. Поэтому экспериментальные исследования инерционных нагрузок сводятся к измерениям перечисленных параметров. Диапазон ускорений, действующих в узлах машины, очень велик, так ускорения ТС при разгоне составляет 0,3-0,8g, а ускорение кузнечного молота при ударе может составлять приблизительно 3000g.

Диапазоны измеряемых вибраций при экспериментальных исследованиях машин бывают от сотых долей до нескольких мм, при частотах от нескольких ГЦ до десятков кГц. Для измерения ускорений и вибраций тензометрическим методом применяют преобразователи инерционного типа.

Амплитуды и частоты вибрации измеряют с помощью преобразователей перемещения или силоизмерители, через которые связывают объект исследования с какой-либо неподвижной опорой.

Преобразователи инерционного типа содержат инерционную массу соединенную чувствительным элементом с основанием преобразователя.

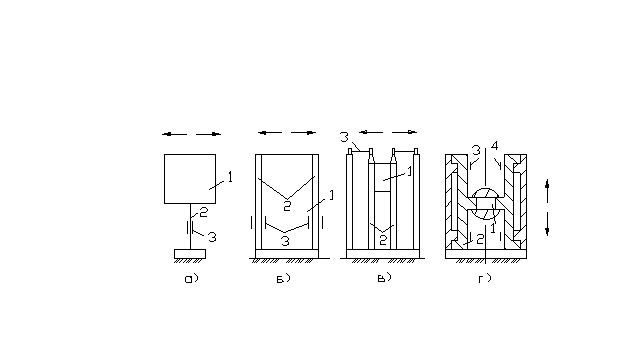
Конструкции ускорениемеров.

А) одноконсольный; б)двухконсольные; в) двухконсольный с безосновными тензорезисторами; г) с чувствительными элементами в форме стаканов для измерения больших ускорений.

1-инерционная масса; 2-чувствительный элемент; 3, 4-тензорезисторы.

Штриховыми стрелками показывают направление измеряемых ускорений.

Первый тип ускорениемера является простым по конструкции и состоит из основания чувствительного элемента в виде консольной балки с наклеенными на нее тензорезисторами и укрепленной на конце балки инерционной массой. Расчет его сводится к расчету консольной балки, где вместо силы приложенной к центру массы подставляем значения инерционных сил (произведение массы на ускорение).

Схема б) имеет конструкцию, отличающуюся тем, что чувствительный элемент содержит инерционную массу укрепленную на двух параллельно расположенных консольных балках.

По сравнению со схемой а в конструкции б может быть достигнуто более высокое значение коэффициента преобразователя при этой собственной частоте. Кроме того такая конструкция обеспечивает параллельность перемещения инерционных масс, что в свою очередь, дает возможность измерять с помощью тензорезисторов не деформации изгиба консолей, а перемещение инерционных массы с помощью преобразователей перемещения или как показано на схеме в) подвесных тензорезисторов. Их используют для измерения малых ускорений.

Схему г) применяют для измерения больших ускорений. Чувствительный элемент в этой схеме выполнен в виде двух цилиндрических стаканов, соединенных днищами. По образующим стаканов наклеены тензорезисторы. Стаканы установлены в цилиндрическом корпусе с некоторым натягом, поэтому такой ускорениемер является дифференциальным. Роль инерционной массы выполняют днища стаканов и масса, укрепленная на них.

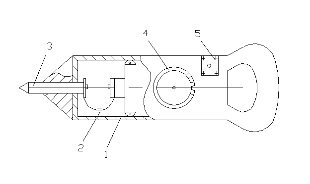
Наиболее простым по конструкции для измерения вибрации является виброщуп ВЩ-1.

1-корпус; 2-тензорезисторный преобразователь перемещения; 3-измерительный наконечник; 4-милиамперметр; 5-кнопка включения.

Виброщуп ВЩ-1.

Он выполнен в виде массивного корпуса с рукояткой, измерительный наконечник установлен в специальной направляющей, соединенной с тензорезисторным преобразователем перемещения 2. Виброщуп подключается кабелем к тензометрическому прибору. Тензометрический прибор, работающий с виброщупом балансируется в помещении, когда наконечник утоплен примерно наполовину его возможностей перемещения. После этого виброщуп наконечником прижимается к объекту исследования с усилием такой величины, чтобы показания милиамперметра и соединение с выходом тензометрического прибора были =0.

В этом случае средний прогиб упругого элемента преобразования перемещения будет соответствовать его прогибу во время балансировки.

Виброщуп позволяет измерять виброперемещения до 600 Гц.





Подборка статей по вашей теме: