Характеристика электродов для сварки цветных металлов
Таблица 3.10
| Марка электрода | Материал сердечника | Ток и полярность | Положение сварки | Коэффициент наплавки, |
| Алюминий и его сплавы | ||||
| ОЗА-1 | Св-А97 | Постоянный, обратная полярность | нижнее | 6,32 |
| АФ-4аКр | Св-А97 | 7,5-7,8 | ||
| А-2 | Св-АМц, Св-АК5 | 7,5-7,8 | ||
| ОЗА-2 | Св-АК5 | 6,25-6,5 | ||
| Медь и её сплавы | ||||
| К-100 | Медная проволока (ГОСТ 2112-79 | Постоянный, обратная полярность | нижнее | |
| МН-5 | Проволока МНЖ5-1 | |||
| АНМц/ЛКЗ-АБ | Проволока МНЖКТ5-1-0,2-0,2 | 16,5 | ||
| Сплавы на основе никеля | ||||
| МЗОК | НМЖМц28-2,5-1,5 | Постоянный, обратная полярность | нижнее | |
| ХН-1 | НМц5 |
Процесс изготовления электродов предусматривает ряд строго последовательных операций по подготовке проволоки, компонентов покрытия, сухой смеси компонентов и омбазочной массы, нанесению ее на стержень с последующей сушкой и прокалкой электродов с целью при-дания необходимой прочности покрытию.
Последовательность технологических операций при изготовлении покрытых электродов:
I. Приготевление порошков из руд концентратов.
- Склад руд
- Сушка
- Размол
- Сепарирование крупных частиц и пыли
- Засыпка готовых порошков
II. Приготовление порошков из минералов.
- Склад минералов
- Предварительное дробление кусков размером более 350 мм
- Промывка
- Крупное дробление до величины кусков размером 25 мм
- Среднее дробление до величины кусков размером 5-10мм
- Размол и сепарирование
- Готовый продукт тонкого помола
III. Приготовление сухой шихты.
- Компоненты тонкого помола
- Составление шихты по рецептуре
- Перемешивание сухой шихты
- Засыпка готовой шихты в бункера выдача для производства обмазочной массы
IV. Приготовление обмазочной массы и брикетов.
- Перемешанная сухая шихта плюс жидкое стекло с пассивирующей добавкой
- Приготовление обмазочной массы
- Приготовление брикетов
V. Нанесение покрытия.
- Подача готовых стержней и подача обмазочной массы на установку
- Нанесение покрытия в специальных прессах
- Зачистка торцов и контактных концов электродов.
VI. Сушка и прокалка.
- Укладка электродов на рамки для сушки прокалки.
- Подача в сушильно-прокалочную конвейерную печь непрерывного действия.
VII. Сортировка, сертификатные испытания, упаковка.
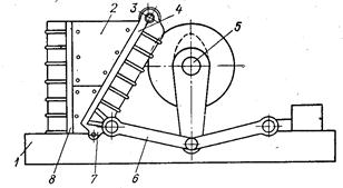
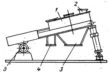
С помощью специальных станков проволока для электродов предварительно правится (рис. 3.3), рубится на стержни требуемой длины (рис. 3.4) и тщательно очищается от окалины, ржавчины, масла и других загрязнений.

Рис. 3.3. Схема правки электродной проволоки.

Рис. 3.4. Схема рубки электродной проволоки гильотинными ножами
Чтобы входящие в состав покрытия вещества за короткое время образования капли расплавленного металла успели вступить в химическую реакцию с жидким металлом, твердые составные части покрытия предварительно промываются (кусковое рудо-минеральное сырье), дробятся (рис. 3.5, 3.6), сушатся, а затем подвергаются тонкому измельчению в шаровых, стержневых и вибрационных мельницах (рис. 3.7) и просеиваются через сита (рис. 3.8) с размером отверстий от 140 мк и менее.

Рис. 3.5. Щековая дробилка для крупного дробления:
1 – рама; 2 – броневая плита; 3 – ось подвижной щеки; 4 – подвижная щека; 5 – эксцентриковый вал; 6 – шатун; 7,8 – сменные дробящие плиты.

Рис. 3.6. Дробилка с гладкими валками для среднего дробления:
1 – рама; 2 – предохранительная пружина; 3 – предохранительный кожух; 4 – валки; 5 – резиновые буфера; 6 – сборник продуктов размола.

Рис. 3.7. Шаровая мельница непрерывного действия для тонкого измельчения:
1 – загрузочная воронка, 2 и 5 ступицы для крепления корпуса к валу, 3 – стенки, 4 и 13 – защитные плиты, 6 – вал, 7 – предохранительное сито, 8 – вентиляционный патрубок, 9 – сито, 10 – плиты, 11 – кожух, 12 – разгрузочная воронка

Рис. 3.8. Вибрационное сито:
1 – короб с сетками; 2 – труба для подачи материала на сито; 3 – выход годного продукта, 4 – труба для выхода отсева, 5 – электромагнитный привод.
Подготовленные составные части покрытия отвешиваются в нужной пропорции и перемешиваются в смесителе (рис. 3.9).

Рис. 3.9. Барабанный смеситель
В специальном отделении приготовляют водный раствор жидкого стекла из силикатной глыбы (рис. 3.10).

Рис. 3.10. Схема процесса производства жидких стекол:
1 – автоклав; 2 - отстойники
Сухие части покрытия замешивают на растворе жидкого стекла до нужной густоты и покрытие наносят на проволоку под давлением 75—100 МПа на обмазочных прессах (рис. 3.11).

Рис. 3.11. Схема электродообмазочной головки:
1 – корпус; 2 – втулка; 3 – фильера; 4 – поршень пресса.
После нанесения покрытия электроды сушат, пока влажность покрытия будет не более 4—5%. Сушка производится сначала на воздухе при температуре 25—30° С в течение 12—25 ч, а затем в сушильных электрических шкафах при температуре 150—300° С в течение 1—2 ч. Электроды, содержащие органические элементы, прокаливают при температуре не выше 150—200° С во избежание выгорания органических примесей.
Хранят готовые электроды в сухих помещениях с нормальной важностью воздуха. Электроды с отсыревшим покрытием нужно перед сваркой в течение часа прокалить при температуре 180— 200°С. Качество готовых электродов проверяется наплавкой и сваркой контрольных образцов с последующим испытанием их на прочность и пластичность.
Электроды упаковывают в водонепроницаемую бумагу или полиэтиленовую пленку и пачками массой 3 – 8 кг укладывают в деревянные ящики. Масса ящика – от 30 до 50 кг. На каждой пачке имеется этикетка, содержащая наименование завода-изготовителя, условное обозначение электрода, область применения, режимы сварки, обработки и механические показатели сварного шва, свойства наплавленного и коэффициент наплавки.