Схема газоснабжения
Принципиальные схемы промышленного газоснабжения различаются по давлению газа в межцеховых газопроводах, а также по наличию и расположению ГРП и ГРУ.

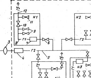
Рис. 5.2. Принципиальная схема газоснабжения завода
На рис. 5.2 приведена схема газоснабжения завода с ГРП на вводе и цеховыми ГРУ. По этой схеме предприятие снабжается газом от газопровода высокого давления 1 через задвижку 2 с компенсатором 3 на вводе. В центральном ГРП 4 давление снижается до среднего. По межцеховому газопроводу 5 через отключающее устройство (задвижка) 6 на вводе в цех газ поступает во внутрицеховой газопровод 8. На среднем давлении работают агрегаты цехов №№ 2 и 4. В цехах №№ 1 и 3 агрегаты работают на низком давлении газа, поэтому для снижения давления газа в каждом из этих цехов установлена цеховая ГРУ 7. Перед газоиспользующими агрегатами устанавливаются главные отключающие устройства 9. На продувочном газопроводе 12 имеется кран 10 и штуцер с краном 11 и пробкой для взятия пробы газа на анализ.
По способу прокладки различают наземные и подземные газопроводы. По территории промышленных предприятий газопроводы, как правило, прокладываются под землей. При этом исключается подземная коррозия газопроводов, менее опасны утечки газов, облегчается обслуживание и ремонт. Для обеспечения компенсации температурных удлинений на газопроводах предусматривают специальные повороты (отводы), а в случае невозможности самокомпенсации устанавливаются компенсаторы. Наибольшее распространение получили дисковые и линзовые компенсаторы.
В процессе эксплуатации в газопроводах могут конденсироваться водяные пары и накапливаться жидкие продукты, выделяющиеся из газов. Для их удаления газопроводы прокладывают с уклоном и в низких местах оборудуют конденсатоотводчиками. На газопроводах имеются отключающие устройства (задвижка, заглушка) и продувочные свечи. Это оборудование используется при проведении ремонтов газопроводов.
При проектировании межцеховых газопроводов применяют кольцевые и лучевые схемы, выбор которых определяется уровнем требований потребителей к надежности газоснабжения и технико-экономическим сопоставлением вариантов. Внутри цеха чаще используют тупиковые схемы с ответвлением к продувочной свече в конце каждого тупика. Продувку через свечу осуществляют перед пуском участка в эксплуатацию. Связь газопроводов разных давлений осуществляется только через ГРП.
)
Гидравлический расчет межцеховых и цеховых газопроводов низкого давления производится без учета изменения плотности газа. Диаметры газопроводов определяются из приведенных ниже формул.
Коэффициент сопротивления трения рекомендуется принимать следующим: для природного и сжиженного углеводородного газов 0,02 … 0,03, для доменного и ферросплавного газов 0,04 … 0,05 (бóльшие значения относятся к трубам с внутренним диаметром менее 200 мм, мéньшие – к трубам диаметром более 1500 мм). Рекомендуемые скорости газов (табл. 3.3) приведены при рабочей температуре, давлении и влажности газа.
Снижение давления на местных сопротивлениях учитывается путем увеличения Δ р тр на 5 … 10%.
При расчете движения газа в трубопроводах среднего и высокого давления необходимо учитывать изменение его плотности.
Газопроводы среднего и высокого давления целесообразно рассчитывать с использованием номограмм или ЭВМ. Газопроводы сооружают и эксплуатируют с соблюдением Норм и Правил, разработанных Госгортехнадзором России.






