
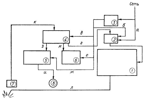
Рис. 4. Блок-схема системы управления сварочным полуавтоматом: 1 – источник питания, 2 – система управления источником питания, 3 – блок питания системы управления, 4 – логическая система, 5 – система управления двигателем подачи, 6 – газовый клапан, 7 – тумблер, 8 – двигатель подачи.
В случае трехфазного двигателя система не имеет (5). В упрощенных вариантах система не имеет (5, 6, 7). Несомненным достоинством простых схем является их надежность, регулируемый диапазон узок и ненадежен. Более распространены сложные. Ступенчатые обеспечивают кратность регулирования 10 и более. Это высокое достоинство, так как Vпп<80 и Vпп>200м/ч практически не используется. В последнее время значительно расширились задачи, решаемые логической частью схемы управления. Современные системы обеспечивают временные задержки, отключение источника питания и газового после прекращения сварки. При установке системы на длинные швы - пусковая кнопка работает как повторный выключатель, на короткие – простой короткий контакт. В ряде систем предусмотрена возможность сварки точками с автоматической выдержкой времени горения дуги. При изменении тока необходимо изменить величину напряжения, что необходимость хождения к источнику питания. Причем, напряжение сварщик обычно выбирает интуитивно в зависимости от опыта и квалификации.
Сегодня существуют схемы управления, в которых сварщик контролирует связь тока и напряжения. Программирование осуществляется последующим разрядам:
Ø по роду проволоки (стальная, углеродистая, стальная нержавеющая, алюминиевая)
Ø род защитного газа: Ar, CO2, смеси и так далее
Ø особенности процесса (короткая дуга, струйный перенос и так далее)
Ø диаметр проволоки.
В дальнейшем при выборе сварщиком тока или скорости подачи автоматически устанавливается другие параметры, которые являются наиболее благоприятными с точки зрения разработчика программы.






