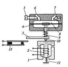
Устройство пневматического реле времени показано на рис. 9.46.

Рис. 9.46. Пневматическое реле времени:
1- сердечник электромагнита; 2 – катушка электромагнита; 3 – рычаг электромагни
та; 4 – мембрана; 5 – регулировочный винт; 6 – калибровочное дроссельное отвер
стие; 7 – обратный клапан; 8 – камера воздушная; 9 – пружина; 10 – шток; 11 – возвратная пружина; 12 - контакты
Основным элементом реле является замедлитель в виде воздушной камеры 8, разде
ленной на верхнюю и нижнюю части эластичной мембраной 4.
При подаче напряжения на катушку 2 якорь электромагнита (виде буквы «Т») опу
скается вниз и втягивается в сердечник 1. При этом вместе с якорем опускается шток 10 -под действием силы собственного веса и пружины 9.
Но это процесс происходит медленно, по мере заполнения верхней части воздуш-
ной камеры 8 наружным воздухом через калибровочное дроссельное отверстие 6.
Когда шток 10 опустится на якорь электромагнита (в виде буквы «Т»), он своим рычагом 3 надавит на верхний подвижный контакт 12, который замкнется с нижним кон-
тактом.
Таким образом происходит замедление при срабатывании реле (при подаче пита-
ния на катушку электромагнита).
При снятии питания с катушки электромагнита якорь (в виде буквы «Т») вместе со штоком 10 под действием возвратной пружины 11 поднимется, т.е. вернется в исходное положение. Этот процесс проходит быстро, благодаря открытию обратного клапана 7, так
что воздух из камеры 8 будет выходить не только через отверстие 6, но и через отверстие
обратного клапана 7.
Уставка времени срабатывания реле выполняется посредством винта 5, путем изме-
нения размера дроссельного отверстия 6: чем меньше отверстие, тем больше время сраба-
тывания.
Промышленность выпускает пневматические реле типа РВП (Р – реле, В - време-
ни, П - пневматическое) с замедлением до 180 с.






