Циклы
Если какие-либо операторы необходимо выполнить несколько раз, то их не переписывают каждый раз заново, а организуют цикл.
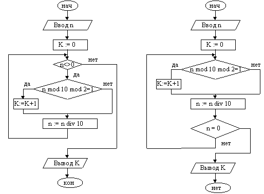
Пример 1. Подсчитать количество нечетных цифр в записи натурального числа n.
Идея решения. Из заданного числа выбирать из младшего разряда цифру за цифрой до тех пор, пока оно не исчерпается, т.е. станет равным нулю. Каждую нечётную цифру учитывать.
|
| 1. Ввести число n 2. K:= 0 {подготавливаем счётчик} 3. Если n = 0, переход к п. 7 4. Если n mod 10 mod 2 = 1, то K:= K +1 5. n:= n div 10 6. Переход к п. 3 7. Вывод K 8. Конец |
Задача решена двумя способами. Слева решение оформлено с использованием цикла с предусловием, справа — с постусловием.
Пример 2. Дана последовательность, общий член которой определяется формулой

Вычислить при n>2 сумму тех ее членов, которые больше заданного числа e.
При решении задачи находится очередной член последовательно и, если он больше e, добавляется к сумме.
| 1. Ввести e 2. S:= 0 3. A:= 1/4 4. n:= 3 5. Сравнить А с e. Если A>=e, переход к п. 10 6. S:= S + A 7. A:= (n-1)/(n*n) 8. n:= n + 1 9. Переход к п. 5 10. Вывод S 11. Конец |
В рассмотренных выше примерах количество повторений заранее неизвестно. В первом оно зависит от количества цифр в записи натурального числа, во втором — от числа e.
|
|
|
В тех же случая, когда количество шагов известно из условия задачи, проще и предпочтительней использовать цикл с параметром.
Пример 3. Найти произведение первых k натуральных чисел, кратных трём.
При составлении алгоритма учтем, что первое натуральное число, кратное 3, есть тройка, а все последующие больше предыдущего на 3.
| 1. Ввод k 2. P:= 1 {здесь накапливаем произведение} 3. T:= 0 {здесь будут числа, кратные 3} 4. I:= 1 5. Если I > k, переход к п. 10 6. T:= T + 3 7. P:= P * T 8. I:= I + 1 9. Перейти к п. 5 10. Вывод P 11. Конец |
Другие примеры будут записаны уже на ЯПВУ. В настоящей же публикации предпринята попытка продемонстрировать, что изучение программирования разумно начинать собственно с разработки алгоритмов, не акцентируя первоначально внимания на записи алгоритма на том или ином языке программирования. В то же время автор, являясь сторонником структурного подхода к программированию, предлагает придерживаться этого подхода и при программировании на уровне блок-схем.
main - основная функция языка си. Для языка си характерна следующуя специфика:
1) Каждая программа на С обязательно имеет функцию с именем main
2) Имя main может быть только у одной функции
3) Тело программы заключено в лексеммы: «{» - начало программы, «}» – выход из программы (корректный)
Для различных версий компиляторов языка си могут быть применены различные виды главной функции main:
|
|
|
- main – С, С++
- wmain и tmain – Visual Studio (с поддержкой Unicode)
- WinMain –Windows программирование
В языке С имеет различие написание маленьких и заглавных букв
Завершение программы происходит в случаях:
1) достижения окончания функции main – лексема «}»;
2) по выполнению return – инструкции из main;
3) вызов функции exit() из любой функции программы;
4) вызов функции abort() из любой функции программы.
при этом в случаях 1, 2 и 3 – имеется корректный выход, 4 – некорректный выход из программы.






