Регулирование основных технологических параметров
Основные технологические параметры, характеризующие химико-технологические процессы — это расход, уровень, давление, температура, рН, а также параметры качества: концентрация готового продукта и его физико-химические свойства (плотность, вязкость, влажность и др.).
При регулировании расхода нужно учитывать некоторые особенности, не присущие обычно системам регулирования других технологических параметров. Первая особенность — небольшая (обычно пренебрежимо малая) инерционность объекта регулирования, который представляет собой, как правило, участок трубопровода между первичным измерительным преобразователем для измерения расхода и регулирующим органом. После перемещения штока регулирующего органа в новое положение новое значение расхода устанавливается за доли секунды или, в крайнем случае, за несколько секунд. Это означает, что динамические характеристики системы определяются главным образом инерционностью измерительного устройства, регулятора, исполнительного устройства и линией передачи сигнала (импульсных линий). Вторая особенность проявляется в том, что сигнал, соответствующий измеренному значению расхода, всегда содержит помехи, уровень которых высок. Частично шум представляет собой физические колебания расхода, частота которых настолько велика, что система не успевает на них реагировать. Наличие высокочастотных составляющих в сигнате изменения расхода — результат пульсаций давления в трубопроводе, которые в свою очередь являются следствием работы насосов, компрессоров, случайных колебаний расхода, например, при дросселировании потока через сужающее устройство. Поэтому при наличии шума, чтобы избежать усиления в системе случайных возмущений, следует применять малые значения коэффициента усиления регулятора.
|
|
|
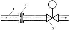
Рассмотрим объект регулирования расхода — участок трубопровода 1, расположенный между местом измерения расхода (местом установки первичного измерительного преобразователя, например диафрагмы 2) и регулирующим органом 3 (рис. 1). Длина прямого участка трубопровода определяется правилами установки нормальных сужающих устройств и регулирующих органов и может составить несколько метров. Динамику объекта (трубопровода) — канала расход вещества через регулирующий клапан—расход вещества через расходомер — можно представить статическим зве-

Рис. 1. Фрагмент системы регулирования расхода.
ном первого порядка с транспортным запаздыванием. Значение постоянной времени
составляет несколько секунд; время транспортного запаздывания
для газа — доли секунды, для жидкости — несколько секунд.
|
|
|
Поскольку инерционность объекта при регулировании расхода незначительна, к выбору технических средств управления и методов расчета АСУ предъявляются повышенные требования.
Большинство современных первичных измерительных преобразователей расхода возможно рассматривать как статические звенья нулевого порядка, а исполнительное устройство (исполнительный механизм вместе с регулирующим органом) — как статическое звено первого порядка с постоянной времени Т в несколько секунд. Для повышения быстродействия пневматического исполнительного устройства применяют позиционеры. Пневматические линии связи представляют статическим звеном первого порядка с транспортным запаздыванием (постоянная времени Т и время транспортного запаздывания
определяются длиной линии связи и составляют несколько секунд).
Если расстояния между функциональными элементами системы управления велики, то по длине импульсной линии устанавливают дополнительные усилители мощности, чтобы увеличить быстродействие системы.
В системах регулирования расхода применяют различные способы изменения расхода:
• дросселирование потока вещества через регулирующий орган (клапан, заслонка, шибер и др.), установленный на трубопроводе;
• изменение угловой скорости вращения рабочего вала насоса или вентилятора;
• байпасирование потока (под байпасированием понимается переброс части вещества из основной магистрали в обводную линию).