
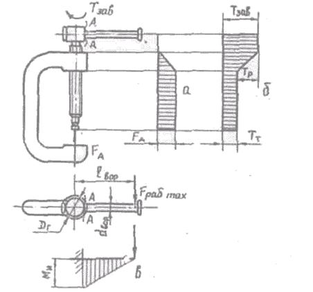
Для скрепления пакета листов силой 16000 Н используют струбцину (рис. 1.8.3). Винт I имеет метрическую резьбу с крупным шагом.
Струбцина выполнена из стали СтЗ. максимальная длина винта
Диаметр головки воротка диаметр торца винта
Требуется:
1) определить размеры винта, высоту гайки, размеры воротка;
2) построить эпюры нормальной силы и крутящего момента для винта.
Решение
1. Материалы и термообработка. Передача относится к числу редко работающих. Гайка выполнена из стали СтЗ. Винт выполнен из горячекатаной стали 45. Для нее предел текучести σT = З60 МПа (см. табл. (1.2).
2. Допускаемое удельное давление в витках резьбы [p] = 16 МПа (см. табл. 1.8.2).
3. Коэффициент высоты метрической резьбы H1 / p = 0, 54, угол наклона рабочей стороны профиля γ= 30° (см. табл. 1.8.1).
4. Принимаем коэффициент высоты гайки ψH = HГ / d2 = 1, 6 (рекомендуется ψH = 1,2...2,5).
5. Средний диаметр резьбы d’2, из условия обеспечения износостойкости

6. В соответствии с ГОСТ 9150-81 [4] принимаем резьбу М24 с крупным шагом из первого предпочтительного ряда диаметров.
Параметры резьбы:
наружный диаметр резьбы................. d = 24 мм
шаг резьбы...................………........... Р = 3 мм
средний диаметр резьбы................… d2 = 22,051 мм
внутренний диаметр резьбы гайки..... D1 = 20,752 г
угол подъема резьбы................…...... ψ = 2° 29'
диаметр резьбы винта для расчета на прочность (см. п. (3.1) d1 = D1.
7. Проверяем выполнение условия самоторможения: φ’ > ψ
Приведенный угол трения

Принимаем коэффициент трения в резьбе f = 0.1 (см. табл. (3.5), тогда

Условие самоторможения: 6,587° > 2°29' - выполняется. Запас достаточный.
8. Высота гайки HГ = ψН * d2 =1, 6-22, 051 = 35, 28 мм.
Принимаем HГ = 36 мм (см. табл. (1.1, ряд Rа40).
9. Диаметр головки воротка DГ = 2 * d2 = 2 * 22, 051 = • 44, 102 мм. Принимаем DГ = 45 мм (см. табл. (1.1, ряд Ra40).
10. Диаметр торца винта dТ < d1 - 0,144 * Р = 20,752 - 0,144 * 3 = 20, 32 мм. Принимаем d = 20 мм (см. табл. (1.1, рад Ra40).
11. Гибкость винта λ = μ * L / i. Так как ψH = HГ / d2 = 36 / 22,051 = 1,63 < 2, гайку считаем шарнирной опорой. Нижняя опора винта также шарнирная.
Расчетная длина сжатого участка винта

Радиус инерции

12. Проверка винта на устойчивость по объединенному условию прочности и устойчивости:

Коэффициент снижения допускаемых напряжений
φ = 0,68 οри λ = 42, 5 (см. табл. 1.8.3).
Допускаемое напряжение сжатия винта
[σ]СЖ = σТ / 3 = 360 / 3 = 120 МПа,
Объединенное условие прочности и устойчивости принимает вид

Условие выполняется, следовательно, винт является прочным и устойчивым.
13. Момент в резьбе

14. Момент на торце винта

где f - коэффициент трения на торце, f = 0, 2 (cм. табл. (3.5);
DсрT - средний диаметр торца винта.
В нашем случае DсрT = dТ / 2 = 20 /2 = 10 мм.
ТТ = 16000 * 0,2 * 10 / 2 = 16000 Н*мм.
15. Момент завинчивания
ТЗАВ = ТР + ТТ = 28162 + 16000 = 44162 Н*мм.
16. Эпюры нормальных сил в крутящих моментов, действующих на винт. приведены на рис. 1.8.4а, б.
17. Длина воротка lВОР. Принимаем FРАБ = 100 Н. Тогда
ТЗАВ = FРАБ * lВОР
lВОР = ТЗАВ / FРАБ = 44162 / 100 = 442 мм
Принимаем 450мм (табл. (1.1, ряд Ra40).
18. Диаметр воротка из условия его прочности по изгибу. Принимаем, что кратковременно рабочий может приложить максимальное усилие FMAX РАБ = 300 Н. Вороток изготовлен из стали 45, у которой предел текучести σT = 360 МПа (см. табл. (1.2). Допускаемое напряжение по изгибу для воротка (при sT = (1, 3)
[σ]И = σТ / sТ = 360 / 1,3 = 277 МПа
Опасное по изгибу сечение воротка А-А показано на рис. 1.8.4 (эпюра изгибающего момента для воротка - на рис. 1.8.4в).

Рис. 1.8.4.
Для этого сечения

откуда.

Принимаем (см. табл. (1.1, ряд Ra 40).






