ПМ12-123 4 5 6 7 8 9
Структура условного обозначения пускателей серии ПМ12
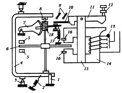
Рис. 3.9. Устройство пускателя типа ПМ12
Пускатель имеет прямоходовую Ш-образную магнитную систему, заключенную в пластмассовый корпус, состоящий из основания 1 и дугогасительной камеры 2, которые соединены между собой двумя пружинными скобами 3.
По направляющим дугогасительной камеры 2 скользит траверса 4, на которой укреплены: якорь 5, мостики главных контактов 6 и вспомогательного контакта 7. Сердечник 8 крепится к основанию 1 при помощи амортизаторов 9, которые служат для смягчения удара во время включения. На крайних кернах сердечника крепятся короткозамкнутые витки 10, обеспечивающие бесшумную работу пускателя, снижая вибрацию контактов. На среднем керне сердечника расположена втягивающая катушка 11, опирающаяся на амортизаторы и возвратная пружина 12.
Для гашения дуги используются П-образные скобы 13, которые установлены в камере. Камера закрывается крышкой 14 с помощью защелок.
Отличительной особенностью новой серии пускателей ПМ12 является крепление их не винтами к вертикальному основанию, а на DIN-рейку.
Пускатели предназначены для применения в качестве комплектующих изделий в схемах управления электроприводами, главным образом для применения в стационарных установках для дистанционного пуска непосредственным подключением к сети, остановки и реверсирования трехфазных асинхронных электродвигателей с короткозамкнутым ротором при напряжении до 660 В переменного тока частоты 50 и 60 Гц.
При наличии теплового реле пускатели осуществляют защиту управляемых электродвигателей от перегрузки недопустимой продолжительности и от токов, возникающих при обрыве одной из фаз.
Для увеличения количества вспомогательных контактов пускатели допускают установку контактных приставок с набором замыкающих и размыкающих контактов.
ПМ12 – обозначение серии;
123 – цифры, указывающие величину магнитного пускателя по номинальному току;
4 – исполнение по назначению и наличию теплового реле:
1 – нереверсивный без теплового реле;
2 – нереверсивный с тепловым реле;
5 – реверсивный без тепловых реле;
6 – реверсивный с тепловым реле;
5 – исполнение по степени защиты и наличию кнопок;
6 – количество и вид контактов вспомогательной цепи;
7 – климатическое исполнение;
8 – категория размещения;
9 – исполнение по износостойкости.
Дистанционное управление асинхронным электродвигателем с помощью электромагнитного пускателя (контактора) представлено на схеме (рис. 3.10) и реверсивного управления на схеме (рис. 3.11).

Рис. 3.10. Схема электрическая принципиальная управления асинхронным электродвигателем
Напряжение сети включается выключателем QS1,тем самым подается напряжение сети на силовую часть схемы и цепи управления.
Для включения электродвигателя необходимо нажать кнопку SB2. При этом катушка электромагнитного пускателя получает питание, пускатель срабатывает – замыкаются главные (силовые) контакты, которые подают напряжение сети на обмотку статора электродвигателя. Электродвигатель начинает вращение. Одновременно замыкаются вспомогательные замыкающие контакты, включенные параллельно контактам кнопки SB2, которые блокируют пусковую кнопку SB2 в результате катушка пускателя будет получать питание через замыкающие контакты пускателя КМ1.

Рис. 3.11. Схема электрическая принципиальная реверсивного управления асинхронным электродвигателем
Для останова электродвигателя достаточно нажать стоповую кнопку SB1. Катушка электромагнитного пускателя теряет питание и пускатель отключается и отключает электродвигатель от сети.
Реверсивное управление асинхронными электродвигателями осуществляется изменением чередования фаз трехфазной электрической сети. Для реализации реверсивного управления потребуются два электромагнитных пускателя один из которых КМ1 подключает напряжение сети к обмотке статора электродвигателя с чередованием фаз А-В-С, а второй КМ2 изменяет чередование фаз в последовательности С-В-А.
ЛЕКЦИЯ 4
Плавкие предохранители. Электротепловые реле. Автоматические
выключатели. Дифференциальные выключатели. Токовые реле
При эксплуатации электрооборудования и электрических сетей длительные перегрузки проводов и кабелей, а также короткие замыкания вызывают повышение температуры токопроводящих жил свыше допустимых значений. Это приводит к преждевременному изнашиванию их изоляции, вследствие чего может произойти пожар или взрыв во взрывоопасных помещениях, а также поражение людей электрическим током.
Для предохранения от чрезмерного нагрева проводов, кабелей и токопроводящих частей электрооборудования каждый участок электрической сети должен быть снабжен защитным аппаратом, обеспечивающим отключение аварийного участка при непредвиденном увеличении токовой нагрузки сверх длительно допустимой.
Аппаратом защиты называется аппарат, автоматически отключающий защищаемую электрическую цепь при ненормальных режимах [1].
К аппаратам защиты относятся: плавкие предохранители, автоматические выключатели, тепловые и токовые реле.
Согласно [1] защита электродвигателей и электрической сети осуществляется от коротких замыканий (КЗ): однофазных, междуфазных и перегрузки.
Защита от коротких замыканий выполняется обязательно для всех электродвигателей (электроприемников) и электрических сетей.
Защита от перегрузки выполняется для электродвигателей продолжительного режима работы, за исключением случаев, когда такая перегрузка маловероятна (электродвигатели вентиляторов,
насосов и т.д.).
Для электродвигателей, работающих в повторно – кратковременном режиме, например, грузоподъемные механизмы, защита от перегрузки не выполняется.
Плавкие предохранители. Предохранитель – это коммутационный электрический аппарат, предназначенный для отключения защищаемой цепи разрушением специально предусмотренных для этого токоведущих частей под действием тока, превышающего определенное значение.
В плавких предохранителях отключение цепи происходит за счет расплавления плавкой вставки, которая нагревается протекающим через нее током защищаемой цепи. После отключения цепи необходимо заменить плавкую вставку исправной.
Предохранитель включается последовательно в защищаемую цепь, а для создания видимого разрыва электрической цепи и безопасного обслуживания совместно с предохранителями применяются неавтоматические выключатели или рубильники.
Предохранители изготавливаются на напряжение переменного тока 42, 220, 380, 660 В и постоянного тока 24, 110, 220, 440 В.
Основными элементами предохранителя являются корпус, плавкая вставка (плавкий элемент), контактная часть, дугогасительное устройство и дугогасительная среда.
Предохранители характеризуются номинальным током плавкой вставки, т.е. током, на который рассчитана плавкая вставка для длительной работы. В один и тот же корпус предохранителя могут быть вставлены сменные плавкие элементы на различные номинальные токи, поэтому сам предохранитель характеризуется номинальным током предохранителя (основания), который равен наибольшему из номинальных токов плавких вставок, предназначенных для данной конструкции предохранителя. Например, предохранители серии ПН2 и ПР2 имеют сменные плавкие вставки. Так предохранитель серии ПН2-100 имеет корпус рассчитанный на ток до 100 А и сменные плавкие вставки на токи 30, 40, 50, 60, 80, 100 А.
Предохранители до 1 кВ изготавливаются на номинальные токи до 1000 А.
В нормальном режиме тепло, выделяемое током нагрузки в плавкой вставке, передается в окружающую среду и температура всех частей предохранителя не превышает допустимую. При перегрузке или КЗ температура вставки увеличивается и она расплавляется. Чем больше протекающий ток, тем меньше время плавления. Зависимость времени плавления плавкой вставки от величины тока (кратности тока срабатывания по отношению к номинальному току плавкой вставки) называется защитной (время – токовой) характеристикой предохранителя (рис. 4.1.). При одном и том же токе время плавления плавкой вставки зависит от многих причин (материала вставки, состояния ее поверхности, условий охлаждения и т.д.). Чтобы уменьшить время срабатывания предохранителя, применяются плавкие вставки из разного материала, специальной формы, а также используется металлургический эффект.
Наиболее распространенными материалами плавких вставок являются медь, цинк, алюминий, свинец и серебро.
Медные вставки подвержены окислению, их сечение со временем уменьшается и защитная характеристика предохранителя изменяется. Для уменьшения окисления обычно применяют луженые медные вставки. Температура плавления меди 1080°С, поэтому при токах, близких к минимальному току плавления, температура всех элементов предохранителя значительно возрастает.
Цинк и свинец имеют низкую температуру плавления (419ºС и 327°С), что обеспечивает небольшой нагрев предохранителей в продолжительном режиме.
Рис. 4.1. Защитная характеристика плавкого предохранителя
Цинк стоек к коррозии, поэтому сечение плавкой вставки не меняется во время эксплуатации, защитная характеристика остается постоянной. Цинк и свинец имеют большие удельные сопротивления, поэтому плавкие вставки оказываются большого сечения. Такие плавкие вставки обычно применяются в предохранителях без наполнителей. Предохранители со вставками из цинка и свинца имеют большие выдержки времени при перегрузках.
Серебряные вставки не окисляются, и их характеристики наиболее стабильны.
Алюминиевые вставки применяются в предохранителях в связи с дефицитом цветных металлов. Высокое сопротивление окисных пленок на алюминии затрудняет осуществление надежного разъемного контакта. Алюминиевые вставки находят применение в новых конструкциях предохранителей серии ПП31.
При больших токах плавкие вставки предохранителей выполняются из параллельных проволок или тонких медных полос.
Для ускорения плавления вставок из меди и серебра используется металлургический эффект – явление растворения тугоплавких металлов в расплавленных, менее тугоплавких. Если, например, на медную проволоку диаметром 0,25 мм напаять шарик из оловянно-свинцового сплава с температурой плавления 182°С, то при температуре проволоки 650°С она расплавится в течение 4 мин, а при 350°С – в течение 40 минут. Та же проволока без растворителя плавится при температуре не менее 1000°С [7]. Для создания металлургического эффекта на медных и серебряных вставках применяют чистое олово, обладающее более стабильными свойствами. В нормальном режиме работы шарик практически не влияет на температуру вставки.
Рис 4.2. Плавкий предохранитель серии ПР2:
а) – патрон; б) – формы плавких вставок
Ускорение плавления вставки достигается также применением плавкой вставки специальной формы (рис. 4.2, б). При токах КЗ узкие участки нагреваются настолько быстро, что отвод тепла почти не происходит. Вставка перегорает одновременно в нескольких суженных местах (сечение А – А и В – В, рис. 4.2, б) прежде чем ток КЗ достигнет своего установившегося значения в цепи постоянного тока или ударного тока в цепи переменного тока (рис. 4.3).
![]() |
Рис. 4.3. Токоограничивающий эффект плавких вставок предохранителей: а – при постоянном токе; б – при переменном токе
Ток КЗ при этом ограничивается до значения
(в 2 … 5 раз). Такое явление называется токоограничивающим действием и улучшает условия дугогашения в предохранителях.
Гашение электрической дуги, возникающей после перегорания плавкой вставки, должно осуществляться в возможно короткое время. Время гашения дуги зависит от конструкции предохранителя.
Наибольший ток, который плавкий предохранитель может отключать без каких-либо повреждений или деформаций, называется предельным током отключения.
Предохранители получили широкое применение для защиты электродвигателей, электрооборудования, электрических сетей в промышленных, бытовых электроустановках и имеют различную конструкцию.
Плавкие предохранители наряду с простотой их устройства и малой стоимостью имеют ряд существенных недостатков:
не могут защитить линию от перегрузки, так как допускают длительную перегрузку до момента плавления;
не всегда обеспечивают избирательную защиту в сети вследствие разброса их характеристик;
при коротком замыкании в трехфазной сети возможно срабатывание одного из трех предохранителей и линия остается работать на двух фазах.
В этом случае трехфазные электродвигатели, подключенные к сети, оказываются включенными на две фазы, а это приводит к перегреву обмоток электродвигателей и их выходу из строя.
Предохранители с закрытыми разборными корпусами (патронами) без наполнителя серии ПР2 (рис. 4.2) изготавливаются на напряжение 220 и 500 В и номинальные токи 100 … 1000 А. Патрон предохранителя ПР2 (рис. 4.2, а) на токи 100 А и выше состоит из толстостенной фибровой трубки 1, на которую плотно насажены латунные втулки 3, имеющие мелкую резьбу. На трубки навинчиваются латунные колпачки 4, которые закрепляют плавкую вставку 2, привинченную к ножам 6, до установки ее в патрон. В предохранителях этой серии предусмотрена шайба 5, имеющая паз для ножа и предотвращающая поворот ножей.
Патрон вставляется в неподвижные контактные стойки, укрепленные на изоляционной плите. Необходимое контактное нажатие обеспечивается пружинами.
Плавкие вставки изготавливаются из цинка в виде пластины с вырезами. На суженных участках выделяется больше тепла, чем на широких. При номинальном токе избыточное тепло благодаря теплопроводности цинка передается широким частям, поэтому вся вставка имеет примерно одинаковую температуру. При перегрузках нагрев узких участков происходит быстрее, и вставка плавится в самом горячем месте (сечение А – А, рис. 4.2, б).
При КЗ вставка плавится в узких сечениях А – А и В – В. Возникающая дуга вызывает образование газов (50% СО2 , 40% Н2, 10% паров Н2О), т.к. стенки патрона выполнены из газогенерирующего материала - фибры. Давление в зависимости от отключаемого тока может достигать 10 МПа и более, что обеспечивает быстрое гашение дуги и токоограничивающее действие предохранителя. Для уменьшения возникающего при отключении тока КЗ перенапряжения плавкая вставка имеет несколько суженных мест. При их поочередном плавлении полная длина дугового промежутка вводится в цепь не сразу, а ступенями.
Предохранители насыпные серии ПН2 (рис. 4.4) широко применяются для защиты силовых цепей до 500 В переменного и 440 В постоянного тока и выпускаются на номинальные токи
100 … 1000 А.
![]() |
Рис. 4.4. Плавкий предохранитель серии ПН2
Фарфоровая, квадратная снаружи и круглая внутри, трубка 1 имеет четыре резьбовых отверстия для винтов, с помощью которых крепится крышка 4 с уплотняющей прокладкой 5. Плавкая вставка 2 приварена электроконтактной точечной сваркой к шайбам контактных ножей 3. Крышки с асбестовыми прокладками герметически закрывают трубку. Трубка заполнена сухим кварцевым песком 6. Плавкая вставка выполнена из одной или нескольких медных ленточек толщиной
и шириной до 4 мм. На вставке сделаны прорези 7, уменьшающие сечение вставки в 2 раза. Для снижения температуры плавления вставки используется металлургический эффект – на полоски меди напаяны шарики олова 8, температура плавления в этом случае не превышает 475°С, дуга возникает в нескольких параллельных каналах (в соответствии с числом вставок); это обеспечивает наименьшее количество паров металла в канале между зернами кварца и наилучшие условия гашения дуги в узкой щели. Насыпные предохранители, так же как предохранители серии ПР2, обладают токоограничивающим свойством.
Для уменьшения возникающих перенапряжений плавкая вставка имеет по длине прорези, причем их количество зависит от номинального напряжения предохранителя (из расчета
на участок между прорезями). Так как вставка сгорает в узких местах, то длинная дуга оказывается разделенной на ряд коротких дуг, суммарное напряжение, которых не превышает суммы катодных и анодных падений напряжения [7].
Наполнителем в предохранителях серии ПН является чистый кварцевый песок (99 % SiO2). Вместо кварца может быть применен мел (СаСО3), иногда его смешивают с асбестовым волокном. При возникновении дуги мел разлагается с выделением углекислого газа СО2 и СаО – тугоплавкого материала. Реакция происходит с поглащением энергии, что способствует гашению дуги.
Предельный отключаемый ток предохранителей серии ПН2 достигает 50 кА.
Насыпные предохранители серии НПН имеют неразборный стеклянный патрон без контактных ножей и рассчитаны на токи до 60 А.
Взамен предохранителей ПН2 разработаны предохранители серии ПП-31 с алюминиевыми вставками на номинальные токи 63 – 1000 А и имеющие предельный ток отключения до 100 кА при напряжении 660 В.
Предохранители серии ПП-17 изготавливаются на токи
, напряжение переменного тока 380 В и постоянного тока 220 В. Предельная отключающая способность предохранителей
ПП-17
. Предохранитель состоит из плавкого элемента, помещенного в керамический корпус, заполненный кварцевым песком, указателя срабатывания и свободного контакта. При расплавлении плавкого элемента предохранителя перегорает плавкий элемент указателя срабатывания, освобождая введенный при сборке указателя боек, который переключает свободный контакт, и замыкается цепь сигнализации срабатывания предохранителя.
Для защиты полупроводниковых приборов разработаны быстродействующие предохранители серии ПП-41, ПП-57, ПП-59, ПП-71. Эти предохранители выполняются с плавкими вставками из серебряной фольги в закрытых патронах с засыпкой кварцевым песком. Они рассчитаны на установку в цепях переменного тока напряжением
и постоянного тока
. Электротехническая промышленность изготавливает предохранители на номинальные токи
, предельные токи отключения до 200 кА. Эти предохранители обладают эффективным токоограничивающим действием.
В схемах управления станков, механизмов, машин, а также в системах электроснабжения жилых и общественных зданий широко применяются пробочные плавкие предохранители серии ПРС. Номинальный ток корпуса 6; 25; 63; 100 А.
Плавкие предохранители серии ППНИ
![]() |
Рис….. Внешний вид предохранителя серии ППНИ
Электротепловые реле. Для защиты электрических двигателей и другого электрооборудования от длительных перегрузок широко распространены тепловые реле с биметаллическими элементами. Биметаллический элемент состоит из двух пластин с различным коэффициентом линейного расширения (
) при нагревании. Пластины жестко скреплены друг с другом за счет проката в горячем состоянии, либо контактной сваркой. В качестве материалов для термобиметаллических элементов применяются такие материалы, как инвар, имеющий малое значение
, и хромоникилевая (нержавеющая) сталь, имеющая большое значение
.
Если биметаллический элемент закрепить с одной стороны неподвижно и нагреть, то произойдет изгибание пластины в сторону материала с меньшим коэффициентом линейного расширения
. Изгибаясь, биметаллическая пластина, действует на защелку и при этом происходит переключение контактов реле. Тепловые реле могут иметь размыкающий или размыкающий и замыкающий контакты. В схемах управления и защиты электродвигателей используются замыкающие контакты реле, действующие на срабатывание сигнального устройства, или размыкающие контакты реле – на отключение электродвигателя от сети.
Нагрев биметаллического элемента может производиться за счет тепла, выделяемого прохождением тока нагрузки в самой пластине или в специальном нагревательном элементе. Из-за инерционности теплового процесса тепловые реле, имеющие биметаллический элемент, непригодны для защиты цепей от токов коротких замыканий (КЗ). Нагревательные элементы в данном случае могут перегореть до срабатывания реле. Поэтому защита с помощью тепловых реле должна быть дополнена плавкими предохранителями или автоматическими выключателями.
Выпускаются тепловые реле однополюсные серии ТРП, двухполюсные – ТРН и трехполюсные серии РТЛ. В схемах электротехнических устройств тепловые реле устанавливаются индивидуально или в комплекте с магнитными пускателями.
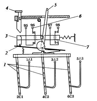
Электротепловые реле серии РТЛ (рис. 4.5) имеют трехполюсную конструкцию, т.е. тепловые биметаллические элементы установлены в трех фазах. Реле имеет следующие основные детали: термобиметалличесие элементы 1, установленные в каждой фазе, пружина-защелка 2 контактной системы 6 и 7, устройство самовозврата контактов 3, кнопка ручного возврата подвижных контактов 4, регулятор уставок тока, неподвижные контакты 6 и подвижные контакты 7. Включение реле в исходное положение осуществляется кнопкой ручного возврата контактов 4.
Рис. 4.5. Электротепловое реле серии РТЛ
При перегрузке, когда ток электродвигателя увеличивается в 1,2 … 1,3 раза тока номинального уставки реле
, термобиметаллические элементы 1 нагреваются и, изгибаясь, воздействуют на пружину – защелку 2, которая освобождает устройство самовозврата контактов 3. Происходит переключение контактов 6 и 7.
Электротепловые реле серии РТЛ выпускаются, на различные токи уставки срабатывания в диапазоне от 0,1 до 200 А.
Устанавливаются в комплекте с магнитными пускателями серии
ПМЛ и имеют выводы для присоединения к пускателю, обозначенные – 1Л1, 3Л2, 5Л3 и клеммные зажимы – 2С1, 4С2, 6С3 для подключения асинхронных электродвигателей.
Схема установки аппаратов защиты от коротких замыканий в сети и перегрузки электродвигателя приведена на рисунке 4.6.

Рис. 4.6. Схема электрическая принципиальная
ЛЕКЦИЯ 5
Автоматические выключатели
Автоматические выключатели. Токовые реле. Микропроцессорная
защита электродвигателей. Дифференциальные выключатели (УЗО)
Автоматический выключатель предназначен для коммутации цепей при аварийных режимах, а также нечастых (от 6 до 30 в сутки) оперативных включений и отключений электрических цепей.
Автоматические выключатели, не обладая недостатками плавких предохранителей, обеспечивают быструю и надежную защиту электрической сети от токов перегрузки и короткого замыкания. Таким образом, автоматические выключатели выполняют одновременно функции защиты и управления.
Автоматические выключатели имеют реле прямого действия, называемые расцепителями, которые обеспечивают отключение при перегрузках, КЗ. Отключение может происходить без выдержки времени или с выдержкой. Автоматические выключатели характеризуются собственным временем отключения
– это промежуток времени от момента, когда контролируемый параметр превзошел установленное для него значение, до момента начала расхождения контактов. Различают нормальные выключатели
, а некоторые серии и до 1 с, с выдержкой времени – (селективные) и быстродействующие выключатели
.
Нормальные и селективные выключатели не обладают токоограничивающим действием. Токоограничивающим действием обладают быстродействующие автоматические выключатели, так как отключают цепь до того, как ток в ней достигает максимального значения ударного тока
.
Селективные автоматические выключатели позволяют осуществить селективную защиту сетей путем установки автоматических выключателей с разными выдержками времени: наименьший у потребителя и ступенчато возрастающей к источнику питания.
Для выполнения защитных функций выключатели снабжаются тепловыми расцепителями, или электромагнитными, либо комбинированными (тепловые и электромагнитные) расцепителями. Тепловые расцепители предназначены для защиты цепей от токов длительной перегрузки, а электромагнитные от токов короткого замыкания. В зависимости от характера изменения режима работы элемента сети от нормального режима срабатывают встроенные в аппарат тепловые или электромагнитные расцепители.
Действие тепловых расцепителей, встраиваемых в выключатель, основано на использовании нагрева биметаллической пластинки, изготовленной из спая двух металлов с различными коэффициентами теплового линейного расширения. В расцепителе при токе, превышающем ток, на который они рассчитаны, одна из пластин при нагреве удлиняется больше, в результате чего воздействует на отключающий пружинный механизм и коммутирующие контакты размыкаются.
Тепловой расцепитель автоматического выключателя не защищает электрическую сеть или электродвигатель от короткого замыкания. Это объясняется тем, что они, обладая большой тепловой инерцией, не успевают нагреться за столь малое время от тока короткого замыкания или пускового тока электродвигателя.
Электромагнитный расцепитель представляет собой электромагнит, воздействующий на отключающий пружинный механизм. Если ток в катушке электромагнита превышает определенное, заранее установленное значение, то электромагнитный расцепитель отключает коммутирующее устройство и в результате отключает линию мгновенно.
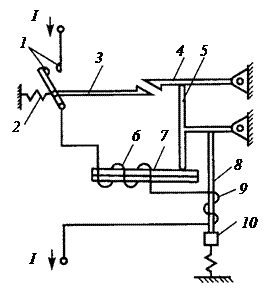
Схема автоматического выключателя с комбинированным расцепителем приведена на рис. 5.1. Для включения автоматического выключателя нажимают кнопку (выключатели серии АП50Б) или поворачивают рычаг (выключатели серии АЕ1000, АЕ2000, А3700, ВА) при этом замыкаются контакты 1 и защелка 3, 4 входит в зацепление.
![]() |
Рис. 5. 1. Схема автоматического выключателя
При номинальном режиме ток нагрузки проходит по контактам 1, нагревательному элементу 6 теплового биметаллического расцепителя, катушке 9 электромагнитного расцепителя к электроприемнику.
При возникающей перегрузке ток, проходя по нагревателю теплового реле, нагревает биметаллическую пластинку 7, которая изгибается и действует на рычаг 5, рычаг приподнимает защелку 4, защелка освобождается и при этом под действием пружины 2 контакты 1 выключателя размыкаются.
При коротком замыкании электромагнит 9 электромагнитного расцепителя мгновенно втягивает сердечник 10 и толкателем 8 воздействует на рычаг 5 – происходит автоматическое отключение выключателя.
Автоматические выключатели характеризуются номинальным напряжением (максимальное напряжение сети, при котором еще допускается применять данный аппарат) и номинальным током (максимальный ток, указанный в паспорте, который выдерживает выключатель неограниченное время).
Расцепители, встроенные в выключатель, характеризуются номинальным током, который они выдерживают длительное время. Наименьший ток, вызывающий отключение выключателя, называют током трогания или срабатывания, а настройку расцепителя на заданный ток срабатывания – уставкой тока. Уставку тока электромагнитного расцепителя настроенная на мгновенное срабатывание называют отсечкой.

Рис. 5.2. Защитная характеристика автоматического выключателя
Автоматические выключатели характеризуются временем срабатывания. Времятоковая характеристика (защитная характеристика) автоматического выключателя приведена на рис. 5.2. Защитная характеристика имеет два участка АВ и СD. Электромагнитные расцепители имеют обратнозависимую от тока выдержку времени при перегрузках (участок АВ) и независимую выдержку времени при токах КЗ (участок CD).
В системах электроснабжения промышленных предприятий, общественных и жилых зданий, в схемах управления станков, механизмов, машин широко применяются автоматические выключатели серий АП50Б, АЕ1000, АЕ2000, А3700 и полностью заменяющие их автоматические выключатели серии ВА51, ВА52, ВА53, ВА55, ВА75.
Защитная характеристика реального автоматического выключателя серии ВА 88-32 приведена на рис. 5.3.
![]() |
Рис. 5.3. Времятоковая (защитная) характеристика автоматического выключателя серии ВА88-32
Автоматические выключатели ВА47-29
![]() |
Рис.
Электромагнитные реле мгновенного действия серии РТ-40. Эти реле применяются в схемах максимально-токовой защиты систем электроснабжения и другого электрооборудования. Конструкция реле приведена на рис. 5.4. Реле состоит из электромагнита 1, обмотки из двух катушек 2, якоря 5, укрепленного на оси с подвижным мостом 3, и спиральной противодействующей пружины 4.
Работает реле следующим образом, когда электромагнитная сила реле больше механической силы пружины, якорь притягивается к электромагниту, при этом подвижный контактный мост 3 замыкает одну пару контактов и размыкает вторую пару неподвижных контактов.

Рис. 5.4. Реле максимального тока серии РТ-40:
а) – общий вид (1 – магнитопровод; 2 – катушки; 3 – подвижный контактный мостик; 4 – пружина; 5 – якорь; 6 – неподвижные контакты; 7 – изолированная колодка; 8 – шкала; 9 – указатель; 10 – пружинодержатель; 11 – втулка; 12 – хвостовик; 13 – гаситель колебаний; 14 – ось; 15 – упоры); б) – схемы соединения обмоток реле
Уставка срабатывания реле серии РТ-40 плавно регулируется натяжением пружины 4 и ступенчато переключением катушек обмотки с последовательной схемы на параллельную (рис. 5.4, б), при этом значение шкалы реле изменяется в два раза.
Пределы уставок тока срабатывания реле при последовательном соединении катушек составляют
, при параллельном соединении –
.
Реле тока серии РТ-80. Комбинированное реле тока имеет в своей конструкции индукционный воспринимающий элемент, действующий с выдержкой времени, зависимой от тока, и электромагнитный воспринимающий элемент мгновенного действия (отсечка), срабатывающий при больших значениях тока. Выпускаются следующие реле этой серии: РТ-81, …, РТ-86, РТ-91 и РТ-95. Все они аналогичны по устройству и принципу действия, но отличаются характеристиками, числом или конструкцией контактов. Реле РТ-81 и РТ-82 имеют один замыкающий контакт, а реле РТ-85 и РТ-86 – усиленные переключающие контакты. Реле РТ-83 и РТ-84 имеют два замыкающих контакта (главный – срабатывающий от электромагнитного элемента и сигнальный – действующий от индукционного элемента). Реле
РТ-91 имеет только один замыкающий контакт обычного исполнения, а реле РТ-95 – усиленный переключающий контакт.
Индукционное реле серии РТ-80 имеет два релейных элемента – индукционный и электромагнитный (рис. 5.5).

Рис. 5.5. Индукционное реле серии РТ-80
Индукционный элемент состоит из электромагнита 14 с короткозамкнутыми витками 16 и диска 6, ось которого находится в подшипниках 8, установленных на рамке 4. Рамка поворачивается на осях 3 и пружиной 2 удерживается в крайнем положении, т.е. пружиной к упору 1. На ось диска насажен червяк 18. В исходном положении рамки сегмент 7, имеющий червячные зубья, не находится в зацеплении с червяком и контакты 9 реле разомкнуты.
При протекании по обмотке реле тока
диск медленно начинает вращаться под действием электромагнитного момента, создаваемого током реле. Рамка поворачивается, червяк входит в зацепление с зубьями сегмента и начинает постепенно подниматься, преодолевая усилие пружины 17, и специальной планкой 10 замыкает контакты реле. Время срабатывания реле регулируется начальным положением зубчатого сегмента при помощи винта, укрепленного на шкале времени. Чем больше сила тока
в обмотке электромагнита, тем быстрее будет вращаться диск, и тем меньше будет выдержка времени срабатывания контактов. Токи срабатывания индукционного элемента
регулируется изменением числа витков обмотки (перестановкой контактного витка 13 на контактной колодке);
; время срабатывания –
.
Электромагнитный элемент реле РТ-80 состоит из ярма, электромагнита 15 и якоря 11. При протекании по обмотке реле тока
якорь втягивается и без выдержки времени (отсечкой) замыкает контакты реле. Таким образом, электромагнитный элемент может действовать совместно с индукционным элементом или самостоятельно.
Электромагнитный элемент действует при больших токах, как бы отсекая часть характеристики реле, поэтому действует с отсечкой. Ток отсечки
. Токи срабатывания электромагнитного элемента регулируется изменением количества витков обмотки и положения регулировочного винта 12 тока серии РТ-80.
Дифференциальный выключатель предназначен для повышения безопасности эксплуатации человеком электрооборудования (бытового и промышленного) в электрической сети переменного тока частотой 50 Гц в системе электроснабжения с заземленной нейтралью. Дифференциальный выключатель или устройство защитного отключения (УЗО) используют в качестве «аварийной» защиты от поражения электрическим током, в случае прямого прикосновения человека к токоведущим частям или оказавшимся под напряжением в результате повреждения изоляции. При токе равном или превышающем уставку время срабатывания выключателя не превышает 0,1 с.
При использовании дифференциального выключателя (УЗО) необходимо последовательно с ним включать автоматический выключатель аналогичного или большего номинала или плавкие предохранители, так как конструкция выключателя (УЗО), не предусматривает защиты от короткого замыкания (сверхтоков).
|
а б
|
Рис.
Производятся выключатели двух и четырехполюсного исполнения и имеют варианты исполнения на восемь номинальных токов – 16, 25, 32, 40, 50, 63, 80, 100 А.
Устройства защитного отключения работают на основе функции дифференциального тока (разницы между прямым и обратным током, возникающим при утечке на землю). Дифференциальный трансформатор тока 3 (рис. 5.6) служит сигнализатором (датчиком) наличия тока утечки. Геометрическая сумма токов, протекающих по первичной обмотке трансформатора в нормальном режиме работы, равна нулю:
. При утечке тока равновесие их в первичной обмотке нарушается:
(отключающий дифференциальный ток). Тогда в магнитопроводе трансформатора создается магнитный поток, индуцирующий ток во вторичной обмотке, который приводит в действие механизм отключения УЗО.
![]() |
Рис. 5.6. Схема включения УЗО в сеть:
1 – исполнительный механизм; 2 – блок управления (усилитель);
3 – датчик дифференциального тока (дифференциальный трансформатор); 4 – кнопка тест-контроль; 5 – трехфазный электроприемник
Для осуществления периодического контроля исправности (работоспособности) УЗО предусмотрена цепь тестирования 4. При нажатии кнопки «ТЕСТ» искусственно создается отключающий дифференциальный ток. Срабатывание УЗО означает, что оно в целом исправно.
ЛЕКЦИЯ 6






