Основным расчетным параметром червячка является осевой модуль
.
Делительный диаметр червяка
,
где: g – коэффициент диаметра червяка, значения m и g стандартизитованы.
Число заходов червяка z1 = 1; 2; 4.
Делительный угол подъема витка червяка
, tg
=z1/g.

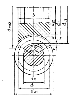
Рис. 15.4. Геометрические параметры червячной передачи.

Рис.15.5. Скольжение в передаче: vk – линейная скорость витка колеса; vr – линейная скорость витка червяка; vs – скорость взаимного скольжения.
Осевой модуль червяка равен торцевому модулю червячного колеса.
Диаметр делительной окружности колеса
.
Диаметр вершин зубьев в среднем сечении
.
Диаметр впадин червячных колес в среднем сечении
.
Наибольший диаметр червячного колеса
.
Зубья колес имеют вогнутую форму и охватывают червяк по дуге с углом 2δ.
Ширина венца b.
Межосевое расстояние передачи
.
Число зубьев червячного колеса z2.
Передаточное число червячной передачи
; z2=30-80; z1=1; 2; 4. Тогда u=8...80.