Конструкция сборного призменного дефлектора представлена на рис. 11.3. Дефлектор выполнен в виде вала 1, установленного в опорах, в качестве которых использованы шариковые подшипники, имеющие биение внутреннего кольца относительно наружного не более 1 мкм. Подшипники 2 размещены в корпусе 3. На верхнем конце вала 1 укреплен шестигранный венец 4 с установленными на его боковых гранях разрезными опорами 5. Каждая из опор снабжена винтами б, предназначенными для поворота и фиксации наружной плоскости опор относительно горизонтальных осей при регулировке дефлектора. К наружным плоскостям опор с помощью клея крепятся зеркала 7. Вращение дефлектора осуществляется от электродвигателя через шкив 8, установленный на валу 1, и ремень с круглым сечением.

Рис. 11.3. Конструкция сборного призменного дефлектора.
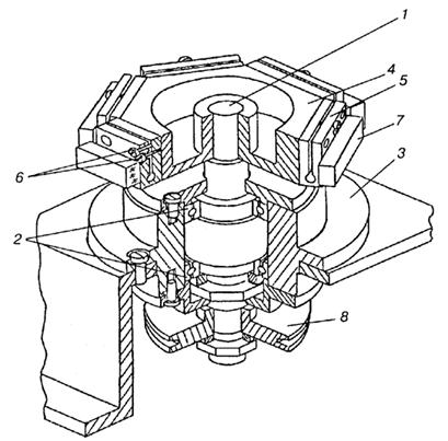
Сборные дефлекторы сложны в юстировке. Так, например, сборный пирамидальный пятигранный дефлектор лазерного фотонаборного автомата «Лазеркомп» должен быть отрегулирован с точностью, обеспечивающей разброс в угле наклона зеркальных граней не более 0,2", Конструкция этого дефлектора представлена на рис. 11.4. Грани 9 имеют отражающее алюминиевое покрытие, которое нанесено вакуумным напылением в камере. Толщина покрытия является очень критичной: если оно слишком тонкое, то возможно появление точечных отверстий в нем; если же оно слишком толстое, то будут потери в отражающей способности.
|
|
|
Основания граней притираются, чтобы обеспечить высокую степень плоскостности. Стопорные винты 10 вставляются на точную глубину по периферии платформы многогранника - по два на каждой грани. Затем грани устанавливаются на ю платформе таким образом, чтобы основание их размещалось на шлифовальных подушках 5 и 11, которые образуют часть детали платформы. Наружный край граней располагается под головками стопорных винтов 10. В центральной зажимающей втулке на основании граней расположено неопреновое кольцо 4. Стальная муфта и гайка 3 затягиваются вниз на неопреновое кольцо, заставляя его расширяться на основании грани до тех пор, пока оно не будет остановлено стопорным винтом 10. Таким образом достигается надежная и точная установка каждой грани.

Рис. 11.4. Конструкция сборного пирамидального дефлектора.
Неопреновая шайба 2, прикрепленная к стальной шайбе 8, помещается над зажимающей втулкой таким образом, чтобы шайбы располагались на верхней поверхности граней. Зажимающая гайка I затягивается вниз, для того чтобы обеспечить надежную установку граней на шлифовальные подушки 5 и 11. Теперь грани прочно закреплены на опорной платформе. Затем узел многогранника динамически сбалансируется за счет вставки комплекта винтов М4 в отверстия с внутренней резьбой снизу платформы 7. Высокоточные подшипники устанавливаются на полый вал дефлектора и прирабатываются на частоте вращения 3000 об/мин в течение 40 ч.
|
|
|
Винтовые домкраты 6 платформы затем регулируются таким образом, чтобы угол наклона граней установился 45° с точностью ±0,2". Малейшее движение грани заглушается неопреновым кольцом и шайбой.
Все подшипники в узле дефлектора набиты специальной смазкой, срок службы которой превышает срок службы дефлектора, поэтому в дальнейшем ни одна из его частей не нуждается в смазке.
Единственной возможной настройкой при обслуживании является перемещение винтовых домкратов 6 платформы. Все другие винты и гайки дефлектора не требуют обслуживания, а подшипники могут быть заменены только на заводе-изготовителе.
Одним из эффективных решений повышения точности записи изображения является применение в качестве одногранного вращающегося зеркала пентапризмы 1 (рис. 11.5), установленной непосредственно на валу электродвигателя 2. Оптическая особенность пентапризмы заключается в том, что угол между входящим и выходящим лучами всегда составляет 90°, независимо от того, как точно расположены входная и выходная грани. Это позволяет существенно снизить требования к точности установки вращающейся пентапризмы на валу электродвигателя.

Рис. 11.5. Дефлектор в виде вращающейся пентапризмы при неточной (а) и точной (б) установке на валу электродвигателя.






