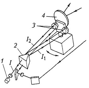
Известны сканирующие устройства, в которых применен лазерный интерферометр с несимметричным ходом лучей относительно оси поворота колеблющегося зеркального дефлектора (рис. 12.2). Это достигается установкой двух отражателей 3 на качающемся зеркале 4 на одинаковом расстоянии от оси его качания. Регистрация углового положения зеркала 4 осуществляется счетом интерференционных полос во входном зрачке фотодатчика 2. Полосы возникают в результате наложения двух когерентных излучений с интенсивностью
и
, которые образованы путем разделения светоделительной призмой 2 вспомогательного лазерного луча сканирующего устройства.

Рис. 12.2. Схема интерференционного датчика угла поворота зеркала.
При интерференции наблюдается перераспределение интенсивности света в полосах интерференционной картины. Выражение для полной интенсивности имеет следующий вид:
, (12.1)
где
- оптическая разность хода интерферирующих волн. Максимум и минимум интенсивности соответственно:
|
|
|
, (12.2)
при
.
, (12.3)
при
.
Следовательно, интенсивность будет изменяться от минимального значения
до максимального 
Интерферометры измеряют угловые перемещения зеркала в диапазоне углов до ± 15° с дискретностью отсчета 0,1.






