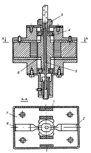
Колебательный дефлектор (рис. 11.2) включает в себя зеркало и электромагнитный привод вибрационного типа. В качестве привода применен магнитоэлектрический вибратор, который состоит из ротора 8 и статора 7. Статор набран из листов электротехнической стали. Между полосами статора расположены постоянные магниты 2 и 6, создающие магнитный поток между полюсами статора и ротора. На каждом полюсе статора установлена катушка 1 из медной проволоки.
Внутри полого вала ротора проходит упругий стержень-тор-сион 5. Верхний конец торсиона запрессован в ротор, нижний зажат штангой. Жестко связанный со статором торсион служит для повышения резонансной частоты ротора. Ротор установлен на двух опорно-радиальных подшипниках 4. К верхнему концу вала крепится оправка 3 с зеркалом.

Рис. 11.2. Конструкция колебательного дефлектора.
Световой пучок, поступивший на зеркало дефлектора, отклоняется при подаче на катушки вибратора управляющего напряжения, которое изменяет магнитный поток в зазоре ротор-статор, создавая тем самым парусил, поворачивающих ротор.






