Цель работы
Измерение температуры с помощью терморезистора и термопары.
Лекция № 0
Контрольная работа
Консультации с преподавателями, которые ведут лабораторные работы.
Консультации по курсовой работе.
Консультации по курсовой работе проводят преподаватели каф ИТФ после 6 – ой недели. Консультации проводят преподаватели, которые ведут лабораторные работы в данной группе (см. выше).
К Курсовой работе необходимо самостоятельно освоить материал по лекциям и указанной литературе. Студенты представляют отчет на 13 – 15стр. и защищают курсовую работу.
Имеется электронный раздаточный материал – конспект лекций по основным разделам курса.
Текущая проверка знаний в течение семестра.
Литература.
Буринский В.В., Измерения и обработка результатов, М., МНЭПУ, 2000, 156 с.
Преображнский В.П. Теплотехнические измерения и приборы. 3-е издание. Москва, Изд. Энергия, 1978 год, 704 стр.
Иванова Г.М. Кузнецов Н.Д., Чистяков В.С. Теплотехнические измерения и приборы. Переработанное издание. Москва, Изд. Энергия, 2008 год, 304 стр.
|
|
|
Рабинович С.Г., Погрешность измерений. – Ленинград, Изд. Энергия. 1978г.,- 262 с.
Н.Г. Назаров, Метрология, М., Изд. Высшая школа, 2002, 348 с.
Виноградова, Гайдученко, Свиридов и др. Основы построения информационно-измерительных систем. М., Изд. МЭИ, 2004
Сычев Е.И. Основы метрологии военной техники. М. Воениздат, 1993
Комов А.Т., Федорович С.Д. Методы получения и измерения высокого и сверхвысокого вакуума. М. Изд-во МЭИ, 2000, 63 с.
Пипко А.Б. и др. Конструирование и расчет вакуумных систем. М. Энергия,1970, 504 с.
Розанов Л.Н. Вакуумная техника М.: Высш. Шк. 1990, 320 с.
Работа направлена: 1) на изучение методов измерения температуры с помощью терморезистора, термопары и цифрового термометра, 2) на освоение работы экспериментального стенда, 3) на выполнение градуировки термопары с помощью термометра сопротивления и 4) на поверку цифрового термометра.
Из курса физики известно, что электрическое сопротивление проводника R однозначно зависит от температуры T
R=R 0 (1 + a(T - T 0) +...), (2.1)
где R 0 - сопротивление проводника при температуре T 0, выбранной за начало отсчета, a-температурный коэффициент электрического сопротивления.
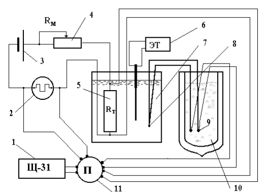
На рис. 2.1 показан термометр сопротивления - терморезистор 5, изготовленный из платиновой проволоки и включенный в цепь последовательно с катушкой 2, источником напряжения 3 и магазином сопротивлений 4.
Метод измерения температуры, T, вещества с помощью терморезистора состоит в том, что приводят термодатчик в состояние теплового равновесия с веществом, измеряют сопротивление резистора, R, и вычисляют температуру вещества по расчетному уравнению T (R).
|
|
|
На схеме (рис. 2.1) терморезистор 5 находится в контакте с водой. Блоки установки (катушка 2, источник напряжения 3 и магазин сопротивлений 4) позволяют оператору осуществить режимные и измерительные действия для получения первичных данных (R) для вычисления температуры по расчетному уравнению T (R).
Из курса физики известно, что термоэлектрическая сила E или термоЭДС, которая возникает в замкнутой электрической цепи, состоящей из двух разнородных проводников А и В, зависит от разности температур между спаями, D T = T - T 0, где T – температура горячего спая, T 0 – температура холодного спая (известны термопары, содержащие два холодных спая, рис. 2.1).
ТермоЭДС E, вырабатываемая термопарой, используется как измеряемый или первичный параметр для определения температуры вещества Т, при этом горячий спай термопары размещается в исследуемом веществе (рис. 2.1).
На рис. 2.1 показана термопара, у которой горячий спай 8 расположен в термостате и находится в тепловом равновесии с водой, температуру T которой необходимо измерить. Холодные спаи 9

Рис.2.1. Схема установки
размещены в сосуде Дьюара при температуре T 0 = 273,15 K тающего льда. Между термоЭДС, E, и разностью температур, D T, имеется зависимость, в которой E называется эффектом Зеебека,
E=SAB D T, (2.2)
где SAB - коэффициент Зеебека.
При граничном условии T 0 = 273,15 K термоЭДС является функцией температуры E=f(T).
Метод измерения температуры, T, вещества с помощью термопары состоит в том, что приводят горячий спай термопары в состояние теплового равновесия с веществом, помещают холодные спаи в тающий лед, измеряют термоЭДС, Е, и вычисляют температуру T вещества по расчетному уравнению T (E).
Для определения температуры по измеренным значениям E можно применять уравнение (2.2), если известно значение SAB и выполняется условие T 0 = 273,15 K. Наряду с этой зависимостью используется расчетное уравнение T (E) или градуировочная зависимость в форме полинома
T=b 0 + b 1 E + b 2 E 2+ …. (2.3)
Входящие в него коэффициенты (b 0, b 1, b 2...) находятся с помощью статистической обработки результатов градуировочных опытов или градуировки.
В метрологии применяется зависимость E (T), называемая функцией преобразования. Она выбирается в виде полинома
E=a 0 +a 1 T+a 2 T 2+..., (2.4)
где a 0, a 1, a 2,... - коэффициенты, определяемые с помощью статистической обработки результатов градуировки.
В лабораторной работе необходимо осуществить два метрологических эксперимента: 1) градуировка термопары и 2) поверка цифрового термометра.
В этих экспериментах в качестве эталона используется образцовый платиновый термометр сопротивления ПТС-10.
Во время градуировки термопары приводят в состояние теплового равновесия термометр сопротивления 5 и термопару 8. В итоге эти термодатчики находятся при одинаковой температуре. В заданном стационарном режиме измеряют термоЭДС E и сопротивление резистора R.
Во время поверки цифрового термометра 6 обеспечивают такое режимное условие, когда терморезистор 5 и цифровой термометр находятся в состоянии теплового равновесия. В заданном стационарном i - режиме измеряют Т цифр i по дисплею цифрового термометра и определяют сопротивление резистора Ri.
Измерение электрического сопротивления термометра осуществляют с помощью измерения: 1) напряжения U т на резисторе 9 и 2) напряжения U к на образцовой катушке 2. Величину сопротивления находят по соотношению
R= R к U т /U к. (2.5)
Градуировка термопары предусматривает серию измерений (Е i, U тi ,U кi) в нескольких стационарных i - режимах. По указанным первичным данным вычисляют значения (Т i) и находят расчетное уравнение T (E) или градуировочную зависимость термопары.
Путем аппроксимации опытных Е i, Т i – данных находят функцию преобразования E (T) для термопары.
В результате градуировки цифрового термометра вычисляют поправку Dцифр для цифрового термометра по формуле
|
|
|
Dцифр =T - Т цифр , (2.6)
где Т - температура, измеренная термометром сопротивления.
Значения Dцифрсравнивают с паспортными данными цифрового термометра.
Указанные метрологические эксперименты - поверка и градуировка проводятся на экспериментальной установке.