При изготовлении ППИС применяют (в зависимости от размеров элементов) различные виды литографии: фото-, рентгено-, электроно- и ионную литографию.
Разрешающая способность фотолитографии с λ = 300…400 нм и ФШ, выполненными в масштабе 1:1, ограничивается, главным образом, дифракционными явлениями. Для уменьшения дифракции прежде всего используют источники облучения с меньшей длиной волны.
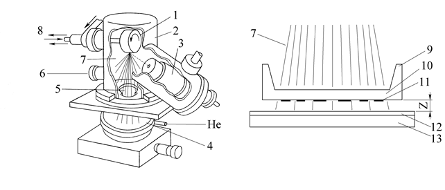
Рентгеновская литография (РЛ) является разновидностью оптической печати на микрозазоре, в которой длина электромагнитной волны экспонирующего облучения лежит в диапазоне 0,4…5 нм (мягкие лучи). Вследствие малой длины рентгеновских лучей существуют технические трудности по их отражению и преломлению с использованием зеркал и линз. Поэтому применение РЛ ограничено теневой печатью (рис. 4.53).

а б
Рис. 4.53. Установка РЛ (а) и схема экспонирования (б):
1 – мишень; 2 – вакуумная камера; 3 – электронная пушка; 4- подложка и рентгеношаблон;
5 - бериллиевое окно; 6 – патрубок для откачки; 7 – рентгеновские лучи; 8 – вода; 9 – рамка рентгеношабона; 10 - мембрана рентгеношаблона (толщиной ~ 6 мкм); 11- тонкопленочный рисунок; 12 – рентгенорезист; 13 – подложка; Z – зазор (~ 10 мкм)
Рентгеновское излучение получают в результате облучения мишени (анода) потоком ускоренных электронов. Чтобы избежать термического испарения мишени её вращают с большой скоростью (8000 об/мин) и охлаждают водой. Лучи проходят через окно вакуумной камеры и через рентгеношабон экспонируют специальный резист (рентгенорезист).
Вакуумная камера заполняется гелием (~1,3 Па), слабо поглощающим рентгеновское излучение. Тонкая бериллиевая фольга (10…30 мкм) изолирует камеру от внешней среды и задерживает вторичные электроны.
Длина волны излучения зависит от материала мишени – 0,837 нм (для Al) и 0,437 нм (для Pd).
Рентгеновские шаблоны состоят из участков слабо и сильно поглощающих рентгеновские лучи. Конструкция таких шаблонов состоит из подложки в виде рамки с тонкой мембраной (обычно из Si), на поверхности которой нанесен тонкопленочный рисунок (из Au).
Расходящиеся лучи вносят искажения в размеры печатаемых элементов, что ограничивает разрешающую способность РЛ.
В целом, по сравнению с традиционной фотолитографией, РЛ обладает более высокой разрешающей способностью, но установки для её проведения уникальны и дороги, их использование оправдано при изготовлении ППИС с субмикронными размерами элементов. Конкурирующим способом является электронная литография.
В основе электроно – лучевой литографии (ЭЛЛ) лежит избирательное экспонирование потоком электронов специального резиста, называемого электронорезистом.
В отличие от УФ и рентгеновских лучей поток электронов не является электромагнитным излучением. Поэтому эффекты дифракции и интерференции здесь практически отсутствуют. С другой стороны, в отличие от электрически нейтральных фотонов, электроны несут заряд, что позволяет формировать и отклонять пучок электронов с использованием электрических и магнитных полей, т.е. средствами электронной оптики.
Длина волны движущегося прямолинейно электрона зависит от его энергии и может быть оценена как λ = h/mv, где h – постоянная Планка; m,v – соответственно масса и скорость электрона. Заменяя mv2 /2 = eU и подставляя константы, получим λ =
, где U – напряжение ускоряющего электрического поля. При U = 15 кВ получим λ = 0,01 нм, т.е. в десятки тысяч раз меньше длины волны УФ излучения и почти в 100 раз меньше рентгеновского.
ЭЛЛ может быть проекционной и сканирующей. В проекционных вариантах ЭЛЛ изображение может передаваться в масштабе 1:1 или с уменьшением. На рис. 4.54 приведен пример проекционной ЭЛЛ, основанный на использовании фотокатода.
Шаблон представляет собой кварцевую пластину (хорошо пропускающей УФ лучи) с тонкопленочным рисунком и покрытием из материала, обладающим высокими фотоэмиссионными свойствами (например, CsJ). Формирование изображения происходит в однородных электрическом и магнитном полях. Эмиттированные фотоэлектроны ускоряются электрическим полем и с помощью магнитной фокусирующей системы проецируют изображение с катода на слой электронорезиста практически без искажений.
Такой вариант ЭЛЛ позволяет изготавливать ППИС с минимальной шириной линии около 1 мкм.
Сканирующие системы позволяют получать линии шириной 0,1…0,4 мкм.
Упрощенный вариант сканирующей установки для ЭЛЛ приведен на рис. 4.55.

| Рис. 4.54 | Рис. 4.55 |
| Рис. 4. 54. Схема проекционной ЭЛЛ: 1 –УФ излучение; 2 – шаблон-фотокатод; 3 – магнитная система; 4 – подложка с электронорезистом; 5 – анод; 6 – поток электронов Рис. 4.55. Схема установки для сканирующей ЭЛЛ: 1 - электронная пушка; 2 – прерывание луча; 3 – отклоняющие катушки, линзы; 4 – вакуумная камера; 5 - подложка с электронорезистом; 6 - столик |
Установлено, что экспонированная линия электронорезиста оказывается шире размера сечения электронного луча примерно на толщину слоя резиста. Это объясняется значительным рассеиванием электронов в слое электронорезиста, что ограничивает разрешающую способность ЭЛЛ.
Меньшее рассеивание, и, следовательно, более высокую разрешающую способность можно получить если заменить электроны на частицы, производящие аналогичные преобразования в резисте, но отличающиеся большей массой – например, ионами.
Технологический процесс, использующий обработку резистов лучом, состоящим из потока ускоренных ионов, получил название ионной или ионно-лучевой литографии (ИЛЛ). В установках ИЛЛ обычно используются ионы газов (водорода, гелия) или легкоплавких металлов (галлия, висмута и др.).
Проекционный вариант ИЛЛ с экспонированием резиста лучами, прошедшими через подложку шаблона, трудно реализуем из-за малой проникающей способности ионов. Иногда применяют (рис. 4.56, а) шаблоны в виде тонкой фольги с отверстиями (аналогичные используются и в ЭЛЛ). Но это возможно лишь для относительно простых рисунков. Сканирующая установка ИЛЛ (рис. 4.56, б) подобна применяемой в ЭЛЛ.

а б в
Рис. 4.56. Схемы проекционной (с уменьшением изображения) (а), сканирующей остросфокусированным ионным пучком (б) и безрезистивной ИЛЛ:
1 –источник ионов; 2 – ионный пучок; 3 – фокусирующая система; 4 – подложка; 5 – шаблон с отверстиями
Поток ускоренных ионов может производить изменения не только в структуре органических резистов, но и в пленках других материалов (например, Ni, SiO2). Облученные участки в результате радиационного повреждения приобретают (в отличие от остальных) способность к растворению в определенных травителях (рис. 4.56, в), что позволяет конфигурировать пленки по безмасочной технологии.
Сканирующие варианты ЭЛЛ и ИЛЛ обладают высокой разрешающей способностью, но производительность их не высока. Например, для обработки пластины диаметром 125 мм электронным лучом 0,5 мкм требуется около 1 часа. Поэтому, основное применение сканирующей ЭЛЛ – производство шаблонов для фото-, рентгено-_ и электронолитографии.
Методы проекционной фотолитографии обладают высокой производительностью и требуют менее сложного оборудования. Поэтому их развитию уделяется большое внимание, особенно в области дальнего ультрафиолета (λ = 10…200 нм). Одним из таких направлений является EUV (Extreme Ultra Violet) – литография, использующая излучение с длиной волны порядка 13 нм. Электромагнитные волны с малой длиной волны испытывают сильное преломление и поглощение при прохождении через стеклянные ФШ и линзы. Поэтому в области дальнего ультрафиолета используются отражательные системы. Схема одного из вариантов EUV-литографии приведена на рис. 4.57. Отражающие участки ФШ и вогнутые поверхности зеркал содержат покрытие из нескольких десятков парных слоев Mo/Si с толщиной каждого слоя в несколько атомов (~ λ /4).

а б
Рис. 4.57. Схема EUV- литографии (а) и разрез отражающего шаблона (б):
1- источник излучения; 2- шаблон; 3 – зеркала; 4 – подложка; 5 – EUV – лучи; 6 – поглощающие участки; 7- покрытие из 40…80 парных слоев Mo/Si; 8 – подложка шаблона
Ожидается, что применение EUV-литографии позволит получать элементы шириной 30 и менее нм (рис.4.58)

Рис. 4.58. Динамика развития фотолитографических процессов:
1 – длина волны актиничного излучения; 2 – минимальные размеры элементов ППИС
Большое влияние на разрешающую способность литографических процессов оказывает метод травления. Для несложных ППИС применяется влажное травление (погружением или пульверизацией), а для БИС и СБИС – сухое плазменное.
Для влажного химического травления характерна высокая селективность (различие в скоростях травления разных материалов, например, слоя и КМ), изотропность, высокая токсичность применяемых химикатов и загрязняемость подложек.
В сухих методах продуктами реакций являются летучие вещества, удаляемые через откачную систему. Сухие плазменные процессы проводятся в вакуумных камерах, содержащих ионизированный газ – плазму. В составе плазмы кроме отрицательных и положительных ионов, электронов и нейтральных молекул, могут также находиться свободные радикалы – крайне активные атомы или молекулы (например, F, CF3, SiF3). Радикалы образуются в плазме из специально вводимых соединений (CF4 , SiF4 и др.).
В зависимости от материала слоя, подлежащего травлению (металл, диэлектрик, полупроводник), способа возбуждения и поддержания плазмы, давления в рабочей камере (10-2…103 Па), состава газовой смеси и конструкции устройства при травлении слоев может преобладать тот или иной механизм: физическое распыление в результате бомбардировки ионами инертных газов (ионное травление), химическое взаимодействие с активными заряженными или нейтральными частицами (плазмохимическое травление), а также комбинированное воздействие (ионно-плазменное травление).
Ионы инертных газов, направляемые перпендикулярно подложке, позволяют получать рисунки с практически вертикальными стенками, но селективность такого процесса низка (примерно с той же скоростью идет разрушение КМ).
При плазмохимическом травлении разряд возбуждается в химически активных газах или парах, ионы и радикалы которых химически взаимодействуют с поверхностным слоем. Плазмохимическое травление имеет высокую селективность, но степень анизотропии его не высока.
Более широкие возможности у ионно-плазменного травления, сочетающего достоинства двух предыдущих методов. При этом физическое распыление активирует химические реакции, а химические реакции, ослабляя связи поверхностных атомов, способствуют физическому распылению.






