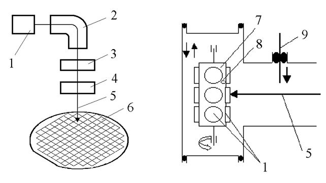
Ионное легирование (или ионная имплантация – способ получения p-n переходов путем введения примеси в виде ускоренных ионов (рис. 4.51, а).
Ионы легирующего элемента образуются в плазме дугового разряда, создаваемого в газоразрядной камере установки, куда поступают пары рабочего вещества, содержащего легирующий элемент.
Положительные ионы вытягиваются электрическим полем и попадают в магнитный сепаратор (масс-анализатор). Там под действием магнитного поля ионы (в т.ч. сопутствующие) движутся по дугам окружностей, радиусы которых для ионов различной массы будут различными. Ионы легирующего элемента выделяются с помощью щелевой диафрагмы. Далее поток выделенных ионов попадает в ускоритель, фокусируется и с высокой скоростью бомбардирует поверхность подложки. В зависимости от конструкции установки пучок ионов, падающих на подложку, может быть широким (площадью в несколько см2), щелевым или остросфокусированным. Он также может быть стационарным или сканирующим. В системе поддерживается вакуум порядка 10-4 Па, чтобы ионы не испытывали столкновений со средой и не рассеивались.
Схема одного из вариантов рабочей камеры приведена на рис. 4.51, б.

а б
Рис. 4.51. Схемы установки (а) и рабочей камеры (б) ионного легирования:
1 – источник ионов; 2 – магнитный сепаратор; 3 – ускоритель; 4 – фокусирующее устройство; 5 – пучок ионов; 6 – подложка; 7 – держатель подложек; 8 – датчики; 9 - вакуумный затвор
Подложки с оксидной маской, размещаются по периферии держателя (контейнера) в несколько ярусов. В процессе облучения подложек неподвижным ленточным лучом держатель вращается и совершает возвратно-поступательное движение. Подложки, таким образом, постепенно набирают необходимую дозу легирования, контролируемую датчиками, которые располагаются между ними. По достижении необходимой дозы системой контроля вырабатывается сигнал, отключающий ионный луч.
Перед выгрузкой контейнера с обработанными подложками вакуумный затвор отсекает рабочую камеру от остального объёма установки, камеру открывают и производят замену контейнера с пластинами. После закрытия камеры и открывания затвора вакуумные насосы восстанавливают рабочее давление и начинается следующий цикл обработки.
Глубина проникновения ионов в подложку, главным образом, зависит от их энергии и размеров и обычно не превышает 1…2 мкм.
При торможении ионов в подложке происходит деформация кристаллической решетки. Внедренная примесь может оказаться как в узлах, так и между узлами решетки. Установлено, что примесь может эффективно проявлять донорные или акцепторные свойства находясь преимущественно в узлах решетки. Для восстановления нарушенного слоя и перевода внедрённой примеси в активное состояние прибегают к отжигу поверхностного слоя путём облучения коротким (порядка 1 мс) и мощным импульсом инфракрасного излучения.
Ионная имплантация (как и диффузия) допускает полное (все поверхности подложки) и локальное легирование. Локальное легирование производится через КМ (обычно из SiO2 и Si3N4) или сканированием сфокусированным ионным пучком. Материал КМ должен обеспечивать более сильное (по сравнению с материалом подложки) торможение ионов и слабо распыляться под действием ионной бомбардировки.
Основные преимущества ионной имплантации по сравнению с термической диффузией:
1) процесс не требует нагрева пластин и, следовательно, не приводит к изменению параметров ранее сформированных слоёв (за счёт диффузионной разгонки);
2) так как ионный пучок перпендикулярен к пластине, размеры легированной области более точно соответствуют размерам окна в КМ;
3) количество введённой примеси точно дозируется (контролируется в процессе облучения).
Недостатком процесса ионной имплантации является то, что при постоянной энергии ионов невозможно получить глубоко залегающий переход с одновременным присутствием примеси на поверхности. В связи с этим на практике применяют один из процессов (рис. 4.52).

а б
Рис. 4.52. Формирование глубоких профилей:
а - ступенчатый процесс; б - комбинирование имплантационной загонки с диффузионной разгонкой
1. Ступенчатый процесс - непрерывное и глубокое распределение примеси от поверхности до перехода обеспечивается несколькими ступенями легирования при различных энергиях, причём первый (глубокий) профиль обеспечивает заданную глубину залегания p-n -перехода Хn, а последний (у поверхности) - необходимую поверхностную концентрацию N0 (рис. 4.52, а).
2. Комбинированный процесс - имплантационная загонка примеси при низкой энергии обеспечивает необходимую дозу легирования и присутствие примеси на поверхности, а диффузионная разгонка - заданную глубину залегания p-n -перехода Хn (рис. 4.52, б).