Пайка волной припоя широко применяется в серийном и массовом производстве ЭМПП с компонентами, выводы которых установлены в монтажные (лучше металлизированные) отверстия ПП (рис.4 а). Сущность способа заключается в пропускании ЭМПП через гребень свободно изливающегося из щелевого сопла расплавленного припоя (рис.4.).

а б
Рис.4.80. Схемы пайки волной припоя:
а – одиночной λ- волной; б – двойной волной
Схема классической установка пайки волной припоя приведена на рис.4.

Рис.4.81. Схема установки пайки волной припоя:
1 – корпус; 2 – вентилятор; 3 – конвейер; 4 – узел пайки; 5 – предварительный нагрев; 6 – узел флюсования
Подача флюса на первой позиции может осуществляться тремя способами: пенным (пропусканием через жидкий флюс сжатого воздуха), волновым (вращающимся распылителем в виде сетчатого барабана с ячеистой поверхностью, полупогруженного во флюс) и струйным.
Предварительный нагрев (t0 = 80…120 0C) вводится для испарения избытка растворителя из флюса, повышения его активных свойств, уменьшает термоудар ПП и повышает скорость пайки.
Доказано, что наилучшие результаты при пайке волной припоя наблюдаются с широкой волной припоя и наклонным конвейером. Для широко используемой λ - волны припой на переднем ее скате перемещается навстречу ПП (обеспечивая хорошее смачивание), а в точке выхода скорости движения ПП и припоя близки, как по величине, так и по направлению. В этой точке образуется галтель, стягивающая благодаря наклону излишки припоя с ПП. Зона контакта ПП с волной составляет 2…8 мм, продолжительность 0,7…2 с.
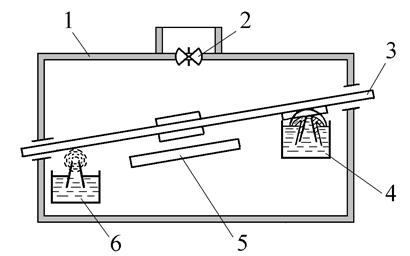
При пайке ЭМПП со смешанным монтажом (рис. 4в) возникает «теневая зона», куда припой не попадает и не образовывает паяных соединений (рис.4).

Рис.4.81. «Теневой эффект» при пайке чип-компонентов волной припоя:
1 – ПП; 2 – чип-компонент; 3 – галтель; 4 – сопло; 5 - «теневая зона»; 6 - волна припоя
В этом случае применяют процесс пайки двойной волной припоя (рис.4) Первая волна делается турбулентной и узкой. Она исходит из сопла под большим давлением. Турбулентность и высокое давление потока припоя исключает формирование полостей с газообразными продуктами разложения флюса. Однако турбулентная волна все же образует перемычки припоя, которые разрушаются второй, более пологой ламинарной волной с малой скоростью истечения. Вторая волна обладает очищающей способностью и устраняет перемычки припоя, а также завершает формирование галтелей. Для обеспечения эффективности пайки все параметры каждой волны должны быть регулируемыми. Поэтому установки для пайки двойной волной имеют отдельные насосы, сопла и блоки управления для каждой волны.
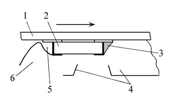
Некоторые установки пайки волной припоя (как одиночной, так и двойной) оборудуются дешунтирующим воздушным «ножом» (рис.4), который обеспечивает уменьшение количества перемычек припоя. «Нож» располагается сразу же за участком прохождения волны припоя и включается в работу, когда припой находится еще в расплавленном состоянии на ПП. Узкий поток нагретого воздуха (t0 = 375…390 0C), движущийся с высокой скоростью, уносит с собой излишки припоя, тем самым разрушая перемычки и способствуя удалению остатков припоя.

Рис.4.82. Схема «воздушного ножа»:
1 – ПП; 2 - сопло
При пайке волной припоя с t0 = 240…260 0C (например, ПОС 61) нагрев компонентов, установленных на верхнюю сторону ПП составляет около 140 0C.
Пайку ЭМПП, содержащих только поверхностно-монтируемые компоненты (установленные на припойную пасту), осуществляют в установках оплавления: в ПГФ, ИК-лучах или лазером.
Метод пайки в ПГФ (рис.4) основан на использовании для нагрева паяемых изделий скрытой теплоты инертной термостойкой жидкости. Для ПГФ-пайки созданы специальные жидкости (инертные фторуглероды) с температурой кипения выше температуры плавления припоев, практически не разлагающихся и не изменяющих свой состав при испарении. ПП с установленными компонентами перемещаются по конвейеру последовательно по зонам I, II и III. После предварительного нагрева (зона I), способствующего уменьшению термических напряжений в компонентах и местах их контактов с ПП, модуль попадает в зону II, в которой пары фторуглерода (с t0 = 215…220 0C) конденсируются на всех внешних поверхностях изделия и за 5…30 с. нагревают его до температуры пара. При этом припойная паста расплавляется и образует галтель между выводом компонента и контактной площадкой ПП. Процесс конденсации прекращается, когда температура компонентов и ПП достигнет температуры паров.

Рис.4.83. Схема установки пайки в ПГФ:
I – зона подачи изделия и предварительный нагрев; II – зона пайки расплавлением дозированного припоя; III – зона выхода готового изделия и его охлаждение:
1 – ПП с установленными компонентами; 2 – пары фторуглерода; 3 – охладитель; 4 –вентиляционное отверстие; 5 – нагреватель; 6 – кипящий фторуглерод
В некоторых установках вместо жидкого теплоносителя применяют сухой воздух или азот.
Основным механизмом передачи тепла, используемым в установках пайки с ИК-нагревом, является излучение. Передача тепла излучением имеет большое преимущество перед теплопередачей за счет теплопроводности и конвекции, так как в этом случае тепловая энергия передается по всему объему монтируемого устройства.
Типичная установка ИК- оплавления приведена на рис 4.8

Рис.4.84. Схема установки ИК-пайки
Установка состоит из корпуса 1, внутри которого расположено несколько зон нагрева, в каждой из которых поддерживается заданный тепловой режим. В первой и второй зонах производят постепенный предварительный нагрев изделия 2с помощью плоских нагревателей 3. Пайку производят в третьей зоне быстрым нагревом объекта выше температуры плавления припоя с помощью кварцевых ИК ламп 4, затем объект охлаждают с помощью устройства 5. Печатные платы транспортируются через установку на ленточном (обычно сетка из нержавеющей стали) конвейере 6. Режимы работы нагревателей и скорость движения конвейера регулируются с помощью микропроцессорной системы 7, температурный профиль вдоль установки отображается в графической и цифровой форме на экране дисплея 8. Характеристики температурного профиля, т. е. значения температур в каждой зоне, возможно изменять в широких пределах, также возможно иметь библиотеку типовых режимов оплавления. Примерная диаграмма работы ИК печи приведена на рис.4.

Рис.4. 85.Диаграмма работы ИК печи при оплавлении
В первой зоне происходит быстрый, главным образом, радиационный подогрев с длиной волны, проникающей в материал, что позволяет провести безопасное и быстрое удаление летучих веществ. Обычно скорость нагрева в этой зоне составляет 0,5…4°С/с.
Во второй зоне происходит выравнивание температуры сборки, что предупреждает повреждение термочувствительных элементов
при оплавлении. В этой области происходит снижение температурных градиентов, возникших на первом этапе нагрева. Скорость нагрева в этой зоне весьма низка и для малых элементов может даже иметь отрицательный знак. Температура стабилизируется на уровне 140…175'°С. Этот этап является одним из наиболее важных для получения качественных паяных соединений.
В третьей зоне происходит непосредственное оплавление пасты и создание паяного соединения. Для этой зоны характерна высокая скорость нагрева коротковолновым ИК излучением, что позволяет минимизировать время оплавления, чтобы снизить до минимума пребывание элементов при высокой температуре.
При плотном расположении компонентов более высокие из них могут закрывать более низкие, создавая так называемую «тень», то есть зону, где высока вероятность непропая. Некоторые компоненты (например, PLCC) могут экранировать свои собственные выводы. Существенное влияние на процесс пайки оказывает также отражающая способность корпусов компонентов.
Лазерная пайка (пайка лучом лазера) не относится к групповым методам пайки, поскольку монтаж ведется по каждому отдельному выводу, либо по рядам выводов. Однако бесконтактное приложение тепловой энергии позволяет повысить скорость монтажа до 10 соединений в секунду и приблизиться по производительности к пайке в ПГФ и ИК-излучением.
По сравнению с другими методами лазерная пайка обладает рядом существенных преимуществ. Во время пайки ПП и корпуса компонентов практически не нагреваются, что позволяет монтировать компоненты, чувствительные к тепловым воздействиям. В связи с ограниченной областью приложения тепла резко снижаются температурные механические напряжения между выводом и корпусом. Кратковременные действия тепла (20...30 мс) положительно сказывается на надежности паяных соединений. Установки лазерной пайки могут быть полностью автоматизированы. В этом случае для составления программы пайки можно использовать данные САПР для ПП. Возможна пайка плат с высокой плотностью компоновки компонентов, с размерами контактных площадок до 25 мкм, без образования перемычек на соседние соединения или их повреждения.
При использовании лазерной пайки нет необходимости в предварительном подогреве МПП (что обычно необходимо делать при пайке в ПГФ для предотвращения расслоения платы). Процесс пайки ведется в нормальной атмосфере без применения инертных газов или каких-либо других химических реагентов.
При пайке лазером минимизировано выделение вредных химических элементов и соединений.
Для приклеивания компонентов вместо специальных высокотемпературных клеящих композиций, можно применять обычные клеи. Возможна частичная сборка, при которой отдельные компоненты могут устанавливаться позднее.
Лазерная пайка не является альтернативным методом по отношению к групповым методам пайки. Ее преимущества проявляются при создании особо надежных паяных соединений в ответственных САУ ЛА с повышенной плотностью компоновки.
Примерная схема установки лазерной пайки приведена на рис.4.

Рис. 4.86. Схема установки лазерной пайки:
1 — лазер; 2 — затвор; 3 — призма; 4— зеркало: 5 — объектив; 6 — двухкоординатный стол; 7 — ПП с компонентами; 8 — дефлектор
В установке использован твердотельный АИГ лазер (на алюмоиттриевом гранате) с двумя лучами, выходящими с двух противоположных сторон корпуса. Каждый луч (независимо от другого) может отклоняться в двух направлениях с помощью отдельного, независимого сканирующего устройства и оптической системы. Работу установки контролирует ЭВМ. Блок сканирования расположен по диагонали и направлен к центру компонента. При таком расположении луч может осуществлять пайку выводов с двух сторон корпуса. Кроме того, оба сканирующих устройства установлены под углом к поверхности печатной платы, что позволяет производить пайку корпусов с выводами J-типа, а также безвыводных (типа LCCC).
После пайки на поверхности ЭМПП в многочисленных полостях (в под компонентами, в зазорах между ними, между выводами и т.д.) могут оставаться продукты разложения флюса и другие загрязнения, которые в дальнейшем могут стать причиной коррозии, токов утечки и других дефектов, приводящих к отказу. Для очистки и промывки ЭМПП применяют различные растворители и составы, включая воду. При выборе очистной жидкости учитывают состав загрязнений, растворяющую способность, рабочую температуру, продолжительность и условия отмывки, влияние на элементы конструкции, токсичность и пожароопасность.
Удаление остатков канифольных флюсов осуществляют спиртом, спирто-бензиновой смесью, трихлорэтиленом, четыреххлористым углеродом. Однако эти жидкости пожароопасны и токсичны.
Хорошие результаты получают при использовании фреона или его смесей (хладон 113, фреон 114В). Фреон характеризуется низким поверхностным натяжением, в результате чего он проникает в мельчайшие капилляры.
Для интенсификации процесса применяют ручную или механизированную очистку щетками, наложение ультразвуковых или низкочастотных (25...50 Гц) колебаний, струйную подачу очистных жидкостей (рис.).

Рис.4.87. Схема установки водной отмывки и сушки:
1 – сетчатый конвейер; 2 – форсунки; 3 – воздушные ножи; 4 – подача воздуха; 5 – кварцевые лампы
Качество очистки проверяют визуальным осмотром, люминесцентным методом (основан на явлении флуоресцентного свечения веществ, таких как канифоль, салициловая кислота), качественной реакцией (остатки флюсов имеют кислую реакцию), кондуктометрическим (измеряя сопротивление дистиллированной воды до и после контрольной отмывки) и другими методами.
При повышенных требованиях к влагозащите ЭМПП покрывают специальными лаками (например, УР-231). Основные способы нанесения влагозащитных лаков – окунание, пневматическое распыление, полив, окунание с последующим центрифугированием.






