Плоскостные опоры
Опоры с трением скольжения (вернуться к оглавлению)
Рис.
max=>x
Fтр=f*mg
x≠0
max≥Fтр=f*mg
f=0.01÷0.1
|


Fтр=fN
Cx=max
Fтр


- относительная погрешность от Fтр

Т.к. можно предположить, что 
![]() |
Рис.
(Дать пояснения)

*
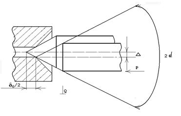
Цапфа называется центром; подшипник имеет цилиндрическое отверстие с зенковкой (втулка). Центры и втулка могут смещаться в осевом направлении, это позволяет регулировать осевые и радиальные зазоры в том числе и при износе опор. Малая поверхность соприкосновения исключает возможность заклинивания даже при больших перекосах, но увеличивает износ особенно при вибрациях. Но возможно заклинивание при температурных деформациях. Поэтому необходим осевой зазор
, который увеличивает и радиальный.
*
Материал центров; У-10. У-12, Ст 40, 50 с закалкой; НRс=50...60
Кобальт-вольфрамовые стали: Тi сплавы.
Подшипники могут быть и камни; а сталь с заколкой.
Используются гам. где малые скорости вращения, а нагрузки невысокие.
*

В гироприборах почти не используются. Часто в ПММ.







