Углетермическое восстановление цинка и отгонка его из агломерата по существу те же, что и при рассмотренном выше процессе вельцевания, но процесс конденсаций иной. Необходимо сразу получать из возгонов металлический цинк. Для этого процесс возгонки и конденсации требует высоких рс„ в газовой фазе. При умеренных расходах углерода надо ограничиться малыми количествами воздуха при осуществлении дистилляции цинка, что является главной особенностью дистилляции цинка из агломерата. Техническое осуществление такого процесса сопряжено со значительными трудностями. Поиск способов, уменьшающих эти трудности в производстве, привел к разработке целого ряда аппаратов, каждый из которых имеет свои достоинства и недостатки.
Дистилляция цинка в горизонтальных ретортах. Реторты этого типа представляют собой цилиндр овального сечения длиной 1,8-1,9 м и диаметрами 340-370 и 230-260 мм с толщиной стенок и дна 30-40 мм, изготовленных из огнеупорной глины, шамота и коксика. Эти реторты в количестве 200-1000 шт. устанавливаются в специальной печи, отапливаемой газом. Топочные газы омывают и разогревают реторты снаружи. Реторты наклонены под небольшим углом вниз открытым концом, который присоединен герметично к индивидуальному конденсатору. Конденсаторы изготовлены из огнеупорной глины с измельченным ретортным боем. Внутренние стенки конденсатора глазурированы для лучшего отделения конденсата. Конденсатор представляет собой коническую трубу длиной 0,5-0,9 м, которая широким концом присоединена к реторте, а узким — к стальному сосуду (алонжу). Алонж - это сужающаяся труба, у которой широкий конец соответствует размеру горловины конденсатора, а узкий конец имеет отверстие 0,1 м, через которое выходит отходящий и дожигаемый газ, содержащий СО.
|
|
|
В каждую реторту загружают до 100 кг шихты, которая состоит из агломерата и оборотных продуктов (пыль из конденсатора и продукт переработки конденсаторного лома), а также угля (до 40 % в шихте). Уголь должен содержать мало золы, летучих веществ и серы, чтобы не вызвать сплавления шихты и сульфидирования цинка, так как ZnS - нелетучая форма. Крупность угля и агломерата должны быть 3—6 мм, что обеспечивает газопроницаемость шихты.
Дистилляция в горизонтальных ретортах - периодический процесс с суточной цикличностью.
Основной объём работы по обслуживанию печи выполняется в утренней смене ("маневр печи") и занимает 4-5 ч. В период маневра из конденсаторов выгребают последние порции цинка, разнимают конденсатор и реторту, очищают конденсатор, выгружают из реторты раймовку (остаток от дистилляции цинка из шихты), загружают в реторту свежую порцию шихты, устанавливают на место конденсатор и алонж, примазывая их для плотности глиной. Затем в течение суток поддерживают температурный режим печи, 3—4 раза выгребают из конденсаторов цинк и удаляют из алонжей пусьеру (пылевидные возгоны). Эту операцию выполняют после разъема алонжа и конденсатора, выгребают возгоны через горловину конденсатора и широкий торец алонжа. Все обслуживание печей ручное и связано с тяжелым трудом. Описанная технология обеспечивается ретортами и конденсаторами собственного производства, которое весьма трудоемко. Реторты должны быть достаточно прочными и жаростойкими. Срок службы шамотных реторт 36-40 сут, кампания печей 3-5 лет.
|
|
|
Дистилляция в горизонтальных ретортах ведется при температуре шихты 1200-1250°С. Наружные печные газы имеют температуру 1300-1350°С.
Печи с горизонтальными ретортами имеют низкий тепловой к.п.д. (~20 %) и высокое удельное потребление угля (~ 3 т на 1 т Zn). Общее извлечение цинка (с учетом оборотных продуктов) составляет в лучшем случае 89-92 % при прямом выходе цинка 70-75 % и следующем примерном распределении цинка по продуктам, %: черновой цинк 82,8; раймовка 6,3; пусьера 4,8; глина от подмазки конденсаторов 4,8; обломки конденсаторов 1,1; потери с газами 1,1; обломки реторт 0,7. Минимальный расход на 1 т цинка реторт 2-2,5 и конденсаторов 6-10. Выход раймовки составляет 30 % от загруженного агломерата и в ней содержится до 14 % Zn, из которых половина цинка окисленного, а остальное в виде ZnS.
Дистилляция цинка в горизонтальных ретортах имеет ряд недостатков: периодичность; низкое извлечение цинка и плохое его качество; низкие удельная производительность и тепловой к.п.д. печей; невозможность их механизированного обслуживания; трудо- и материалоемкость сопряженного производства керамических реторт и конденсаторов (соизмеримо с производством цинка). Этот способ наиболее старый, отмирающий.
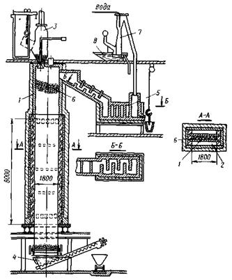
Дистилляция цинка в вертикальных ретортах является непрерывным процессом, в котором утилизируется тепло топочных и отходящих технологических газов. Это выгодно отличает вертикальные реторты от горизонтальных. Вертикальная реторта - это шахта высотой 10-12 м, прямоугольного сечения шириной 300-330 мм и длиной 1,5-2 м, толщина стенок 40-250 мм (рис. 120). Стенки реторты выложены из карборундового кирпича на карборундовом цементе. К длинным сторонам реторты примыкают камеры сгорания, которые отапливаются природным или генераторным газом, а также отходящим газом из реторты рСО. В топочных камерах t = 1300÷1350°C. Малая толщина реторты (300 мм) ограничена теплопроводностью шихты, в которой г = 1275÷1300°С.

Рис. 120. Вертикальной -реторта:
I - реторта; 2 - камера сгорания газа; 3 - загрузочное устройство; 4 - разгрузочное устройство;
5 - конденсатор; 6 - верхний уровень шихты; 7 - скруббер; 8 - отстойник
Возгоночная зона в реторте имеет высоту 8 м, а над ней располагается еще слой свежей шихты в необогреваемой части реторты высотой
Столь высокий слой шихты требует специальной ее подготовки (см. ниже), обеспечивающей прочность и проницаемость шихты для газа.
Шихту периодически (через 1-1,5 ч) загружают в реторту сверху через устройство с механическими затворами и выпускают внизу через необогреваемое разгрузочное устройство с гидравлическим затвором. Таким образом, загрузка и выгрузка шихты не нарушают герметичность реторты. В реторте противоточно движутся шихта вниз, а газ вверх [последнее достигается дутьем снизу с небольшим расходом воздуха (0,2 м3/мин)].
Парогазовая смесь при 950-1000°С из верхней части реторты отводится в обогреваемый конденсатор, в котором поддерживается температура 560°С и благоприятные условия для конденсации путем разбрызгивания жидкого цинка из конденсата в газовом объеме конденсатора. Из конденсатора газы при 450-470°С отводятся в скруббер (орошаемый водой пылеуловитель), где улавливается пусьера, которая содержит до 62 % Zn и является оборотным продуктом, возвращаемым в шихту агломерации, а технологический газ из скруббера возвращается в камеры сгорания, отапливающие реторту.
|
|
|
Конденсированный цинк содержит 99,8 % Zn, 0,15 % Pb, 0,04 % Cd и не требует дополнительного рафинирования. Раймовка в виде брикетов, выгруженных из реторты через гидрозатвор, имеет влажность около 50 %, а,в сухом виде содержит, %: С 51, Fe2O3.19,5, Zn 5,72, Pb, 1,37, Си 0,8, S 0,4, SiO, 9,5, А12ОЭ 5,0, CaO 2,6, MgO 1,26, Mn3O4 0,2, Ag 192 г/т. Этот полупродукт хранят в отвалах (он способен самовозгораться и загрязнять атмосферу).
Однако и вертикальные реторты имеют ряд серьезных недостатков: низкая производительность, сложная подготовка агломерата к дистилляции цинка, необходимость специального хранения брикетированной раймовки.
Электротермическая дистилляция цинка основана на использовании электроэнергии для нагрева шихты и применяется в двух вариантах: 1) переработка высококачественного (с низким содержанием примесей) агломерата без расплавления шихты в шахтных электропечах; 2) переработка низкокачественного (низкое содержание Zn и высокое содержание Fe и Си) агломерата с расплавлением в руднотермических электропечах. В шахтной электропечи восстановление и дистилляцию цинка ведут из твердой шихты, содержащей агломерат и кокс, а нагревают шихту электрическим током, проходящим через шихту, которая служит телом сопротивления.
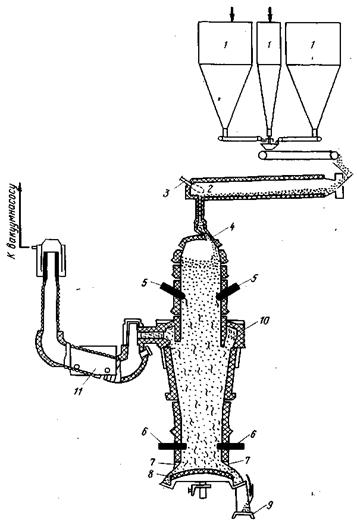
Шахтная электропечь, схематически представленная на рис. 121, имеет высоту 11-14 м, диаметр 1,75-2,4 м. В печи на двух разных уровнях по высоте размещены по диаметру восемь электродов (расстояние между уровнями 7,3-9,7 м). Шихта, заполняющая печь, служит телом сопротивления. Электроды изолированы от корпуса печи.
Высококачественные агломераты, состав и способ получения которых рассмотрены ранее, дробят и классифицируют по крупности на куски разных размеров от 5 до 20 мм и в определенном соотношении фракций. Такой агломерат шихтуют с равным количеством более крупного кокса и грузят в шахтную электропечь. Содержание кокса в шихте в три раза превосходит теоретически необходимое для восстановления цинка, что позволяет сохранить примерное постоянство электрического сопротивления столба шихты по высоте, несмотря на частичное выгорание кокса. Шихту предварительно разогревают во вращающейся барабанной печи и с помощью специального вращающегося загрузочного устройства распределяют крупные фракции шихты по центру печи, а более мелкие - по периферии.
|
|
|
Такое распределение шихты создает распределение температуры по горизонтальному сечению шихты с максимумом по центру (1300-1400°С) и минимумом у стенок (900-950°С). Столб шихты опирается на медленно вращающийся разгрузочный стол. Между корпусом печи и этим столом имеется зазор, через который выгружают раймовку. Скорость вращения разгрузочного стола и величину зазора регулируют и таким образом изменяют скорость продвижения шихты по печи сверху вниз.
Через центр разгрузочного стола в печь подают дутье с малым расходом воздуха. Газ поднимается через столб шихты вверх до расширяющейся зоны печи, которая расположена на 1/3 межэлектродного расстояния от верхнего ряда электродов. В расширяющейся части печи расположен кольцевой желоб с нижней прорезью, по которому собирается газ с возгонами и направляется в конденсатор. Конденсатор - вакуумного типа с водяным охлаждением через стенки. Степень конденсации цинка 92-94 %. Отходящий газ, содержащий 80 % СО, 1,6 % СО2, 15 % N2; 1,5 % О2, очищают в скруббере, за которым стоит вакуумный насос.
Срок службы таких печей невелик (~ 100 сут), а их ремонт весьма трудоемок. Высокие требования к химической чистоте и физическим свойствам агломерата, большой расход электроэнергии (2500-2900 кВт-ч/1т Zn) оправдывают этот процесс при прямом получении цинка высокого качества. Прямой выход цинка 78-85 %, общее извлечение цинка90 %, содержание цинка в раймовке 15 %. Раймовку охлаждают и классифицируют по крупности: фракцию крупнее 19 мм направляют в отвал (она бедна по цинку), средняя фракция (она богата коксом) является оборотной и возвращается в шихту, а мелкая фракция после отделения из нее магнитной фракции тоже оборотная и возвращается в шихту (она богата по цинку).

Рис. 121. Шахтная электропечь:
1 - бункеры с агломераторм; 2 - прокалочная печь; 3 - горелка; 4 - питатель; 5 - верхние электроды; 6 - нижние электроды; 7 - водоохлаждаемый опорных обод; 8 - вращающийся разгрузочный стол; 9 - ковшовый транспортер; 10 - кольцевой газосборник; 11 — конденсатор
В руднотермической электропечи восстановление и дистилляцию основной части цинка осуществляют из твердой шихты, состоящей из агломерата и кокса, и лишь малую долю цинка, переходящего в жидкий шлак, восстанавливают расплавленным медистым чугуном, который выплавляется из шихты. Электрический обогрев шихты и плавление шлакообразующих осуществляют пропусканием тока через жидкий шлак как тело сопротивления.
Руднотермическая печь (рис. 122) имеет прямоугольную форму. Корпус печи стальной, футерован высокосортным глиноземистым кирпичом. Подина -воздухоохлаждаемая, а стенки - водоохлаждаемые. Электрообогрев печи осуществляют пропусканием тока через шлаковый расплав. Ток подводят тремя графитовыми электродами, которые или погружены в шлак, или замыкаются на него открытой электрической дугой. Электроды могут вертикально перемещаться, таким образом изменяют силу тока и температуру в печи.
Для переработки в руднотермической печи пригодны шихты любой влажности, нет жестких ограничений на гранулометрический состав и со держание цинка в агломерате (20-60 % Zn), приемлемы высокозольные (до 20 %золы) со значительным содержанием летучих (до 6 %) угли, в которых, однако, не менее 60 % свободного углерода.

Рис. 122. Руднотермическая электропечь:
1 - печь; 2 - контейнер; 3 - электроды; 4 - питающий электрический трансформатор; 5 — конденсатор; б - зумпфы для жидких продуктов; 7 - летки
Во избежание таких осложнений можно повысить содержание серы в шихте и получить вместо чугуна штейн с меньшей t пл. При этом допустимо повышение СFe в шлаке.
Особенностью переработки цинкового агломерата в руднотермических печах является то, что в шихту вводят только стехиометрически необходимое количество восстановителя (кокса) для восстановления отгоняемых металлов (Zn, Pb, Cd) и для частичного восстановления железа. Степень восстановления железа выбирают такой, чтобы его содержание в шлаке превышало 1,5 %, так как при меньшем его содержании восстанавливаются кремний, магний, кальций, пары которых неблагоприятны для 246 конденсации цинка. Во всех ранее рассмотренных агрегатах, напротив, восстановитель задается со значительным избытком. Эта особенность обусловлена тем, что из руднотермической печи материал выгружается только в виде пара и жидких продуктов (шлак и чугун или штейн), а кокс не выводится и ограниченно газифицируется из-за отсутствия дутья. Поэтому избыток кокса будет накапливаться в печи, что нарушит материальный баланс в агрегате. Отсутствие избытка восстановителя приводит к меньшему р„„ в отходящих газах, несущих пары цинка. Это повышает долю оксида цинка в конденсате. Поэтому при руднотермической дистилляции цинка его конденсация требует специфических условий. Недостаток СО в газовой фазе компенсируется повышенной температурой ее на выходе из печи (~ 1000°С), при которой СO2 еще не окисляет Zn, а принудительно охлаждаемый и разбрызгиваемый в конденсаторе жидкий цинк позволяет быстро охлаждать и конденсировать парообразный цинк (см. §3).
В агломерате для руднотермической электроплавки необходимо иметь соотношение СаО: Si02 = (0,8-1,4): 1, что дает достаточно жидкотекучий шлак при 1350°С, не вызывающий осложнений при его выпуске из печи.
Шихту перед загрузкой в печь в течение 2 ч разогревают и прокаливают при 850—900°С в трубчатой вращающейся печи. При этом отгоняется влага, разлагаются карбонаты, частично восстанавливается Fe2O3 до FeO, отгоняются летучие из кокса. Прокалочную печь отапливают технологическим газом от электропечи, содержащим СО, Горячую шихту выгружают в теплоизолированный бункер и оттуда специальными контейнерами периодически (через 1 ч) загружают по 2-3 т в электропечь через воронки в ее своде, расположенные вдоль стен печи. Шихта образует откосы вдоль стен печи. Уровень откосов шихты, глубина шлакового, а под I ним чугунного расплава контролируются. Толщина шлакового и чугунного слоев должны быть достаточными для периодического выпуска значительных количеств этих продуктов без риска замыкания электрической дуги на подину и короткого замыкания через чугун. Температуру расплава поддерживают на уровне 1450°С. Защитой стенок от воздействия столь высокой температуры служат шихтовые откосы. Температура жидкого цинка в конденсаторе равна 500°С.
Руднотермическая электроплавка требует большего удельного расхода электроэнергии на 1 т цинка и дает более грязный цинк, чем шахтная электроплавка, но имеет преимущества в более низких требованиях к сырью, в подготовке шихты, в степени и комплексности извлечения металлов, проще в эксплуатации, требует менее дорогие огнеупоры.
Дистилляция цинка в шахтных печах отличается от прочих способов получения цинка из агломерата тем, что ведется на воздушном дутье, следствием чего является значительное количество технологических газов с низким содержанием цинка и значительным содержанием СO2 - Это требует других условий конденсации металлического цинка. Иными средствами достигается высокая прочность крупного агломерата, необходимого для шахтной печи.
Особенность шахтной цинковой плавки состоит в необходимости выдерживать жесткие технологические условия по составу отходящего газа, по температуре в печи и в конденсаторе.
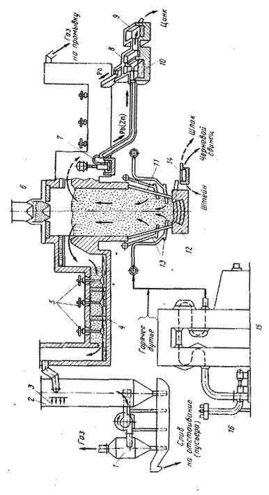
Сущность процесса состоит в том, что крупный и достаточно прочный агломерат [прочность достигается добавками в шихту агломерации свинцовых или свинцово-цинковых материалов так, чтобы в шихте отношение Zn:Pb=(2-3):1]; вместе с крупным коксом (без значительного избытка) пропускается через шахтную печь, работающую на воздушном дутье. В печи происходит углетермическое восстановление цинка частично из твердых фаз и частично из расплава. Цинк и часть свинца отгоняются и с отходящими газами поступают в конденсатор, орошаемый жидким свинцом. Из нижней части печи выпускают шлак и металлический свинец (не-возогнанная часть). Процесс разработан под руководством Моргана (S.W.К. Morgan) и промышленно осуществлен английской фирмой "Imperial Smelting Co" и назван IS-процессом. Этот процесс осуществляют в шахтной печи прямоугольного сечения. Стенки печи кессонированы, а в верхней части футерованы шамотным кирпичом (рис. 123). Длинные кессонированные стенки создают сужение печи книзу и через них введен двухярусный ряд фурм в узкую зону печи, что обеспечивает равномерное распределение воздушного дутья по центральной части сечения печи. Торцевые стенки вертикальны по всей высоте. Через боковые стенки выше уровня шихты печь сообщается с конденсаторами. Колошник печи закрытого типа. Шихту загружают через два колокольных затвора), и обеспечивают герметичность газового тракта), расположенных по длинной оси сечения.
Особенностью этого процесса является необходимость высокой температуры на верхнем уровне шихты, чтобы исключить окисление и преждевременную конденсацию металлического цинка (см. § 3).
Шахтные печи для IS-процесса имеют площадь сечения в области фурм 7-12,6 м2, высота зоны реакции 5,1-5,5 м, количество фурм 18-30 шт., производительность единичных агрегатов по шихте 100-300 т/сут.
Конденсаторы (один или два на печь) — прямоугольные камеры, футерованные карборундовым кирпичом в них имеются мешалки для разбрызгивания жидкого свинца, который циркулирует между конденсатором и ликвационной камерой, где поглощенный в конденсаторе цинк выделяется из свинца. Газы из конденсатора поступают в скруббер (мокрый пылеуловитель), который улавливает в виде пусьеры несконденсировавшуюся часть возгонов, и затем газы выбрасываются в атмосферу. Жидкие продукты плавки выпускают из печи в отстойную камеру, где расслаиваются и отдельно выпускаются шлак, штейн и черновой свинец.
IS-процесс ведут в непрерывном режиме. Загрузка шихты периодическая. Шихта состоит из агломерата и кокса одинаковой крупности (60-90 мм). Для поддержания высокой температуры на верхнем уровне шихты без увеличения количества технологических газов в печь загружают кокс, подогретый до 800°С. Агломерат готовят из цинкового концентрата, свинецсодержащего материала (руда, концентрат, полупродукт) и оборотных материалов так, чтобы в нем соотнощение по массе Zn:Pb = 1,8÷3,0 (снижение этого отношения вызывает настылеобразование в печи, а повышение снижает прочность агломерата).

Рис. 123. Шахтная печь для lS-процесса:
1 - циклон-брызгоуловитель; 2 - скруббер; 3 - водяные форсунки; 4- конденсатор; 5 - роторные мешалки; 6 - загрузочное устройство; 7 — насос для перекачки свинца; 8 - сифон для выпуска свинца; 9 - приемник для цинка; 10 - ликвационная ванна; 11 - корпус шахтной печи; 22 - горн печи; 13 — фурмы; 14 - отстойник для разделения шлака и чернового свинца; 15 - воздухонагреватель; 16 - вентилятор
Примерный состав агломерата, %: Zn 35-40; Pb 15-20; Si02 7-8; СаО 9-10; S< 1.
В печь подают подогретое до 600°С воздушное дутье не только через фурмы, но и в область над верхним уровнем шихты (12 % от общего объема дутья) для создания в отходящих из печи газах достаточно высокой (~ 1000°С) температуры, чтобы исключить окисление возгонов. В фокусе печи t ≈ 1400°С, чтобы исключить образование тугоплавкого чугуна (см. § 3). Расход кокса составляет 90 % от массы возгоняемого цинка (на свинец тепло не расходуется) плюс 20 % от массы образующегося шлака.
Принцип действия конденсатора основан на том, что свинец ограниченно растворяет цинк, растворимость растет с повышением температуры. Свинец в конденсаторе имеет температуру 560°С и содержит 2,4 % Zn; в ликвационной камере от охлаждается до 450°С, что вызывает выделение растворенного в нем цинка в верхнем жидком слое. Этот слой выпускают, а охлажденный свинец, содержащий 2 % Zn, вновь возвращается в конденсатор. Кампания печи длится от 4 мес до 1 года.
Состав чернового цинка, %: Zn 98,5-98,8; Pb 1,1-1,3; Cd 0,03-0,15; Сu 0,01-0,05; Sn 0,005-0,015; Fe 0,015-0,028; Ag 0,001-0,008; As 0,01-0,04. Состав чернового свинца, %: Pb 98,5-99; Zn 0,02-0,05; Cu 0,2-0,6; Sn 0,001-0,03; As 0,01-0,04; Sb 0,15-0,50; Bi 0,01-0,03; 430-460 Ag/т. Состав шлака, %: СаО 30-32; Si02 20-25; FeO 20-32; A1203 6-11;Zn 6-7; Pb 0,5-0,8; Cu 0,5. В черновой цинк выходит 91-93 % Zn, а в черновой свинец - до 89 % Pb. Черновые металлы подвергают рафинированию.
Оборотными материалами являются пусьера и дроссы (пыль, осевшая в конденсаторе, и продукты окисления цинка). В оборотные продукты переходит до 15 % от общего количества цинка в шихте.
Удельная производительность печи, т/(м2·сут): по шихте 12-32, по цинку 5-13, по свинцу 2,5-6. Площадь сечения печи в области фурм 17-27 м2.
Достоинства IS-процесса следующие: высокая производительность печей и их механизация; умеренный расход топлива; возможность комплексно перерабатывать разнообразное и сложное по составу сырье (коллективные концентраты, сульфидные руды, промпродукты обогащения и металлургического производства). К недостаткам процесса относятся высокие требования к качеству агломерата, низкое качество цинка, необходимость высококвалифицированного обслуживания.






