Рис.13.
Рис. 12. Детали двигателя подвесного мотора
Рис. 11. Двигатель подвесного лодочного мотора
1 — головка; 2 — верхняя крышка нижнего картера; 3 — проставка; 4 — нижняя крышка верхнего картера; 5 — гильза; 6 — цилиндр; 7 — поршень; 8 — поршневое кольцо; 9 — поршневой палец; 10 — шатун; 11— коленчатый вал; 12 — верхняя крышка верхнего картера; 13 — распределительный диск (золотник); 14 — нижняя крышка верхнего картера
Картеры двигателей отливаются из алюминиевого сплава и конструктивно выполняются с одним или несколькими разъемами в плоскости, перпендикулярной к оси коленвала («Салют», «Вихрь», «Нептун», «Привет-22»), по оси коленвала («Москва») или туннельного типа без разъемов («Ветерок»). В средней части картера («Вихрь», «Нептун», «Привет-22») расположен впускной канал, расходящийся на верхнюю и нижнюю кривошипные камеры, впуск смеси в которые производится через золотниковые шайбы, вращающиеся вместе с коленвалом (см. рис. 9). На двигателях с клапанным впуском («Ветерок», «Москва», «Прибой») к картеру крепится клапанная перегородка с пластинчатыми клапанами, открывающимися при образовании достаточного разрежения в кривошипной камере.
|
|
|
Коленвалы двигателей подвесных лодочных моторов изготовляются цельными при разъемных нижних головках шатунов («Ветерок», «Прибой», «Москва») или составными при неразъемных головках («Вихрь» «Нептун», «Привет-22», «Салют»). Разборные коленвалы двухцилиндровых двигателей состоят из двух кривошипов, соединяемых между собой с помощью оси («Нептун»), торцевых шлиц («Вихрь») или цанговым соединением («Привет-22»). На верхнем клапане коленвала предусматривается конус со шпонкой для посадки маховика. Нижний конец для соединения с вертикальным валом имеет отверстие со шлицами («Ветерок», «Москва», «Прибой», «Нептун») или квадратный хвостовик («Вихрь», «Привет-22», «Салют»). Коленвалы штампуются из легированной хромоникелевой стали.
Маховики двигателей подвесных лодочных моторов помимо основного назначения — уменьшения неравномерности вращения коленвала — используются для размещения магнитной системы магнето. В обод маховика заливаются («Ветерок», «Москва») или крепятся с помощью винтов («Вихрь», «Нептун», «Привет-22») постоянные магниты с полюсными наконечниками.

1 — кольца поршневые; 2 — поршневой палец; 3 — кольцо стопорное; 4 — поршень; 5 — блок цилиндров; б — сальник; 7 — роликоподшипник верхний; 8 — коленчатый вал; 9 — игольчатый подшипник; 10 — винт головки шатуна; 11 — картер; 12 — роликоподшипник нижний;13 — крышка нижней головки шатуна; 14 — шатун
Шатуны штампуются из легированной стали. Их стержни выполняются двутаврового сечения, хорошо противостоящего изгибу. Разъемная кривошипная головка шатуна имеет крышку с фиксирующим изломом, соединяющуюся с телом шатуна двумя шатунными болтами. Неразъемная конструкция головки обеспечивает более высокие жесткость и надежность кривошипно-шатунного механизма, но вызывает необходимость замены всего узла (коленвала с шатуном) при износе или повреждении одной из деталей. Шатунные подшипники в двигателях подвесных лодочных моторов выполняются роликовыми или игольчатыми со свободными иглами («Ветерок», «Салют») или с сепаратором («Нептун», «Привет-22», «Вихрь», «Москва-25»). В поршневую (верхнюю) головку шатуна запрессовывается бронзовая втулка, служащая подшипником скольжения для поршневого пальца (кроме мотора «Привет-22» с игольчатым подшипником верхней головки шатуна).
|
|
|
Поршни отливаются из алюминиевых сплавов. Днище поршня в зависимости от типа продувки может быть выпукло-сферической формы или со специальным козырьком (дефлектором). Уплотнение зазора между цилиндром и поршнем производится двумя — тремя поршневыми кольцами, изготовляемыми из высокопрочного мелкозернистого чугуна. Для исключения проворачивания колец и поломок из-за попадания их замков в просветы окон кольца фиксируются общим или индивидуальными для каждого кольца стопорами.
Поршневые пальцы, как правило, плавающей конструкции — вращаются не только в верхней головке шатуна, но и в бобышках поршня. От перемещений в осевом направлении палец фиксируется двумя пружинными стопорными кольцами, устанавливаемыми по его концам в канавки бобышек поршня. Изготовляются поршневые пальцы из цементируемой низкоуглеродистой стали.
В систему питания и смесеобразования двигателей подвесных лодочных моторов входят топливный бак, гибкий соединительный топливный шланг с ручной подкачивающей грушей, топливный насос, карбюратор и соединительные шланги (рис. 13). Более просто устроена система питания маломощных одноцилиндровых подвесных лодочных моторов («Салют», «Стрела») со встроенным бензобаком и поступлением топлива самотеком. Карбюраторы поплавкового типа оборудованы системами и устройствами, обеспечивающими обогащение топливной смеси при пуске двигателя, работу в эксплуатационном диапазоне нагрузок и быстрый переход от малой нагрузки к полной, стабильность качественного состава смеси при полной нагрузке и экономичность. Карбюратор мотора «Салют-М» — с центральной поплавковой камерой и цилиндрическим золотником. Карбюраторы КЗЗБ («Ветерок-8Э») и КЗЗВ («Ветерок-123») — горизонтального типа, с боковым расположением поплавковой камеры — максимально унифицированы между собой и отличаются только размерами диффузора.

Карбюратор типа К36 — поплавкового типа с горизонтально расположенной камерой — используется на моторах «Нептун-23» (К36Л) и «Москва-25», «Москва-30» (К36Н). Карбюраторы моторов семейства «Вихрь» и мотора «Привет-22» — поплавкового типа с горизонтальным расположением поплавковой камеры. Они отличаются диаметром проходного сечения главного жиклера и диффузора, мм:
«Вихрь» «Вихрь-М» «Вихрь-30» «Привет-22»
Главный жиклер 1,2 1,25 1,5 1,2
Воздушный жиклер 0,52 0,52 0,52 0,52
Диффузор 25 25 26,5 25
В двигателях подвесных лодочных моторов системы питания и смазки совмещены — масло добавляется непосредственно в топливо и подается в двигатель по общей топливной системе. Смесь бензина с маслом распыливается в карбюраторе, смешивается и засасывается в картер, где масло оседает на поверхности деталей, покрывая их тонкой пленкой. Масляный туман, образующийся в картере при вращении кривошипа, смазывает шатунные и коренные шейки коленвала, подшипники верхних головок шатуна, поршневые пальцы, зеркало цилиндра.
|
|
|
ПРОЧИЕ АГРЕГАТЫ И СИСТЕМЫ ПОДВЕСНОГО МОТОРА
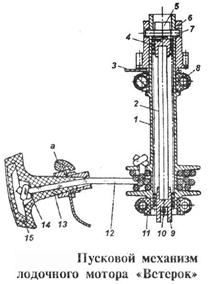
Пусковое устройство подвесных лодочных моторов оборудуется механизмом с самоубирающимся шнуром. Можно выделить два конструктивных решения пускового устройства лодочных моторов: механизм верхнего расположения, в котором зацепление с маховиком производится посредством собачки или собачек, расположенных на шкиве-блоке («Вихрь», «Нептун», «Москва» (см. рис. 14), «Салют»), и механизм нижнего расположения, пусковая шестерня которого входит в зацепление с зубчатым ободом маховика («Ветерок» (см. рис. 15), «Привет-22», «Прибой»). В качестве аварийного на всех моторах предусмотрен запуск с помощью шнура, наматываемого на верхнюю часть маховика. Лодочные моторы «Вихрь-30» и «Москва-25АЭ» («Москва-ЗОЭ») снабжены электрозапуском. В моторе с электрозапуском «Вихрь-30» система электропитания дополнена аккумуляторной батареей 6СТ42 (6СТ45), выпрямителем для подзарядки аккумуляторной батареи и электростартером.

Рис.14. Пусковой механизм лодочного мотора «Москва»
I — корпус; 2 — крышка; 3 — ручка; 4 — шайба; 5 — шнур; 6 — колпачок, 7 — шкив-блок; 8 — скоба; 9 — пружинная шайба; 10 — собачка;
II — пружина

Рис.15. Пусковой механизм лодочного мотора «Ветерок»
1 — шкив; 2 — пружина; 3 — пружина тормозная; 4 — пружина; 5 — упор; 6 — шестерня; 7 — штифт; 8 — подшипник верхний;
9 — упор; 10 — штифт; 11 — подшипник нижний; 12 — шнур;
13 — ручка; 14 — шайба; 15 — вкладыш; а — кожух нижний
Система охлаждения отечественных подвесных лодочных моторов — водяная, проточная, состоящая из водозаборника, насоса и трубопроводов (рис. 16). Охлаждающая вода подается в двигатель насосом, в качестве которого используется преимущественно помпа коловратного типа. Коловратная помпа состоит из корпуса и резиновой крыльчатки, в ступицу которой залита латунная втулка («Ветерок», «Москва», «Нептун», «Вихрь»). На моторах «Привет-22» и «Салют-М» установлен водяной насос бесконтактного вихревого типа.

Рис.16. Система охлаждения подвесного мотора «Нептун».
|
|
|
1 – правый патрубок; 2 – экран левого патрубка; 3 – экран правого патрубка; 4 – левый патрубок; 5 – контрольное отверстие.
Успешное изучение устройства маломерного моторного судна, его агрегатов, механизмов и систем возможно только при условии повседневных занятий курсантов с использованием руководств по устройству и эксплуатации маломерных судов.
Литература для самостоятельного изучения:
1. Шатров В.И. Устройство и управление шлюпкой. Учебное пособие. - М.:РосКосульт,1998.(Инв.615у) с.5-24.
2. Катера и моторы. Справочное пособие. - Н.Новгород: Изд-во»Нижегородская ярмарка», 1998. - 46с. (Инв.618у).
3. Земляновский Д.К. Краткий словарь для судоводителя речного флота. - М.: Транспорт, 1995.-240с. (Инв.619у).
4. Морские и речные термины. Словарь. - М.: «Былина», 1997. - 336с. (Инв.620у).
5. Машины инженерного вооружения, кн. 2. - М.:Воениздат, 1986. с.11-17.
Разработал:
Заведующий кафедрой: «Защита в ЧС» И.В. Клочков






