Сорбционный форвакуумный насос.
В насосах такого типа в качестве рабочего тела применяют цеолиты на основе высокопористых алюмосиликатов. Перед применением насоса его предварительно обезгаживают путем прогрева при температуре 200 0С в течение 20 часов. Затем насос соединяют с вакуумной системой и охлаждают жидким азотом до температуры 77 0С. Насосы такого типа обеспечивают предварительную безмасляную откачку исследовательских или небольших технологических установок. Насос такого типа эффективно откачивает воздух, пары воды и аргон. Скорость откачки других инертных газов и водорода мала.
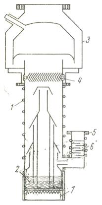
Насосы такого типа широко применяют в различных исследовательских и технологических установках, так как они характеризуются простотой эксплуатации и высокой скоростью откачки. В качестве рабочих жидкостей применяют минеральные или синтетические масла, полиэфиры, ртуть. Обычно на входе насоса размещена охлаждаемая жидким азотом сорбционная ловушка и отражательная ловушка паров масла. Схема наоса приведена на Рис. 3.

Рис. 3. Схема диффузионного насоса. 1 – змеевик водяного охлаждения, 2 – фракционирующий испаритель, 3 – охлаждаемая ловушка, 4 – маслоотражатель, 5 – форвакуумная линия, 6 – отражатель, 7 - электронагреватель.
В диффузионных насосах плотный пар рабочей жидкости вытекает из сопла в откачиваемую систему со сверхзвуковой скоростью. Он сталкивается с молекулами газа, увлекает молекулы и сообщает им импульс в направлении форвакуума. В нижней части насоса размещен испаритель рабочей жидкости. Пар поднимается вверх по концентрическим паропроводам, включающим систему трех концентрических сопел. Над верхним соплом находится водоохлаждаемый маслоотражатель, а выше – охлаждаемая ловушка паров масла. Пар отражается соплами в сторону охлаждаемой водой стенки насоса, конденсируется и стекает в испаритель.






