Классификация по конструктивным характеристикам.
Классификация по характеру изменения параметров процесса во времени.
Классификация по способу организации процесса.
Классификация химических реакторов по фазовому составу реакционной массы.
Классификация химических реакторов по условиям теплообмена.
Классификация химических реакторов по гидродинамической обстановке.
По гидродинамической обстановке реакторы подразделяют на реакторы смешения и вытеснения.
Реакторы смешения – это емкостные аппараты с перемешиванием механической мешалкой или циркуляционным насосом. Иногда в качестве способа перемешивания используется барботаж газообразного реагента через слой жидкой реакционной массы.
Реакторы вытеснения – трубчатые аппараты, достаточно большой длины по сравнению с диаметром. В таких аппаратах течение реакционного потока имеет поршнеобразный характер. Перемешивание в таких реакторах имеет локальный характер и вызывается неравномерностью распределения скорости потока и его флуктуациями, а также завихрениями.
В теории реакторов обычно рассматривают идеальные варианты этих аппаратов – реактор идеального или полного смешения и реактор идеального или полного вытеснения.
Для идеального смешения характерно абсолютно полное выравнивание всех характеризующих реакцию параметров по объёму реактора.
Идеальное вытеснение предполагает равенство по сечению реактора скоростей потока. Перемещение реакционной массы по длине реактора носит строго поршнеобразный характер. В то же время по длине реактора в соответствии с закономерностями протекания реакции устанавливается определённое распределение концентраций участников реакции, температуры и других параметров.
При отсутствии теплообмена между реактором и окружающей средой химический реактор является адиабатическим. Вся теплота, выделяющаяся или поглощающаяся в результате химических реакций, расходуется на внутренний теплообмен, т.е. на нагрев или охлаждение реакционной смеси.
Если теплообмен с окружающей средой протекает гораздо быстрее, чем тепловыделение или теплопоглощение, то во всех точках реакционной зоны обеспечивается постоянство температуры и такой реактор называется изотермическим.
Реакторы, в которых скорости тепловыделения или теплопоглощения соизмеримы со скоростями теплообмена с окружающей средой, температурный режим представляет собой результат баланса между этими процессами и в общем случае это обусловливает неравномерность распределения температуры в реакционной зоне. Такие реакторы называются политермическими.
Особо следует выделить автотермические реакторы, в которых поддержание необходимой температуры процесса осуществляется исключительно за счёт теплоты химического процесса без использования внешних источников энергии. В практике химической технологии стремятся к тому, чтобы химические реакторы, особенно в крупнотоннажных производствах, были автотермическими.
Реакторы для проведения гомогенных процессов подразделяют на аппараты для газофазных и жидкофазных реакций. Аппараты для проведения реакций с двухфазными системами подразделяют на газо-жидкостные, реакции для систем газ – твёрдое тело, жидкость твёрдое тело и др. Особо выделяют реакторы для гетерогенно-каталитических процессов.
По способу организации процесса (способу подачи реагентов и отвода продуктов) реакторы подразделяют на периодические, непрерывные и полунепрерывные (поулпериодические).
В реакторе периодического действия все реагенты вводят в реактор до начала реакции, смесь выдерживают в реакторе необходимое время, после чего производится выгрузка продуктов. Продолжительность операции от момента загрузки до момента выгрузки соответствует времени реакции. Обычно параметры технологического процесса в периодическом реакторе изменяются во времени. Недостатки периодических реакторов – цикличность работы, низкая производительность, большие затраты ручного труда. Такие реакторы выгодны при организации малотоннажных производств, т.к. в ходе операции можно строго следить за параметрами, поддерживая их на оптимальном уровне.
В реакторе непрерывного действия (проточном) производится непрерывная подача реагентов в реакционную зону и непрерывный отвод продуктов. Эти реакторы обеспечивают высокую производительность и их применение особенно выгодно при организации крупнотоннажных производств.
Реактор полунепрерывного (полупериодического) действия характеризуется тем, что один из реагентов поступает в него непрерывно, а другой – периодически. Возможны варианты, когда реагенты поступают в реактор периодически, а продукты реакции выводятся непрерывно, или наоборот.
Согласно этой классификации различают реакторы, работающие в стационарном и нестационарном режиме.
Режим работы реактора называют стационарным, если протекание химической реакции в произвольно выбранной точке реактора характеризуется постоянством концентраций реагентов и продуктов, скорости и других показателей во времени. В стационарном режиме показатели потока на выходе из реактора не зависят от времени. Это постоянство показателей определяется двумя факторами: стационарностью режима и постоянством состава параметров потока на входе в реактор.
Если в произвольно выбранной точке происходит изменение параметров химического процесса во времени, режим работы реактора называется нестационарным.
Стационарный режим обычно выдерживается в непрерывно действующих проточных реакторах. Но даже эти реакторы работают в нестационарном режиме в период пуска и установки. В ряде случаев имеет место дрейф показателей непрерывных процессов, например, когда катализатор во времени меняет свою активность.
Нестационарными являются все периодические процессы. Это можно проиллюстрировать рядом примеров. Так, если в реактор единовременно загрузить реагенты А и В, а затем выдерживать реакционную массу во времени, то в связи с расходом А и В и накоплением продуктов реакции во времени их концентрация будет меняться по мере проведения процесса.
В другом варианте к загруженному единовременно реагенту А добавляется равномерно во времени другой реагент В. В этом случае А будет расходоваться во времени и его концентрация будет снижаться. Концентрация В будет постоянной, поскольку расход его в реакции будет компенсироваться прибылью его новых порций за счет подачи. В то же время количество продуктов реакции будет нарастать во времени.
Нестационарные реакторы характеризуются положительным или отрицательным накоплением вещества или энергии в реакторе, например, для периодических ректоров характерно положительное накопление продуктов и отрицательное накопление (убыль) реагентов. При протекании в таком реакторе экзотермической реакции в отсутствие теплообмена с окружающей средой будет иметь место накопление тепла, что приведет к росту температуры.
Стационарные проточные реакторы проще для моделирования, т.к. их работа описывается более простыми уравнениями. Например, скорость реакции в проточных реакторах смешения характеризуется алгебраическими уравнениями. Стационарные процессы легче автоматизировать.
Нестационарность процесса в реакторе вносит определенное усложнение в описание реактора и в управление его работой, однако во многих случаях нестационарные режимы технологических процессов, протекающих в химических реакторах, легче приблизить к оптимальным.
Химические реакторы отличаются друг от друга по ряду конструктивных характеристик, оказывающих влияние на расчет и изготовление аппаратуры.
Конкретная конструкция реактора определяется рядом факторов: фазовым составом реакционной массы, режимом процесса, физическими свойствами реакционной смеси и др. Различают реакторы для гомогенных, гетерогенных и гетерофазных процессов.
Рассмотрим наиболее типичные реакторы для гомогенных процессов. Среди них различают емкостные и трубчатые. Емкостные аппараты – периодические и проточные – снабжены мешалками, конструкции которых разнообразны: пропеллерные (рис. а), лопастные (б), турбинные с центральной трубой (в), обеспечивающие наиболее интенсивное перемешивание реакционной массы. Особый тип мешалок – для вязких жидкостей – рамные и червячные (г,д).



а) б) в)


г) д)
В случае необходимости подвода или отвода тепла предусматриваются теплообменные устройства в реакторах. В качестве таковых используются рубашки или теплообменники внутри реактора в виде змеевиков или секций трубок (е)

е)
Реакторы а, б, г) используются в периодических процессах, реакторы в), д) – в непрерывных. В то же время реактор а) может быть приспособлен для непрерывного режима, однако в этом случае необходимо изменить порядок подачи реагентов и отвода продуктов реакции: снизу – реагенты, сверху – продукты. В последнем случае необходимо организовать отвод через боковой штуцер.
Типичным примером трубчатого реактора является реактор типа "труба в трубе" (3).
В таком реакторе теплоноситель циркулирует через рубашку реактора. Выбор пространства для теплоносителя и реакционной массы определяется тем, какой из этих потоков быстрее загрязняет пространство. Для того, который загрязняет быстрее, выбирается внутренняя труба, т.к. ее проще прочищать. Если требуется достаточно большое время пребывания реакционного потока в зоне реакции, то выбирается многосекционный аппарат "труба в трубе" (ж).
В высокотемпературных процессах (например) в термическом крекинге углеводородов проще помещать секцию трубок в камеру сгорания, в которой аккумулируется тепло, необходимое для обеспечения необходимой температуры (з). Такие реакторы называются трубчатыми печами.


Реакторы для гетерогенных процессов с твердой фазой.
Простейшим вариантом аппаратурного оформления подобных реакций является полый цилиндрический реактор, заполненный твердой фазой, через которую циркулирует газообразный реагент (а).

В таком реакторе проводят многие процессы адсорбционной очистки газов и жидкостей, например, очистку природного газа от серосодержащих соединений. Вначале S-Содержащие компоненты гидрируются до H2S

который затем поглощают оксидом цинка

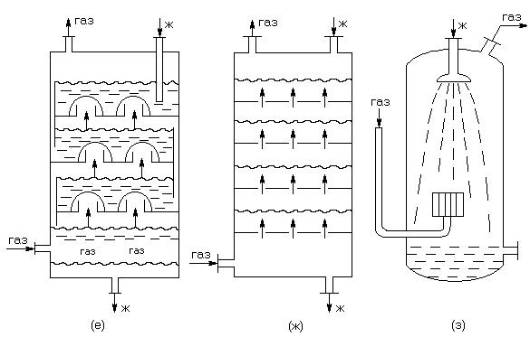
Поглощение H2S происходит в сравнительно небольшом слое. По мере отработки первых слоев сорбента зона реакции продвигается дальше. После проявления "проскока" H2S (неполного его поглощения из-за исчерпывания сорбента) поглотитель заменяют. Недостаток такого процесса – его цикличность. Для организации непрерывного процесса обновления твердой фазы предлагается процесс, осуществляемый в многоколоночном реакторе, снабженном скребком на каждой полке, которые передвигают материал по полке и пересыпают его с одной полки на другую (б). Так устроен реактор обжига серного колчедана. Удобен и распространен процесс непрерывного движения твердого материала на вращающейся наклонной трубе (в). Классическим примером является вращающаяся печь получения клинкера в цементном производстве. Такого же типа реактор аммиачный нейтрализатор в производстве двойного суперфосфата.
Химические процессы "газ - твердое тело" протекают значительно интенсивнее при увеличении степени дробления твердого реагента. В реакторах с неподвижным слоем твердого реагента это сделать практически невозможно, поскольку с увеличением степени дисперсности резко возрастает гидравлическое сопротивление слоя, возрастает вероятность слипания


и комкования мелких частиц – в псевдоожиженном (г) или фонтанирующем (д) слоях, с распылительным инжектированием твердого материала через специальную форсунку (е) и в режиме пневмотранспорта (ж).
Основные недостатки этих способов – эрозия стенок аппарата, дробление частиц, унос пыли и загрязнение его газового потока.
Если используются системы ж – твердое тело, то организовать процесс суспензирования гораздо легче из-за близости плотностей компонентов. Поэтому для таких систем используют реактор с мешалкой, подобный изображенному на рис. б) для гомогенного процесса. Такой тип реактора типичен для кислотного разложения аппатита.
Реакторы для гетерогенно-каталитических процессов.
Наиболее распространенным типом реакторов являются реакторы с неподвижным слоем катализатора. Для адиабатического режима катализатор в виде частиц различной формы засыпают в аппарат (а). Характерный размер частиц (зерен) катализатора составляет 3-8 мм. Слой располагается на жесткой опорной решетке, выдерживающей массу катализатора и перепад давления в слое. Масса загруженного катализатора может составлять тонны и даже десятки тонн в крупнотоннажных производствах (серной кислоты, аммиака). Чтобы мелкие зерна катализатора не проваливались и не закрывали отверстия в опорной решетке, на нее обычно насыпают тонкий слой крупнокускового материала, а сверху – катализатор.
Катализатор насыпают "в навал", после чего требуется тщательное выравнивание слоя для обеспечения равномерного прохождения через него реакционной смеси.
Использование варианта адиабатического реактора часто приводит к большим перепадам температур по высоте каталитического слоя и существенного отклонения средней температуры от ее оптимального значения. Для того, чтобы приблизить температурный режим к оптимальному используются многотоннажные (многосекционные) реакторы, в которых выравнивание температурного режима осуществляют съемом или подводом тепла с помощью теплообменных устройств между секциями или путем подачи между секциями захоложенного или перегретого реагента (компонента) (б,в).
Часто необходим отвод тепла непосредственно из реакционной зоны. С этой целью используют реакторы типа кожухотрубных теплообменников – универсальный тип каталитического реактора (г). Обычно в трубки загружают катализатор, а в межтрубное пространство поступает теплоноситель. Если необходимо снимать тепло, то в межтрубное пространство снизу поступает конденсат, а сверху отводится водяной пар. В другом варианте в межтрубном пространстве циркулирует солевой расплав – нитрит-нитратная смесь – NaNO3-NaNO2-KNO3. Аккумулированное им тепло далее используется для генерирования водяного пара. Диаметр трубок обычно невелик, так как объем тепла лимитируется теплопроводностью в каталитическом слое и при большом диаметре следует ожидать высоких градиентов температур по сечению каталитического слоя.
Для обеспечения теплотой эндотермических процессов используют горячие дымовые газы. В последнем случае реактор представляет собой трубчатую печь (д).Отводить тепло реакции можно не только теплоносителем, но и свежей реакционной смесью.
Другая группа реакторов – со взвешенным (кипящим) или восходящим слоем катализатора. При подаче реакционной смеси снизу слоя с достаточной скоростью твердые частицы будут витать в воздухе, не уносясь с ним (е); в этом случае применяют частицы не крупнее 1 мм. Это обеспечивает полное использование их внутренней поверхности. Циркулирующие частицы выравнивают температуру в слое – процесс в нем протекает практически изотермически. Интенсивное движение частиц обеспечивает хороший теплоотвод – коэффициент теплоотдачи от кипящего слоя более чем на порядок превышает таковой от неподвижного слоя. подвижность каталитического слоя дает возможность организовать течение твердых частиц через реактор, что существенно для процесса с меняющейся активностью катализатора. Благодаря этому можно организовать непрерывный транспорт его из зоны реакции в зону регенерации и обратно. В целом такая система "реактор – регенератор" обеспечивает непрерывность процесса в целом. Такой тип реакционного узла можно организовать в процессе каталитического крекинга нефтепродуктов, в котором катализатор быстро закоксовывается, теряя свою активность. Его непрерывно выводят из реактора в регенератор (ж), где происходит "выжигание" кокса и восстанавливается активность катализатора.

При организации псевдоожиженного слоя часть газа проходит слой в виде пузырей. Коэффициент массопередачи между пузырями и остальной частью слоя невысокий - фактически образование пузырей газа – это образование байпасных потоков. Это нежелательное явление, т.к. в пузырях реакция не идет и это в целом снижает производительность. Устраняется это явление путем разбивки пузырей. Это осуществляется специальной массообменной насадкой, например, в виде проволочных спиралей. Другой способ заставить работать пузыри – добавить в катализатор очень мелкую фракцию. Такая катализаторная "пыль" попадает в пузыри, где частично будет протекать реакция.
Циркуляция частиц в псевдоожиженном слое вызывает истирание катализатора. Для очистки газа от пыли после реактора устанавливают циклоны.
Если скорость газового потока будет такой, что твердые частицы будут увлекаться им, то реализуется режим пневмотранспорта (з) и реакция в восходящем потоке катализатора. Такая организация процесса эффективна для быстрых реакций – т.к. время прохождения реакционной смеси в длинном узком реакторе небольшое. Теплота реакции идет не только на нагрев (охлаждение) реакционной массы, но и на нагрев (охлаждение) летящего с ней твердого катализатора, теплоемкость которого в 3000-600 раз больше теплоемкости газа. Процесс протекает почти изотермически. Отделив катализатор в циклоне, его нагревают или охлаждают в отдельном аппарате и возвращают в процесс.
Реакторы для гетерофазных процессов.
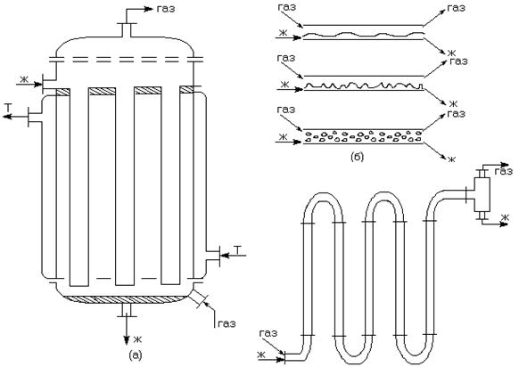
Принципиально взаимодействие газа с жидкостью осуществляется тремя способами: прямоточное и противоточное движение сплошных потоков газа и жидкости, барботаж газа через жидкость (газ диспергирован в объеме жидкости), разбрызгивание жидкости в газе (жидкость диспергирована в объеме газа).

В трубчатом реакторе (а) жидкость стекает по стенкам трубок и контактирует со встречным потоком или попутным потоком газа. Это наиболее организованный процесс, т.к. здесь строго поддерживается поверхность контакта фаз, равная поверхности трубок. Тепловой режим поддерживается регулированием температуры трубок. Обычно такие реакторы используют в малотоннажных производствах тонкого органического и неорганического синтеза. Эти реакторы характеризуются устойчивостью гидродинамического и температурного режимов, однако у них низкая производительность из-за низкой поверхности контакта фаз.
Более интенсивное взаимодействие фаз достигается при попутном газожидкостном потоке (б). В зависимости от скорости потоков возможны различные режимы течения: полное расслоение фаз, раздельное течение с сильно возмущенной развитой поверхностью контакта фаз, хорошо перемешанный газожидкостной поток. Указанные режимы наблюдаются последовательно с возрастанием скорости потоков, особенно газового. Скорость развитого газожидкостного потока составляет несколько метров в секунду. Такие реакторы компактны даже при необходимости большого времени контакта – их делают в виде змеевика. В них достигается высокий коэффициент массопередачи. Такого типа реактор используется в производстве полиэтилена и окислении этилена в ацетальдегид.
Более распространены насадочные реакторы (в). В такой аппарат засыпается инертная насадка – сравнительно небольшие элементы, по поверхности которых стекает жидкость, а в пространстве между ними, как правило, противотоком движется газ. Размеры элементов насадки (кольца, шары и др.) в среднем составляют 10-50 мм. Внешняя поверхность элементов и, следовательно, поверхность контакта фаз составляет сотни квадратных метров в кубометре слоя и поэтому взаимодействие фаз происходит достаточно интенсивно. В то же время производительность таких реакторов ограничивается недостаточно интенсивным режимом движения, т.к. жидкость движется не принудительно, а за счет силы тяжести. Попытки интенсифицировать режим движения за счет увеличения скорости газа приводят к режиму "захлебывания", когда скорость прохождения жидкости существенно снижается.
Простейшее взаимодействие жидкости и газа – барботаж последнего через жидкость (г, д). Вариант (г) предназначен для периодического процесса, вариант (д) – для непрерывного.

Интенсивность взаимодействия фаз при барботаже зависит от скорости всплытия пузырей и их размера. Скорость всплытия определяется гравитационными силами и поэтому ограничена. Размеры пузырей можно варьировать в ограниченных пределах – в свободном барботаже мелкие пузыри сливаются, а крупные неустойчивы и быстро распадаются. В полых барботажных аппаратах создать мелкодисперсную газовую фазу в жидкой можно, используя для этого принудительное перемешивание. Размер пузыря зависит от выходного отверстия в барботере, однако в реакции свободного барботажа они удерживаются лишь в тонком слое жидкости. Однако если сделать многосекционный реактор, где каждая секция представляет собой тарелку, заполненную жидкостью, через которую пробулькивает газообразный реагент, то на каждой тарелке газ будет только диспергирован, и это обеспечит высокие скорости массообмена. Варианты таких многосекционных реакторов различны. Это могут быть колонны с колпачковыми тарелками, снабженными переливными устройствами (е) или ситчатыми провальными тарелками (ж). В реакторе (з), наоборот, жидкая фаза диспергируется в потоке газа. Для диспергирования жидкости используются специальные разбрызгиватели (форсунки). Мелкие капли более устойчивы в размерах, но скорость их падения определяется силами гравитации и скоростью встречного газа. Поэтому степень диспергирования должна быть оптимальной.







