Радиационная литография.
В последние годы все большее применение находят методы радиационной литографии, которая подразделяется на электронно-лучевую литографию, рентгеновскую литографию и ионно-лучевую литографию.
В технологиях электронно-лучевой литографии используют пучки электронов с энергий до 20 кэВ и диаметром луча до 100 Ангстрем. Развиваются две разновидности технологии – сканирующая и проекционная литография. Сканирующая электронно-лучевая литография применяется в основном для изготовления фотошаблонов и позволяет получать линии с шириной до 0,05 мкм. Производительность сканирующих систем невелика, что не позволяет использовать их для непосредственного экспонирования фоторезиста. Проекционная электронно-лучевая технология во многом аналогична проекционной фотолитографии. Достоинствами ее являются отсутствие дифракции, уширяющей изображения, более высокая глубина резкости. В технологиях производства интегральных микросхем часто используют гибридную литографию, сочетающую электронную и обычную оптическую литографию, что обеспечивает высокую производительность процесса.
При использовании рентгеновского излучения или излучения синхротронных источников методами литографии возможно получение многослойных структур с размерами 0,05 мкм. В качестве шаблонов применяют тонкие кремниевые пластины, на которых сформирован рисунок на основе пленки золота, интенсивно поглощающего рентгеновское излучение.
Применение ионных пучков для литографии позволяет исключить не только процессы дифракции, характерные для оптической литографии, но и процессы диффузного рассеяния электронов, которые ограничивают минимальные размеры элементов в электронно-лучевой литографии.
Возможность уменьшения размеров элементов при производстве микросхем во многом определяется уровнем селективности при травлении структур. Например, селективность травления (Si/SiO2) должна превышать 40, селективность травления (SiO2/Si) – превышать 30, селективность травления (Al/SiO2) – превышать 30. Кроме того, коэффициент анизотропии при травлении должен быть не менее 5 – 10 при скорости травления до 0,2 мкм/мин. Указанные параметры труднодостижимы при обычном химическом травлении, однако могут быть достигнуты при использовании технологий плазмохимического травления в активных газовых смесях.
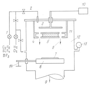
На Рис. 5 приведена схема магнетронной пушки для реактивного ионно-лучевого травления.

Рис. 5. Схема магнетронной пушки для реактивного ионно-лучевого травления.
На Рис. 5 обозначено: 1 – игольчатый натекатель, 2 – вентиль, 3 – анод, 4 – катод, 5 – магнит, 6 – ионный пучок в кольцевом зазоре, 7 – обрабатываемая пластина, 8 – охлаждаемый держатель подложек, 9 – диффузионный насос, 10 – источник ВЧ – мощности, 11 – зона разряда, 12 – зона травления, 13 - ионизационный вакуумметр, 14 – заземление.
Разряд в магнетроне горит между анодом и катодом, на который подано высокочастотное напряжение. Давление в разрядной камере составляет 7*10-2 Па. Величина ионного тока на выходе ионной пушки достигает 10% от тока разряда, составляющего до 1000 мА. В качестве рабочих газом могут быть использованы C2F6, SiF4, BF3 и их смеси с O2, N2, H2.
На рис. 6 в качестве примера приведены основные параметры устройства: зависимости скорости травления кремния и оксида кремния в C2F6 от тока разряда (Рис. 6 а) и значения параметра селективности травления s (SiO2/Si) в различных газах (Рис. 6 б).

а б
Рис. 6. Зависимости скорости травления и селективности травления s (SiO2/Si) от тока разряда в ионной пушке.
Параметры технологического процесса травления кремния и оксида кремния сильно зависят от наличия примесей кислорода, азота и водорода в составе газовой смеси. Например, при содержании C2F6: Н2 ≈ 1: 1 скорость травления оксида кремния несколько уменьшается, но еще более сильно уменьшается скорость травления кремния, так что параметр селективности травления достигает 25.






