Эксцентриситетом алидады горизонтального круга называют несовпадениеоси алидады центром лимба горизонтального круга.
В результате исследования эксцентриситета алидады у теодолитов с двусторонней системой отсчета выясняют точности центрирования оси алидады и горизонтального круга.
При исследовании эксцентриситета алидады у теодолитов с односторонним отсчетом, кроме того, определяют величину двойной коллимационнойпогрешности 2с, которая необходима дляустановления допусков на колебания этой погрешности и на расхождения значений углов в полуприемах.
При исследовании эксцентриситета алидады переставляют алидаду, оставляя круг неподвижным, а при исследовании эксцентриситета круга переставляют круг при неподвижной алидаде.
При исследовании эксцентриситета алидады теодолита 3Т2КП качестве индекса используют штрих вертикального круга, видимый после поворота переключающей призмы на 45°. Исследования проводят через 30° прямым и обратнымходами в следующем порядке: устанавливают рукояткой микрометра отсчет 5’00"; устанавливают вращением лимба (или алидады) отсчет φ; совмещают диаметрально противоположные штрихи лимба φ и φ + 180 с помощью наводящих винтов и записывают отсчет а = 5’00";вводят поворотом переключателя изображение штрихов горизонтального круга в поле зрения отсчетного микроскопа; совмещают рукояткой микрометра штрих φ с принятым индексом и записывают отсчет d; устанавливают переключатель в горизонтальное положение, а отсчет по микрометру — на 5’00". Для каждой установки лимба (алидады) находят разности υ=4(а—d). Средние значения ‚ из прямого и обратного ходов используют для вычисления элементовэксцентриситета: углового значения ε, линейнойвеличины е, направления эксцентриситета р. Вычисления проводят по формулам:
|
|
|

;
(58)
где
R – радиус круга. Синусоиду строят по ординатам
(60)
Осевой эксцентриситет определяют по элементам эксцентриситета алидады и лимба по формуле
(61)
Угловое значение эксцентриситета алидады у теодолитов типа 3Т2КП не должно превышать 40″.
Теодолит 3Т5КП имеет одностороннее отсчетное устройство по лимбам, поэтому эксцентриситет алидады горизонтального круга исследуют в таком порядке.
Для исследования в 20...30 м от теодолита по окружности через 45º или 60º на одной высоте с прибором устанавливают марки. Переставляя алидаду по часовой стрелке, при неизменном положении горизонтального круга последовательно визируют трубой при КП на каждую марку и отсчитывают по шкале отсчетного приспособления. Переведя трубу через зенит, повторяют измерения при КЛ, снова вращая алидаду прибора по часовой стрелке. Эти измерения составляют первый прием. Затем также при двух положениях вертикального круга производят второй прием измерений, вращая алидаду против часовой стрелки.
|
|
|
Для каждого положения алидады находят разности отсчетов:
2с = КПi — КЛi, которые обусловлены совместным влиянием двойного эксцентриситета 2е) и двойной коллимационной погрешности 2с.
Вычисляют среднее значение двойной коллимационной погрешности
- КЛ)
2сё=1,
где $ — число положений алидады.
Определяют значения двойного эксцентриситета алидады для каждого ее положения 2е = (КПi - КЛi) - 2с, а затем эксцентриситет алидады.
По полученным значениям, характеризующим влияние эксцентриситета алидады на разных частях лимба, строят график эксцентриситета (рис. 12.8) ее горизонтального круга, по которому судят о качестве работы алидады. По отклонениям измеренных значений от соответствующих значений ординат синусоиды составляют представление о колебаниях эксцентриситета для различных положений алидады. Амплитуда синусоиды характеризует влияние эксцентриситета алидады.
Вычисляют также максимальный угловой эксцентриситет как полусумму абсолютных значений максимального и минимального‚,. В теодолите 3Т5КП не должна превышать 30".
Пример исследования эксцентриситета алидады горизонтального круга теодолита 3Т5КП приведен в таблице 12.4, а график алидады — на рисунке 12.8.

Рис. 53. Исследование эксцентриситета алидады горизонтального круга
теодолита 3Т5КП №
Таблица – Определение эксцентриситета алидады у теодолита с односторонней системой отсчета (3Т5КП)

§ 4. Физические дальномеры
По области применения светодальномеры бывают (по ГОСТ 19223-82):
а) СГ – светодальномеры геодезические для измерения длин линий в государственных геодезических сетях, дальность действия до 50 км, точность 6÷110мм. Марки СТ50 (10, 20, 50 км), СТ20, СТ10.
б) СТ – светодальномеры топографические, применяемые для измерений в геодезических сетях сгущения и для выполнения топографических съемок, дальность действия до 15 км, точность 5÷80 мм. Выпускаются СТ15, СТ10, СТ5.
в) СП – светодальномеры, применяемые для измерений длин линий при решении задач прикладной геодезии и маркшейдерии, дальность действия до 3 км, точность 0,3÷11 мм. Выпускаются марки СП 2, СП 3.
Цифры после буквенного обозначения указывают дальность действия прибора.
Радиодальномеры:
«Луч» - дальность действия 50 км, точность измерений ±15 см, масса 21 кг, 60Вт,12В.
«Волна» - дальность действия 15км, точность измерений ±3 см, масса 10 кг, 10Вт, 12В.
«Трап» - дальность действия 15 км, точность измерений ±3 см, масса <10 кг, 10Вт, 12В.
Светодальномеры и радиодальномеры различают по принципу действия:
а) Импульсные
отражатель

светодальномер
![]() | |||
![]() |
А В
Рис. 54. Принцип измерения расстояния светодальномером
Длину линии вычисляют следующим образом:
АВ=
где с – скорость распространения электромагнитной волны; t – время. Если средняя квадратическая ошибка времени mt=1·10-6сек., то средняя квадратическая ошибка измерения длины линии mАВ≈300 м.
б) Фазовые
![]() |
φ
1

∆φ
φ2
А В
Рис. 55. Принцип действия фазового светодальномера
Длина линии равна: АВ=N
∆φ измеряют фазометром; N – количество полуволн.
в) Частотные
Длина линии АВ=N
2·2 – полуволна прямо и обратно.
![]() |
f
1
А В
f2




Рис. 56. Принцип действия частотного светодальномера







Рис. 59. Отражатели
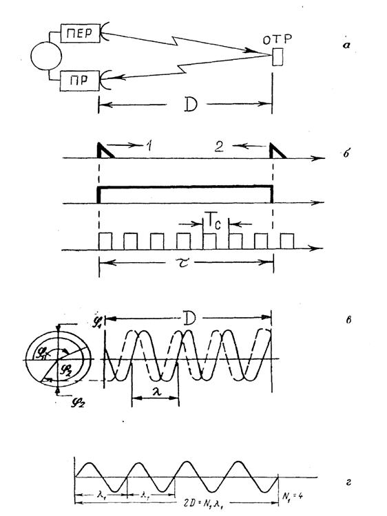
Принцип работы светодальномеров базируется на определении времени τ распределения электромагнитных волн видимого или инфракрасного излучения вдоль измеряемого расстояния 13 (рис.24,а), на одном конце которого установлен приемо-передатчик ПР-ПЕР, а на другом – светоотражатель ОТР. Поскольку световые сигналы проходят двойное расстояние 2D, то
|
|
|
D =с ∙τ/2n,
где с - скорость распространения световых волн в вакууме, равная 299792456 м/сек; n – показатель преломления воздушной среды, зависящий от ее температуры, плотности и влажности.
Определение времени прохождения электромагнитными волнами измеряемого расстояния производится импульсным и фазовым методами (или их комбинацией). Поэтому светодальномеры подразделяют на импульсные и фазовые.
В импульсных светодальномерах (рис.2) счет времени ведется в первом варианте непосредственным измерением интервала между высланным на дистанцию импульсом 1 и принятым отраженным импульсом 2. Точность измерения времени 1-10 нс., а ошибка в измеренном расстоянии достигает 10 м.
Повышение точности достигнуто во втором варианте - импульсный метод с преобразованием временного интервала (счетно-импульсный метод). Сущность метода состоит в том (рис.2 низ), что промежуток времени между импульсами 1 и 2, соответствующий расстоянию 2D, преобразуется в непрерывный прямоугольный импульс, длительностью τ. Полученный прямоугольный импульс заполняется с помощью генератора счетными импульсами высокой частоты и малого периода Тс которые поступают на специальный счетчик импульсов. Таким образом, время распространения сигнала в прямом и обратном направлениях будет равно:
τ=Тс ∙n,
где n – число счетных импульсов генератора, полученное со счетчика импульсов.

Рис. 60. Принцип действия фазовых светодальномеров
В фазовых светодальномерах вместо индикатора времени применен индикатор разности фаз. Существует два типа фазовых светодальномеров:
с фиксированной (рис?) и с плавно изменяющейся частотой (рис.24,г). В первом типе дальномеров имеющееся в приборе фазоизмерительное устройство измеряет разность фаз Δφ=(φ2-φ1) для высланного на дистанцию (φ1) и принятого с дистанции (φ2) сигналов. Эта разность фаз соответствует домеру к измеряемому расстоянию ΔD =λ∙Δφº/360º, а измеряемое расстояние будет:
D =(λ/2)∙(N+Δφº/360º),
где N – целое число волн, уложившихся в 2D; λ – длина волны.
|
|
|
Во втором типе фазовых светодальномеров частоту модуляции плавно изменяют до тех пор, пока в двойном расстоянии от приемопередатчика до отражателя не уложится целое число N волн или полуволн. Тогда:
D=λ∙N/2.
Для определения числа N измерения ведут на нескольких частотах.
Светодальномер СТ-5 («Блеск». Согласно ГОСТ 19223-82 шифр СТ5 означает: светодальномер топографический с диапазоном измеряемых расстояний до 5 км и предназначен для измерения расстояний в полигонометрических ходах, при сгущении геодезических сетей, при инженерно-геодезических работах. Его основными составными частями являются подставка 1 (рис.25) с подъемными винтами, уровнем и оптическим центриром, стойки 2, на которых крепится приемо-передающий и электронный блоки 3, зрительная труба 4. На лицевой панели 5 (рис.25,в, вид сзади) расположены все рукоятки и приборы управления.
В комплект светодальномера входят отражатели (рис.2, б), источники питания, подставки, оптические центриры, разрядно-зарядное устройство и другие принадлежности.
СТ-5 относится к импульсным светодальномерам с преобразованием временных интервалов (счетно-импульсный метод).
Светодальномер можно устанавливать на теодолитах серий 2Т и 3Т для одновременного измерения углов и расстояний. Для этого необходимо открепить винты, соединяющие стойки 2 с подставкой 1, После этого в теодолите необходимо убрать переносную ручку и вместо нее прикрутить дальномерный блок СТ-5.

Рис. 61. Лицевая (управления) панель светодальномера СТ-5
1 - зрительная труба; 2 - цифровое табло; 3 - разъем для
подключения накопителя информации; 4, 5 - переключатели;
6 - регулятор сигнала; 7 - разъем для подключения кабеля
питания; 8 - микротелефон; 9 - рукоятка установки
контрольного отсчета; 10 - контрольный прибор.
Светодальномер 2 СТ-10 предназначен для измерения линий в полигонометрических ходах, при сгущении геодезических сетей с длинами сторон до 10 км. Его можно устанавливать как на самостоятельной подставке, так и на теодолитах серий 2Т и 3Т. В светодальномере 2 СТ-10, как и в СТ-5,использован импульсный метод измерения расстояний с преобразованием временного интервала (рис. 24).
Светодальномер 2СТ10 имеет много общих узлов с СТ5 и повторяет основные конструктивные решения, его комплектность такая же. В комплект входят: отражатели, источники питания, зарядное устройство, барометр, термометр, штативы, набор инструментов для юстировки и мелкого ремонта.
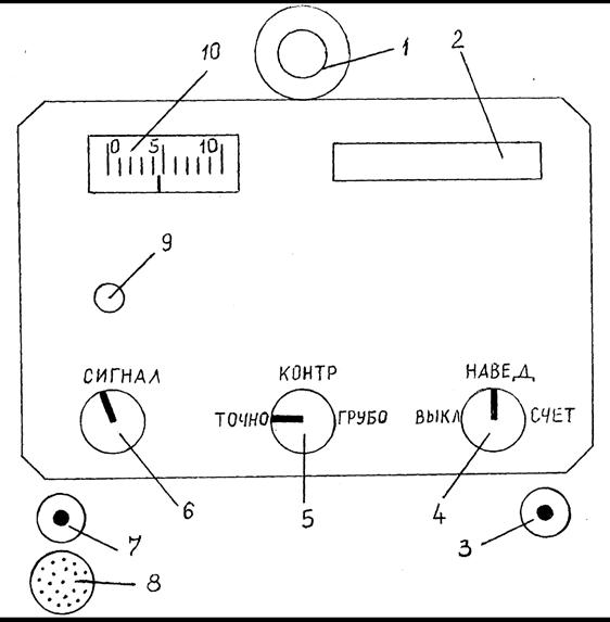
Оптическая и электронная части светодальномера заключены в корпус 4 (рис.33,а) с объективом 14,замкнутый крышками 1 и 2 и лицевой панелью 2 (рис. 33 б). На лицевой панели 2 расположены переключателъ 17 режимов работы, кнопка 16 «рt» ввода значений атмосферного давления и температуры воздуха, ручка 3 КО установки контрольного отсчета, записанного в формуляре светодальномера, ручка 4 (см. рис.33,6) регулировки подсвета сетки визирного канала, ручка 5 СИГНАЛ регулировки уровня сигнала, переключатель 7 НАВЕД-СЧЕТ, цифровое табло 1, окуляр 15 визирного канала. Со стороны объектива на корпусе 4 (см. рис.33,а) расположены соединитель 15 для подключения регистрирующего устройства или частотомера и соединитель 6 для подключения кабеля питания. Под заглушкой на крышке 1 расположен конденсатор подстройки частоты задающего генератора. Корпус закреплен в рамке 3 через оси-втулки, расположенные под крышкой 5 (см. рисзз,а) и б (см. рис.33,6). Механизм наведения в вертикальной плоскости выполнен с соосным расположением рукоятки 8 наводящего устройства и рукоятки 9 закрепительного устройства. Рамка через стойки 11 соединена с основанием 13 (см. рис.33,а). Закрепление рамки на основании производят винтами-фиксаторами 12. Для отсоединения основания требуется отвинтить винты-фиксаторы и одновременно нажать на головки этих винтов. В основании 13 (см. рис.33,а) расположен оптический центрир 12 и цилиндрический уровень 7 для пространственной ориентации светодальномера в горизонтальной плоскости и точной установки его над точкой. Механизм наведения в горизонтальной плоскости выполнен с соосным расположением рукоятки 13 наводящего устройства (см. рис.33,6) и рукоятки 14 закрепительного устройства.
Отличительной особенностью 2СТ10 является то, что в нем приемопередатчик и зрительная труба объединены в один канал. Для исключения влияния временных и фазовых задержек, создаваемых электрическими цепями и приводящих к искажению результатов измерений, в схему дальномера введена специальная оптическая ветвь оптического короткого замыкания (ОКЗ), которая включается попеременно с оптической ветвью передатчика, направляющей излучение на отражатель (на ДИСТАНЦИЮ). Разность результатов измерения ДИСТАНЦИИ и ОКЗ, содержащих одни и те же величины временных и фазовых задержек, освобождается при этом от их влияния. ОКЗ образуется путем автоматического перекрытия пучка лучей, идущих от излучателя к объективу, и направления его непосредственно на фотоприемное устройство (ФЭУ). Управление переключающим устройством ОКЗ, обработка результатов измерений на различных частотах и вычисление окончательного результата осуществляется микропроцессорным вычислительным устройством (МПВУ), которое вмонтировано в 2СТ10. Кнопки и рукоятки управления расположены на лицевой панели (рис.2).

Рис. 62. Лицевая панель светодальномера 2 СТ10
1 – зрительная труба (приемо-передатчик);
2,8 – переключатели; 3 — регулятор сигнала; 4 — разъем для подключения кабеля питания, 5 – регулятор подсветки сетки, 6 — рукоятка установки контрольного отсчета; 7 — цифровое табло; 9 — кнопки ввода
атмосферных поправок; 10 — разъем для подключения накопителя
информации; 11 – микротелефон.
Измерение расстояний рекомендуется производить в такой последовательности:
1. На одном конце измеряемой линии установить светодальномер и привести его в рабочее положение (центрировать и горизонтировать).
2. На другом конце линии установить соответствующий длине отражатель и привести его в рабочее положение (центрировать, горизонтировать и ориентировать в направлении светодальномера).
3. Переключатель режимов работы 8 светодальномера установить в положение ВЫКЛ.
4. В разъем 4 подключить шнур от источника питания. Наличие напряжения на разъеме 4 индицируется высвечиванием верхнего сегмента в первом (счет слева направо) разряд табло 7.
5.Вращением окуляра 1 визирного канала получить четкое изображение сетки нитей. При работе в темное время суток установить желаемую освещенность сетки нитей ручкой 5.
6. Переключатель 8 перевести в положение КОНТР. Включение индицируется высвечиванием знаков «8» в разрядах табло 7 со второго по десятый (контроль исправности индикаторов), после чего в девятом и десятом разрядах высвечивается знак ППЦ. Если при включении светодальномера знаки «8» не высвечиваются, источник питания непригоден к работе и его следует заменить (зарядить).
7. Переключатель 8 установить в положение «Р» и ввести значение измеренного атмосферного давления (во втором разряде табло 7 при этом высвечивается знак «Р»).
8. Переключатель 8 установить в положение «t» (во втором и третьем разрядах табло 7 при этом высвечивается знак «°С») и ввести значение измеренной температуры. Значения метеоданных ввести кнопками «рt» на панели 9. При нажатии левой кнопки «<» значения уменьшаются. При нажатии правой кнопки «>» - увеличиваются. При первом нажатии кнопок в режиме «Р» на табло 7 высвечивается значение 759или 761 (мм рт. ст.), в режиме «t» - 18 или 20°С. Кратковременное нажатие кнопок изменяет значения на единицу, при длительном нажатии значения меняются непрерывно.
9. Переключатель 8 перевести в положение «3», ручку 3 повернуть по часовой стрелке до ограничения.
10. С помощью визирного канала навести светодальномер на отражатель. Наличие сигнала индицируется звуком микротелефона 11 и высвечиванием сегментов индикатора уровня сигнала натабло 7.
11. Переключателем 8 установить такой режим работы («1», «2» или «3») и такое положение регулятора 3 сигнала, чтобы уровень сигнала соответствовал 4-6 сегментам индикатора на табло 7.
12. Перевести переключатель 2 в положение СЧЕТ и взять три отсчета по цифровому табло 7. Окончание измерения сопровождается звуковым сигналом, продолжительность однократного измерения расстояния не превышает 15 с.
13. Перевести переключатель 2 в положение НАВЕД, надеть на объектив светодальномера блок контрольного отсчета, установить переключатель 8 в положение «1», установить регулятором 3 уровень сигнала 4-6 сегментов на табло 7, перевести переключатель 2 в положение СЧЕТ и взять три отсчета по табло 7. Снять блок контрольного отсчета. Взятые три отсчета не должны отличаться более чем на 1-3 мм от величины, указанной в паспорте светодальномера (для нашего 2СТ-10 №10147 это 129 мм).
14. Повторить наведение на отражатель по максимуму сигнала и взять три повторных отсчета по табло 7.
15. Перевести переключатель 8 в положение ВЫКЛ и вынуть из разъема 4 шнур питания.
16. Вычислить окончательное значение измеренного расстояния в миллиметрах по формуле:
D=Dср.+ΔDц+ΔDn+ΔDt+ΔDБКО,
где Dср. – среднее арифметическое значение отсчетов расстояния по табло. Остальные слагаемые – поправки соответственно на циклическую погрешность, на метеоданные, на температурное изменение частоты задающего генератора и на дрейф показаний светодальномера при работе по блоку контрольного отсчета (БКО). Все поправки определяют по графикам и таблицам, помещенным в формуляре светодальномера. В лабораторных условиях из-за ограниченности времени поправки не вычисляют и не учитывают в результатах измерений. Результаты измерений и вычислений оформляют в виде таблицы 17.
Таблица 17

17. Произвести оценку точности измерений по аналогии со светодальномером СТ5 (см.п. 13,14,15), приняв паспортное значение средней квадратической ошибки измерения расстояния, равным (5+3∙10D).

Рис. 6З. Светодальномер 2СТ10
1 – крышка, 2 – крышка; 3 – рамка, 4 – корпус, 5 – крышка, 6 – соединитель, 7 – цилиндрический уровень, 8 – юстировочные гайки, 9 – подставка, 10 – подъемный винт, 11 – винт, 12 – оптический центрир, 13 – основание, 14 – объектив, 15 – соединитель ‚

Рис. 64. Светодальномер 2 СТ 10
1 – цифровое табло, 2 — лицевая панель, 3 – ручка КО, 4 – ручка
; 5 – ручка СИГНАЛ, 6 – крышка, 7 – переключатель НАВЕД-СЧЕТ, 8 – рукоятка наводящего устройства, 9 – рукоятка закрепительного устройства, 10 – винт юстировочный, 11 – стойка, 12 – винт-Фиксатор, 13 – рукоятка наводящего устройства, 14 – рукоятка закрепительного устройства, 15 – окуляр визирного канала, 16 – кнопки рt, 17 – переключатель режимов работы










