По области применения светодальномеры бывают (по ГОСТ 19223-82):
а) СГ – светодальномеры геодезические для измерения длин линий в государственных геодезических сетях, дальность действия до 50 км, точность 6÷110мм. Марки СТ50 (10, 20, 50 км), СТ20, СТ10.
б) СТ – светодальномеры топографические, применяемые для измерений в геодезических сетях сгущения и для выполнения топографических съемок, дальность действия до 15 км, точность 5÷80 мм. Выпускаются СТ15, СТ10, СТ5.
в) СП – светодальномеры, применяемые для измерений длин линий при решении задач прикладной геодезии и маркшейдерии, дальность действия до 3 км, точность 0,3÷11 мм. Выпускаются марки СП 2, СП 3.
Цифры после буквенного обозначения указывают дальность действия прибора.
Радиодальномеры:
«Луч» - дальность действия 50 км, точность измерений ±15 см, масса 21 кг, 60Вт,12В.
«Волна» - дальность действия 15км, точность измерений ±3 см, масса 10 кг, 10Вт, 12В.
«Трап» - дальность действия 15 км, точность измерений ±3 см, масса <10 кг, 10Вт, 12В.
Светодальномеры и радиодальномеры различают по принципу действия:
|
|
|
а) Импульсные
отражатель

светодальномер

А В
Рис. 54. Принцип измерения расстояния светодальномером
Длину линии вычисляют следующим образом:
АВ=
где с – скорость распространения электромагнитной волны; t – время. Если средняя квадратическая ошибка времени mt=1·10-6сек., то средняя квадратическая ошибка измерения длины линии mАВ≈300 м.
б) Фазовые
![]() |
φ
1

∆φ
φ2
А В
Рис. 55. Принцип действия фазового светодальномера
Длина линии равна: АВ=N
∆φ измеряют фазометром; N – количество полуволн.
в) Частотные
Длина линии АВ=N
2·2 – полуволна прямо и обратно.
![]() |
f
1
А В
f2




Рис. 56. Принцип действия частотного светодальномера







Рис. 59. Отражатели
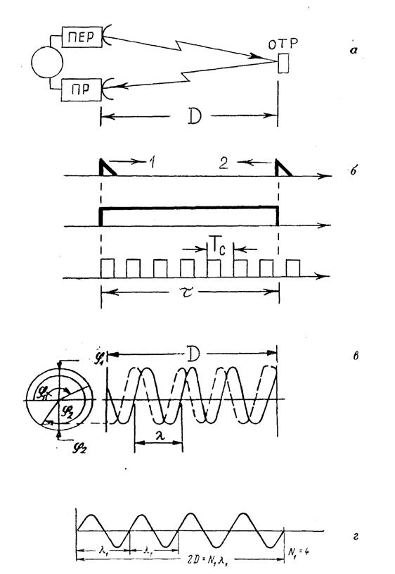
Принцип работы светодальномеров базируется на определении времени τ распределения электромагнитных волн видимого или инфракрасного излучения вдоль измеряемого расстояния 13 (рис.24,а), на одном конце которого установлен приемо-передатчик ПР-ПЕР, а на другом – светоотражатель ОТР. Поскольку световые сигналы проходят двойное расстояние 2D, то
D =с ∙τ/2n,
где с - скорость распространения световых волн в вакууме, равная 299792456 м/сек; n – показатель преломления воздушной среды, зависящий от ее температуры, плотности и влажности.
Определение времени прохождения электромагнитными волнами измеряемого расстояния производится импульсным и фазовым методами (или их комбинацией). Поэтому светодальномеры подразделяют на импульсные и фазовые.
В импульсных светодальномерах (рис.2) счет времени ведется в первом варианте непосредственным измерением интервала между высланным на дистанцию импульсом 1 и принятым отраженным импульсом 2. Точность измерения времени 1-10 нс., а ошибка в измеренном расстоянии достигает 10 м.
|
|
|
Повышение точности достигнуто во втором варианте - импульсный метод с преобразованием временного интервала (счетно-импульсный метод). Сущность метода состоит в том (рис.2 низ), что промежуток времени между импульсами 1 и 2, соответствующий расстоянию 2D, преобразуется в непрерывный прямоугольный импульс, длительностью τ. Полученный прямоугольный импульс заполняется с помощью генератора счетными импульсами высокой частоты и малого периода Тс которые поступают на специальный счетчик импульсов. Таким образом, время распространения сигнала в прямом и обратном направлениях будет равно:
τ=Тс ∙n,
где n – число счетных импульсов генератора, полученное со счетчика импульсов.

Рис. 60. Принцип действия фазовых светодальномеров
В фазовых светодальномерах вместо индикатора времени применен индикатор разности фаз. Существует два типа фазовых светодальномеров:
с фиксированной (рис?) и с плавно изменяющейся частотой (рис.24,г). В первом типе дальномеров имеющееся в приборе фазоизмерительное устройство измеряет разность фаз Δφ=(φ2-φ1) для высланного на дистанцию (φ1) и принятого с дистанции (φ2) сигналов. Эта разность фаз соответствует домеру к измеряемому расстоянию ΔD =λ∙Δφº/360º, а измеряемое расстояние будет:
D =(λ/2)∙(N+Δφº/360º),
где N – целое число волн, уложившихся в 2D; λ – длина волны.
Во втором типе фазовых светодальномеров частоту модуляции плавно изменяют до тех пор, пока в двойном расстоянии от приемопередатчика до отражателя не уложится целое число N волн или полуволн. Тогда:
D=λ∙N/2.
Для определения числа N измерения ведут на нескольких частотах.
Светодальномер СТ-5 («Блеск». Согласно ГОСТ 19223-82 шифр СТ5 означает: светодальномер топографический с диапазоном измеряемых расстояний до 5 км и предназначен для измерения расстояний в полигонометрических ходах, при сгущении геодезических сетей, при инженерно-геодезических работах. Его основными составными частями являются подставка 1 (рис.25) с подъемными винтами, уровнем и оптическим центриром, стойки 2, на которых крепится приемо-передающий и электронный блоки 3, зрительная труба 4. На лицевой панели 5 (рис.25,в, вид сзади) расположены все рукоятки и приборы управления.
В комплект светодальномера входят отражатели (рис.2, б), источники питания, подставки, оптические центриры, разрядно-зарядное устройство и другие принадлежности.
СТ-5 относится к импульсным светодальномерам с преобразованием временных интервалов (счетно-импульсный метод).
Светодальномер можно устанавливать на теодолитах серий 2Т и 3Т для одновременного измерения углов и расстояний. Для этого необходимо открепить винты, соединяющие стойки 2 с подставкой 1, После этого в теодолите необходимо убрать переносную ручку и вместо нее прикрутить дальномерный блок СТ-5.

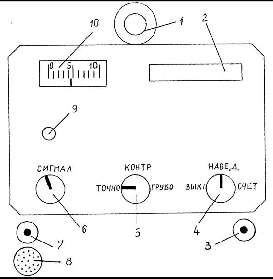
Рис. 61. Лицевая (управления) панель светодальномера СТ-5
1 - зрительная труба; 2 - цифровое табло; 3 - разъем для
подключения накопителя информации; 4, 5 - переключатели;
6 - регулятор сигнала; 7 - разъем для подключения кабеля
питания; 8 - микротелефон; 9 - рукоятка установки
контрольного отсчета; 10 - контрольный прибор.
Светодальномер 2 СТ-10 предназначен для измерения линий в полигонометрических ходах, при сгущении геодезических сетей с длинами сторон до 10 км. Его можно устанавливать как на самостоятельной подставке, так и на теодолитах серий 2Т и 3Т. В светодальномере 2 СТ-10, как и в СТ-5,использован импульсный метод измерения расстояний с преобразованием временного интервала (рис. 24).
Светодальномер 2СТ10 имеет много общих узлов с СТ5 и повторяет основные конструктивные решения, его комплектность такая же. В комплект входят: отражатели, источники питания, зарядное устройство, барометр, термометр, штативы, набор инструментов для юстировки и мелкого ремонта.
Оптическая и электронная части светодальномера заключены в корпус 4 (рис.33,а) с объективом 14,замкнутый крышками 1 и 2 и лицевой панелью 2 (рис. 33 б). На лицевой панели 2 расположены переключателъ 17 режимов работы, кнопка 16 «рt» ввода значений атмосферного давления и температуры воздуха, ручка 3 КО установки контрольного отсчета, записанного в формуляре светодальномера, ручка 4 (см. рис.33,6) регулировки подсвета сетки визирного канала, ручка 5 СИГНАЛ регулировки уровня сигнала, переключатель 7 НАВЕД-СЧЕТ, цифровое табло 1, окуляр 15 визирного канала. Со стороны объектива на корпусе 4 (см. рис.33,а) расположены соединитель 15 для подключения регистрирующего устройства или частотомера и соединитель 6 для подключения кабеля питания. Под заглушкой на крышке 1 расположен конденсатор подстройки частоты задающего генератора. Корпус закреплен в рамке 3 через оси-втулки, расположенные под крышкой 5 (см. рисзз,а) и б (см. рис.33,6). Механизм наведения в вертикальной плоскости выполнен с соосным расположением рукоятки 8 наводящего устройства и рукоятки 9 закрепительного устройства. Рамка через стойки 11 соединена с основанием 13 (см. рис.33,а). Закрепление рамки на основании производят винтами-фиксаторами 12. Для отсоединения основания требуется отвинтить винты-фиксаторы и одновременно нажать на головки этих винтов. В основании 13 (см. рис.33,а) расположен оптический центрир 12 и цилиндрический уровень 7 для пространственной ориентации светодальномера в горизонтальной плоскости и точной установки его над точкой. Механизм наведения в горизонтальной плоскости выполнен с соосным расположением рукоятки 13 наводящего устройства (см. рис.33,6) и рукоятки 14 закрепительного устройства.
|
|
|
Отличительной особенностью 2СТ10 является то, что в нем приемопередатчик и зрительная труба объединены в один канал. Для исключения влияния временных и фазовых задержек, создаваемых электрическими цепями и приводящих к искажению результатов измерений, в схему дальномера введена специальная оптическая ветвь оптического короткого замыкания (ОКЗ), которая включается попеременно с оптической ветвью передатчика, направляющей излучение на отражатель (на ДИСТАНЦИЮ). Разность результатов измерения ДИСТАНЦИИ и ОКЗ, содержащих одни и те же величины временных и фазовых задержек, освобождается при этом от их влияния. ОКЗ образуется путем автоматического перекрытия пучка лучей, идущих от излучателя к объективу, и направления его непосредственно на фотоприемное устройство (ФЭУ). Управление переключающим устройством ОКЗ, обработка результатов измерений на различных частотах и вычисление окончательного результата осуществляется микропроцессорным вычислительным устройством (МПВУ), которое вмонтировано в 2СТ10. Кнопки и рукоятки управления расположены на лицевой панели (рис.2).
|
|
|

Рис. 62. Лицевая панель светодальномера 2 СТ10
1 – зрительная труба (приемо-передатчик);
2,8 – переключатели; 3 — регулятор сигнала; 4 — разъем для подключения кабеля питания, 5 – регулятор подсветки сетки, 6 — рукоятка установки контрольного отсчета; 7 — цифровое табло; 9 — кнопки ввода
атмосферных поправок; 10 — разъем для подключения накопителя
информации; 11 – микротелефон.
Измерение расстояний рекомендуется производить в такой последовательности:
1. На одном конце измеряемой линии установить светодальномер и привести его в рабочее положение (центрировать и горизонтировать).
2. На другом конце линии установить соответствующий длине отражатель и привести его в рабочее положение (центрировать, горизонтировать и ориентировать в направлении светодальномера).
3. Переключатель режимов работы 8 светодальномера установить в положение ВЫКЛ.
4. В разъем 4 подключить шнур от источника питания. Наличие напряжения на разъеме 4 индицируется высвечиванием верхнего сегмента в первом (счет слева направо) разряд табло 7.
5.Вращением окуляра 1 визирного канала получить четкое изображение сетки нитей. При работе в темное время суток установить желаемую освещенность сетки нитей ручкой 5.
6. Переключатель 8 перевести в положение КОНТР. Включение индицируется высвечиванием знаков «8» в разрядах табло 7 со второго по десятый (контроль исправности индикаторов), после чего в девятом и десятом разрядах высвечивается знак ППЦ. Если при включении светодальномера знаки «8» не высвечиваются, источник питания непригоден к работе и его следует заменить (зарядить).
7. Переключатель 8 установить в положение «Р» и ввести значение измеренного атмосферного давления (во втором разряде табло 7 при этом высвечивается знак «Р»).
8. Переключатель 8 установить в положение «t» (во втором и третьем разрядах табло 7 при этом высвечивается знак «°С») и ввести значение измеренной температуры. Значения метеоданных ввести кнопками «рt» на панели 9. При нажатии левой кнопки «<» значения уменьшаются. При нажатии правой кнопки «>» - увеличиваются. При первом нажатии кнопок в режиме «Р» на табло 7 высвечивается значение 759или 761 (мм рт. ст.), в режиме «t» - 18 или 20°С. Кратковременное нажатие кнопок изменяет значения на единицу, при длительном нажатии значения меняются непрерывно.
9. Переключатель 8 перевести в положение «3», ручку 3 повернуть по часовой стрелке до ограничения.
10. С помощью визирного канала навести светодальномер на отражатель. Наличие сигнала индицируется звуком микротелефона 11 и высвечиванием сегментов индикатора уровня сигнала натабло 7.
11. Переключателем 8 установить такой режим работы («1», «2» или «3») и такое положение регулятора 3 сигнала, чтобы уровень сигнала соответствовал 4-6 сегментам индикатора на табло 7.
12. Перевести переключатель 2 в положение СЧЕТ и взять три отсчета по цифровому табло 7. Окончание измерения сопровождается звуковым сигналом, продолжительность однократного измерения расстояния не превышает 15 с.
13. Перевести переключатель 2 в положение НАВЕД, надеть на объектив светодальномера блок контрольного отсчета, установить переключатель 8 в положение «1», установить регулятором 3 уровень сигнала 4-6 сегментов на табло 7, перевести переключатель 2 в положение СЧЕТ и взять три отсчета по табло 7. Снять блок контрольного отсчета. Взятые три отсчета не должны отличаться более чем на 1-3 мм от величины, указанной в паспорте светодальномера (для нашего 2СТ-10 №10147 это 129 мм).
14. Повторить наведение на отражатель по максимуму сигнала и взять три повторных отсчета по табло 7.
15. Перевести переключатель 8 в положение ВЫКЛ и вынуть из разъема 4 шнур питания.
16. Вычислить окончательное значение измеренного расстояния в миллиметрах по формуле:
D=Dср.+ΔDц+ΔDn+ΔDt+ΔDБКО,
где Dср. – среднее арифметическое значение отсчетов расстояния по табло. Остальные слагаемые – поправки соответственно на циклическую погрешность, на метеоданные, на температурное изменение частоты задающего генератора и на дрейф показаний светодальномера при работе по блоку контрольного отсчета (БКО). Все поправки определяют по графикам и таблицам, помещенным в формуляре светодальномера. В лабораторных условиях из-за ограниченности времени поправки не вычисляют и не учитывают в результатах измерений. Результаты измерений и вычислений оформляют в виде таблицы 17.
Таблица 17

17. Произвести оценку точности измерений по аналогии со светодальномером СТ5 (см.п. 13,14,15), приняв паспортное значение средней квадратической ошибки измерения расстояния, равным (5+3∙10D).

Рис. 6З. Светодальномер 2СТ10
1 – крышка, 2 – крышка; 3 – рамка, 4 – корпус, 5 – крышка, 6 – соединитель, 7 – цилиндрический уровень, 8 – юстировочные гайки, 9 – подставка, 10 – подъемный винт, 11 – винт, 12 – оптический центрир, 13 – основание, 14 – объектив, 15 – соединитель ‚

Рис. 64. Светодальномер 2 СТ 10
1 – цифровое табло, 2 — лицевая панель, 3 – ручка КО, 4 – ручка
; 5 – ручка СИГНАЛ, 6 – крышка, 7 – переключатель НАВЕД-СЧЕТ, 8 – рукоятка наводящего устройства, 9 – рукоятка закрепительного устройства, 10 – винт юстировочный, 11 – стойка, 12 – винт-Фиксатор, 13 – рукоятка наводящего устройства, 14 – рукоятка закрепительного устройства, 15 – окуляр визирного канала, 16 – кнопки рt, 17 – переключатель режимов работы








