Все трущиеся детали двигателя обеспечивается смазкой за счет подвода ее следующими способами:
под давлением;
разбрызгиванием;
самотеком.
В современных двигателях в системе смазки используют как правило все 3 вида подвода смазки, и такая система получила название комбинированная система смазки, при которой наиболее нагруженные детали смазываются под давлением, а остальные – разбрызгиванием или самотеком.
Основные части системы смазки:
резервуар для масла или поддон картера;
масляный насос с маслоприемником и сетчатым фильтром;
масляные фильтры тонкой очистки;
редукционный (предохранительный) клапан;
масляный радиатор;
термостат;
указатели давления и температуры масла;
маслопроводы и каналы
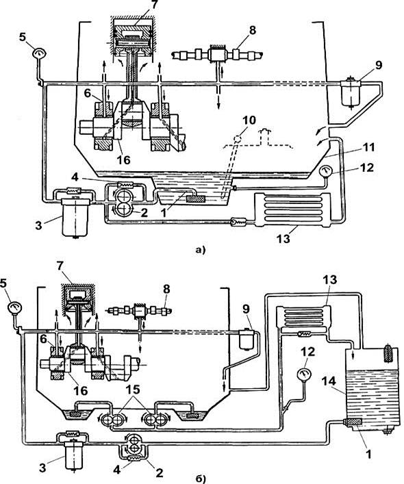
В основу большинства систем смазки положен один и тот же принцип, иллюстрируемый рис. 5.1. Масло из поддона 11 (или бака 14) нагнетающим насосом 2 через фильтр 4, подается в масляную магистраль. Давление в ней контролируется манометром 5. Из масляной магистрали масло подается к шейкам коленчатого вала 16, распределительного вала 8 и к другим парам трения. Слив избытка масла из магистрали осуществляется через фильтр 9. Контроль температуры масла осуществляется термометром 12, охлаждение - с помощью радиатора 13. Уровень масла контролируется мерным щупом 10. Для откачки масла в системах с сухим картером используются насосы 15.
|
|
|

Рис. 5.1. Схемы систем смазки: а - с мокрым картером; б - с сухим картером;
1 - маслоприемник; 2 - нагнетающий насос; 3, 9 - фильтры; 4 - редукционный клапан; 5 - манометр; 6 - подвод масла к коленчатому валу; 7 - поршень; 8 - распредвал; 10- щуп; 11- картер; 12 - указатель температуры; 13 - радиатор; 14 - бак; 15 - откачивающий насос; 16 - коленчатый вал.