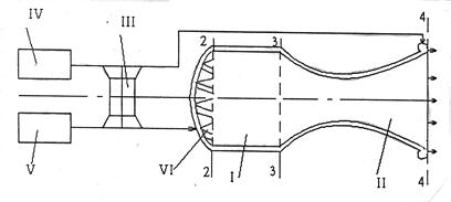
ЖРД – ракетный двигатель, который создает силу тяги за счет вытекания из его сопла газообразных продуктов сгорания топлива, состоит из камеры сгорания (I), сопла Лаваля (II) и турбонасосного агрегата - ТНА (III), который подает горючее и окислитель из баков (IV) и (V) к форсункам (VI), как показано на следующем рисунке:

Рассмотрим ЖРД, работающий на газообразных компонентах топлива. Горючее – углеводородное топливо, окислитель – смесь кислорода и азота, заданная молярными долями (
и
). Горючее и окислитель впрыскиваются в камеру сгорания ЖРД через форсунки VI и определяют состав смеси газов в сечении 2-2 камеры сгорания. Термодинамические параметры в сечениях 2-2 - вход в камеру сгорания, 3-3 – вход в сопло, 4-4 - срез сопла соответствуют термодинамическим параметрам в точках 2, 3 и 4 разомкнутого цикла ЖРД, процессы которого в координатах pV и TS имеют следующий вид:

Процесс 2-3 изобарно – адиабатно - изоэнтальпийный процесс (dp =0,
Q=0, dH =0)сгорания топлива в камере сгорания двигателя. Процесс 3-4 – адиабатно - изоэнтропийный процесс (
Q=0, dS =0) истечения продуктов сгорания из сопла в среду с заданным давлением, причем давление на срезе сопла в сечении 4-4 равно давлению окружающей среды, т.е. сопло – расчетное.
Для определения термодинамических характеристик в сечениях 2-2, 3-3, 4-4 двигателя исходными данными являются: относительное давление в камере сгорания -
=101325 Па, давление на срезе сопла p 4, которое равно давлению среды – pу на заданной высоте «у» полета (p 4= pу), а также природа топлива, которая характеризуется заданным элементным химическим составом и энтальпией, определяемой по справочным материалам. Элементный химический состав определяет возможный состав индивидуальных веществ, образующих продукты сгорания. Рабочее тело (топливо и продукты сгорания) рассматривается как смесь идеальных газов в расчетных сечениях двигателя. Эта многокомпонентная смесь индивидуальных веществ в газообразном состоянии является простой закрытой термодинамической системой, состояние которой задается двумя независимыми параметрами: p и Н (для камеры сгорания) и p и S (для сопла).Кроме давлений
и p 4 , заданными величинами являются также коэффициент избытка окислителя aок и температура топлива в сечении 2-2, равная Т 2=298,15К.
Задачей термодинамического расчета ракетного двигателя в условиях термодинамического равновесия реагирующих систем в характерных сечениях двигателя является определение химического состава продуктов сгорания и температуры, а также интегральных и дифференциальных свойств системы в этих сечениях ЖРД.
В рассматриваемой задаче принятые модели рабочего тела и процессов позволяют провести расчет равновесных состояний системы при известных параметрах: давлении и энтальпии – для выходного сечения камеры сгорания двигателя (3 – 3), давлении и энтропии – для выходного сечения сопла на расчетном режиме его работы (4-4). Эти параметры однозначно характеризуют рассматриваемые случаи установления равновесия системы и полностью определяют ее термодинамическое состояние. При известных параметрах состояния химический состав продуктов сгорания в условиях равновесия определяется исходным элементным составом топлива и не зависит от пути процесса, по которому было достигнуто то или иное термодинамическое состояние. Поэтому для определения характерных параметров процесса достаточно знать только параметры в начальной и в конечной точке процесса. При этом детальных сведений о геометрии и конструкции элементов двигателя не требуется.
Цель термодинамического расчета ракетного двигателя в общем случае является определение параметров потока: температуры, давления, скорости, термодинамических и теплофизических свойств рабочего тела и его химического состава, необходимых для определения скорости истечения (удельной тяги), секундного массового расхода топлива и характерных размеров камеры сгорания, сопла и других агрегатов двигателя, а также для расчета газодинамических процессов и процессов теплообмена.
В данном разделе результаты термодинамического расчета и определения интегральных и дифференциальных параметров используются для расчета скорости истечения рабочего тела из сопла, которая равна на расчетном режиме работы сопла удельному импульсу тяги Iy (Iy=Wc), а также тяги двигателя P=
Wc и числа Маха
, где
т секундный массовый расход рабочего тела (величина заданная).
В сечении 2-2 камеры сгорания расчет термодинамических параметров проводится для смеси нереагируюших газов известного состава при заданных параметрах: давлении и температуре. Этот состав смеси газов является исходным элементным составом топлива для расчета состава продуктов сгорания в условиях равновесия в сечении 3-3 камеры сгорания.