Работа с дериватограммой
1. Наложить дериватограмму на планшет и отметить Т экстремумов на кривой ДТГ и потерю массы образца на каждой стадии разложения.
2. По виду дериватограммы идентифицировать соль.
3. Рассчитать массовую долю СaС2О4 · Н2О или СаСО3 в образце (в %), используя пик экзоэффекта реакции
СaС2О4 → СaСО3 + СО
на кривой ДТА.
4. Рассчитать массовую долю СaС2О4 · Н2О (в %) по уменьшению мас-сы образца на стадиях 1, 2, 3 по кривой ТГ.
5. Данные занести в табл. 4.2.
6. Узнать у инженера лаборатории истинный результат. Рассчитать погрешность определения содержания оксалата (или карбоната) кальция в смеси.
Таблица 4.2
Данные расчета по кривой ТГ
| № эффекта | Тмах | Δm, мг | ω(СaС2О4 · Н2О), % |
| … (Н2О) | |||
| … (СО) | |||
| … (СО2) |
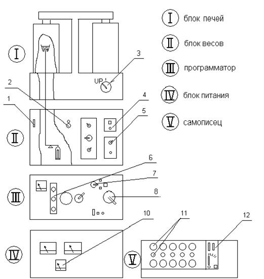
Порядок работы на дериватографе Q-1500 ( рис. 4.3 ). Перед нача-лом работы следует проверить положение переключателей. Все ручки самописца должны быть в положении OFF.
1. Включить прибор в сеть ручкой 10.
2. Включить самописец (тумблер на задней панели).
|
|
|
3. Проверить, закрыты ли весы. Поднять печь переключателем 3 (в положение UP). Подождать разворота печи в положение, перпендикуляр-ное к исходному. Остановить печь переключателем 3, повернув его в положении Stop.
4. Снять кварцевый стакан и установить пустой тигель на ближнюю термопару.
5. Включить весы (слева). Проверить установку 0. Если потребуется, уравновесить пустой тигель разновесами, чтобы на шкале установился 0 (не сдвигать на чайке весов большую гирю).
6. Включить весы. Снять тигель. Взвесить в нем на аналитических весах навеску исследуемого образца, уплотняя ее постукиванием (образец получить у инженера лаборатории, который указывает величину навески).
7. Установить тигель с навеской на термопару. Переключателем 2 на-кладывать гири, равноценные взятой навеске. Включить весы, при этом, если навеска взята правильно, на шкале весов должен установиться 0. Если 0 не устанавливается, надо добавить или убавить вес с помощью переключателя 2.
8. Накрыть термопару стаканом.
9. Опустить печь переключателем 3.
10. Включить весы. Дождаться полного успокоения весов.
11. Включить тумблеры ТG и DTG.
12. Установить чувствительность (500) на блоке весов.
13. Включить четыре тумблера на самописце (справа налево) в поло-жение ON.
14. Распределить ударники самописца Т, ДТА, ДТГ, ТГ по бумаге и установить частоту ударов 4 точки и скорость протяжки ленты 2 мм/мин.
15. Включить подачу диаграммной ленты (FORW).
16. Повернуть ручку программатора 7 с ZERO на FORW.
17. Нажать кнопку 6 PROGRAM ON. Запись идет до температуры 1000 °С (продолжительность регистрации ≈100 мин).

Рис. 4.3. Схема расположения блоков и ручек управления
|
|
|
внешних панелей дериватографа Q-1500:
1 – шкала весов; 2 – накладыватели разновесов; 3 – подъемник печи; 4 – выключатель ТГ; 5 – переключатель предела Т; 6 – индикатор пуска (ON) и остановки (OFF) программы; 7 – переключатель направления программы; 8 – регулировка программы; 9 – программный ключ (выбор режима); 10 – сетевой выключатель; 11 – включение и настройка канала самописца; 12 – включатели и задатчик режима работы самописца
Порядок выключения прибора (в присутствии преподавателя):
1. Нажать кнопку 6 PROGRAM OFF.
2. Отключить каналы самописца с 1 по 4. Все тумблеры поставить в положение OFF. Отключить ударник перьев (крайнее левое положение). Оторвать бумагу. Нажать кнопку FORW на самописце. Отключить протяж-ку ленты (среднее положение). Отключить самописец на задней панели.
3. Выключить тумблеры TG и DTG (поставить на 0).
4. Ручку программатора 7 в положение ZERO.
5. Вывести программатор 8 на 0 (вращением по часовой стрелке до упора).
6. Арретироватъ весы.
7. Поднять немного печь ручкой 3 (UP). К печи не прикасаться! Затем ручку 3 поставить на STOP и оставить печь остывать.
Контрольные вопросы
1. Что называют термическим анализом?
2. Какие кривые присутствуют на дериватограмме? Что характери-зует каждая из них?
3. Каков принцип получения кривой ДТА? Чем он отличается от принципа записи кривой ДТГ?
4. Как оценить изменение энтальпии образца по кривой ДТА?
5. Каким образом учитывается заданная чувствительность прибора при обработке данных кривой ТГ?
6. Охарактеризуйте возможное влияние на результат дериватографии следующих факторов:
– форма тигля, наличие крышки тигля;
– скорость изменения Т;
– скорость движения диаграммной ленты;
– масса навески, плотность ее набивки в тигле;
– наличие инертной атмосферы (N2, СО2).
7. Какие аналитические задачи можно решать при помощи деривато-графии?
Литература
Уэндландт, У. Термические методы анализа / У. Уэндландт. М.: Мир, 1978. 526 с.






