Кинематическая схема механизма дает полное представление о структуре механизма и определяет его кинематические свойства. Она является графическим изображением механизма посредством условных обозначений звеньев и кинематических пар с указанием размеров, которые необходимы для кинематического анализа механизма.
Механизмы делятся на плоские и пространственные.
В плоских механизмах точки звеньев описывают траектории, лежащие в параллельных плоскостях.
Механизм будет пространственным, если точки его звеньев описывают неплоские траектории или траектории, лежащие в пересекающихся плоскостях.
На кинематических схемах механизмов звенья, как правило, изображаются отрезками прямых и нумеруются арабскими цифрами. Кинематические пары обозначаются большими буквами латинского алфавита. Стойку (неподвижное звено) принято выделять штриховкой.
Схематическое изображение кинематических пар плоских механизмов изображено на рис. 1.4.
![]() |
|
|
| ||||||
Рис.1.4 Схематическое изображение кинематических пар в плоских механизмах:
а) – вращательная пара; б) – поступательная пара; в) – высшая пара
Для построения кинематической схемы механизма рекомендуется следующая последовательность:
1.Установить основное кинематическое назначение механизма.
2. Подсчитать общее число звеньев, включая стойку.
3. Выяснить подвижность кинематических пар.
4. Вычертить схему механизма, начиная с нанесения на чертеж неподвижных элементов кинематических пар.
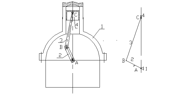
Пример: Схема механизма поршневого двигателя: а) изображение со схематизированными конструктивными формами; б) изображение, применяемое на кинематических схемах.
а) б)
Рис. 1.5 Схема механизма поршневого двигателя.







