В структурной схеме конструкций РЭС блок отнесен во второй структурный уровень. Блок объединяет ячейки, ПП, отдельные ЭРЭ и другие изделия. Он может входить в состав стойки, шкафа или иметь самостоятельное применение. Отличительной чертой блока является наличие лицевой панели.
Основные требования к конструкции блоков:
▪ защита от механических и климатических воздействий;
▪ конструктивная совместимость с другими РЭС;
▪ обеспечение нормального теплового режима.
В зависимости от конструктивного исполнения, обеспечивающего полную или частичную защиту от внешних воздействующих факторов, различают герметичные и негерметичные блоки.
ГОСТы регламентируют основные и габаритные размеры блоков, а также основные размеры и взаимное расположение элементов, входящих в блок. Конструктором, при разработке блока, решаются следующие вопросы: электрической и тепловой совместимости, ремонтопригодности, возможности автоматизации процесса сборки блока, оформление внешнего вида.
|
|
|
О терминах:
ТЭЗ – типовой элемент замены – это модуль первого уровня, на котором размещен соединитель (для внешней коммутации).

1 – лицевая панель;
2 – плата;
3 – микросхема;
4 – соединитель.
Объединительная (материнская) плата – плата электроники, на которой вместе с компонентами схемы установлены электрические соединители, в которые можно установить ТЭЗ с недостающими компонентами схемы прибора.

1 – микросхемы;
2 – объединительная плата;
3 – электрический соединитель;
4 – ТЭЗ.
Основные компоновочные схемы блоков:

Компоновочные схемы блоков в виде:
а) параллелепипеда;
б) цилиндра;
в) сферы;
1 – ТЭЗ;
2 – монтажная (кросс) – плата.
При одинаковых физических объемах блоков сферическая форма обеспечивает минимальную длину линий связи.
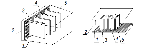
Блок стеллажной конструкции с вертикально-продольным и горизонтальным расположением монтажной панели:

1 – каркас;
2 – лицевая панель;
3 – монтажная панель;
4 – соединитель;
5 – ТЭЗ.
а) блок разъемной конструкции:

Размер зон – 30…60 мм. Ячейки в блоке устанавливаются с зазором для обеспечения лучшего теплообмена.
б) блок книжной конструкции:

в) кассетная конструкция блока:

г) откидная конструкция:

д) конструкция герметичного блока:

Корпус блоков выполнен из литейного алюминия (АЛ-9). Минимальная толщина стенок – 3 мм.
Электрическое соединение ячеек с выходными межблочными разъемами типа РП или РСГ осуществляли жгутовым проволочным монтажом, а сейчас – гибким шлейфом – это гибкие полоски из лавсана (ФДЛ) или полиимида (ФДИ) толщиной h=200…300 мкм с печатными проводниками и контактными площадками.
|
|
|

Вакуумно-плотная герметизация при допустимой величине натекания газа порядка
обеспечивается паяным швом между крышкой и корпусом.

В зазоре между крышкой и стенками корпуса размещают прокладку из термостойкой резины, которая не позволяет проникать парам припоя и флюса внутрь корпуса. Далее на резину кладут стальную проволоку диаметром 0,8 мм и весь шов пропаивают ПОС-61.
Для обеспечения пайки алюминиевым сплавом на поверхности предварительно гальваническим способом наносят покрытие HS.М12.0-Bi9 (Bi – висмут) (Ni – 5 мкм, Cu – 12 мкм, Sn-Bi – 9 мкм) или химическое покрытие О-Ви3. Конец проволоки выводят в канавку для того, чтобы при ремонте можно было вырвать ее из шва и снять крышку.

Полная герметизация достигается применением металлических прокладок (медных) δ=0,3…0,5 мм. При затяжке болтов медная проволока деформируется, заполняя при этом микронеровности, чем и обеспечивается герметизация. “–“ прокладка разового пользования.
Герметичная конструкция блоков требует герметичных вводов.
Конструкции электрических и механических гермовводов
а) электрический ввод:

Пайка производится по фольговому контакту печатной вставки.
б) механические вводы:
▪ сильфонные вводы вращения:


▪ магнитные вводы:

▪ волновые – на ответственных объектах (космических, атомных):

1 – ведущее звено;
2 – ведомое звено;
3 – тонкая стальная оболочка.
Отметим, что на этапе конструирования блока закладывается такое свойство, как ремонтопригодность – это доступность к деталям и узлам, наличие контактных и контрольных площадок, удобство в ремонте и эксплуатации.