
Электрохимическими называют методы анализа, основанные на использовании процессов, происходящих в электрохимической ячейке.
25.1. Основные понятия, связанные с электрохимическими методами анализа
Электрохимической ячейкой называется система, состоящая из пары электродов и электролита, контактирующих между собой.
Электродом называется граница раздела, на которой электронный механизм переноса заряда (направленное движение электронов) меняется на ионный (направленное движение ионов). В менее строгом смысле под термином «электрод» обычно подразумевают проводник электрического тока с электронной проводимостью. Электролитом называется среда, в которой происходит перенос заряда в результате направленного движения ионов. Электроды, входящие в состав электрохимической ячейки, могут находиться в одном растворе либо в разных растворах, контактирующих друг с другом с помощью солевого мостика или через пористую перегородку (рис. 25.1). Ячейки первого типа называются ячейками без жидкостного соединения, второго типа - ячейками с жидкостным соединением.
|
|
|

Рис. 25.1. Электрохимическая ячейка с жидкостным соединением (слева) и без жидкостного соединения (справа)
В состав электрохимической ячейки должно входить, по крайней мере, два электрода.

Потенциал электрода сравнения должен:
· быть хорошо воспроизводимым;
· не изменяться во времени;
· не зависеть от состава анализируемого раствора, действия электрического тока и т.д.
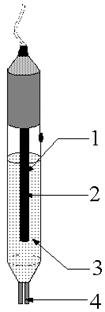
Рис. 25.2. Насыщенный хлоридсеребряный электрод 1 - серебряная проволока, 2 - внутренний насыщенный раствор KCl, 3 - внешний насыщенный раствор KCl, 4 - асбестовое волокно |
На практике в качестве электродов сравнения чаще всего применяют хлоридсеребряный и каломельный электроды. Например, хлоридсеребряный электрод представляет собой серебряную проволочку, покрытую AgCl и помещённую в раствор KCl (рис. 25.2).
AgCl¯ +
Ag¯ + Cl-

При использовании насыщенного раствора KCl потенциал хлоридсеребряного электрода при температуре 25 °С равен +0,222 В.
В некоторых случаях в состав электрохимической ячейки может входить ещё и третий электрод, называемый вспомогательным. Этот электрод служит источником электронов либо, наоборот, играет роль стока электронов и тем самым обеспечивает возможность протекания электрического тока через ячейку. Как правило, ни сила тока, ни потенциал вспомогательного электрода не измеряются. Вспомогательный электрод изготавливают из инертного материала.
Если в электрохимической ячейке протекают электрохимические реакции, то в зависимости от режима работы она может быть:

Если во внешней цепи не протекает электрический ток, то потенциал индикаторного электрода подчиняется уравнению Нернста и называется равновесным. Если во внешней цепи начинает протекать электрический ток, то это приводит к отклонению величины потенциала электрода от рассчитанной по уравнению Нернста. Такое явление называется поляризацией, а электрод (или электрохимическая ячейка) - поляризованным.
|
|
|

Концентрационная поляризация (hс) возникает вследствие медленной диффузии вещества из объёма раствора к поверхности электрода и приводит к уменьшению потенциала электрода. В том случае, когда измеряют величину равновесного потенциала, концентрационная поляризация является нежелательным процессом, и её стремятся свести к минимуму. В вольтамперометрических методах анализа она, наоборот, необходима. Для уменьшения концентрационной поляризации, анализируемый раствор постоянно перемешивают и кроме того, плотность тока на индикаторном электроде должна быть незначительной. В вольтамперометрии измерение проводят в разбавленных неперемешиваемых растворах и применяют электроды с большой плотностью тока.
Кинетическая поляризация, или перенапряжение (ht) обусловлена медленным переносом электронов на поверхности электродов. Величина кинетической поляризации зависит от природы окислительно-восстановительной системы и материала электрода.

Рис. 25.2. Насыщенный хлоридсеребряный электрод 1 - серебряная проволока, 2 - внутренний насыщенный раствор KCl, 3 - внешний насыщенный раствор KCl, 4 - асбестовое волокно 





