Состояние утомления сопровождает все виды деятельности человека. Оно является нормальной реакцией организма на рабочую нагрузку, но в острых и хронических формах вызывает нарушение работоспособности. Утомление — это «функциональное состояние, которое возникает в результате интенсивной или (и) длительной рабочей нагрузки и проявляется во временном нарушении ряда психических и физиологических функций индивида, а также снижении эффективности и качества труда» (Бодров В. А., 1988). При продолжительном воздействии чрезмерных нагрузок и отсутствии условий для полноценного восстановления функциональных нарушений состояние утомления может перейти в переутомление (рис. 24-1).
· Утомление — временное нарушении ряда психических и физиологических функций в результате рабочей нагрузки.
Основной причиной утомления является интенсивная и длительная рабочая нагрузка. Для умственного утомления такая нагрузка обычно связана с интеллектуальной деятельностью по преобразованию большого потока информации, работой при временных ограничениях, сложности и ответственности задания. Нагрузкой может быть и физическая работа по поддержанию вынужденной позы, перемещению органов управлений и т. д.
|
|
|
К дополнительным причинам утомления, которые могут ускорить развитие этого состояния или усилить выраженность его проявлений, следует отнести:
- воздействие на организм неблагоприятных факторов среды (шум, вибрация, гипоксия и т. д.);
- повышенное нервно-психическое напряжение, эмоциональный стресс;
- чрезмерную по интенсивности физическую и умственную нагрузку перед основной работой (физкультура и спорт, домашняя работа и т. д.).

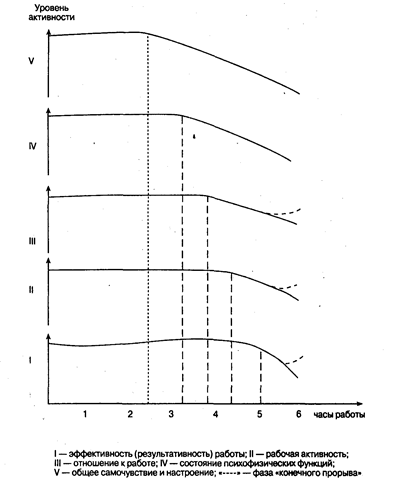
Рис. 25-1. Изменение функциональных показателей человека в процессе развития утомления
В качестве факторов, предрасполагающих к возникновению утомления, выступают: нарушение рационального режима труда, отдыха и питания; длительные перерывы между работой (профессиональная дезадаптация); остаточные функциональные нарушения (снижение резервов организма) после болезни; недостаточное физическое развитие; наличие вредных привычек; недостаточный уровень физической подготовленности и т. д.
По видам утомление может быть физическим, умственным, эмоциональным и смешанным; общим и локальным; мышечным, зрительным, слуховым, интеллектуальным (творческим).
По формам это состояние классифицируется на компенсируемое, острое, хроническое утомление и переутомление. Современная классификация утомления (табл. 25.1) построена на основе учета трех групп показателей:
1) причины его возникновения;
2) симптомы проявления;
3) способы и продолжительность восстановления работоспособности.
Таблица 25.1