Одним из способов снижения вибрации оборудования является правильный выбор виброизоляторов, которые могут быть резиновыми или стальными в виде пружин(2.5.19.).
Используя схему расчетов на рис. 2.5.19, рассмотрим пример выбора стальных и резиновых виброизоляторов.
Необходимо определить количество пружин виброизоляторов для двигателя весом Q=15000кг. В качестве виброизоляторов решено использовать стальны пружины высотой H0=0,264м, со средним диаметром D=0,132м, с диаметром прутка d=0,016м, с числом рабочих витков i=5,5.
На основе имеющихся данных устанавливаем индекс пружин
. Для расчета жесткости одной пружины в продольном (вертикальном) направлении (K1z:
) необходимо знать модуль упругости на сдвиг G. Для всех пружинных сталей G принимается равным 78453200000 Па.
Согласно рис.2.5.20:

При выборе виброизоляторов H0/D < 2, в нашем случае
.

Рис.2.5.19.Выбор виброизоляторов
По графику на рис. 2.5.19. находим коэффициент (К), учитывающий повышение напряжения в средних точках сечения прутка, вследствие деформации сдвига, который равен 1,18. Для определения статистической нагрузки Рст необходимо знать допустимое для пружинной стали напряжение при кручений τ. Если нет сведений о сорте стали, то τ принимают равным 392266000 Па. В нашем примере статическая нагрузка будет равна:
H
Общее количество стальных пружин:
.
Общая жесткость пружин виброизоляторов равна:

Для нормальной работы двигателя нужно установить 4 пружины виброизолятора с Но=0,264м; D = 0,132м; d = 0,016м.
Необходимо определить количество резиновых виброизоляторов для центрифуги весом Q= 14240 кг, которой создается усилие 139694,4 Н. Расчетная величина центробежной силы Рz - 9810Н. Виброизоляторы изготовлены в форме кубиков с поперечным размером А (диаметр или сторона квадрата) равным 0,1м (площадью основания - F =0,01м 2) из резины сорта 4049, динамический модуль упругости Еg - 10787315 Па. Замеренная частота возмущающей силы fo =24Гц. Величину возмущающих сил (Pkz) необходимо уменьшить до 196,2 Н. Учитывая, что имеющиеся в распоряжении виброизоляторы удовлетворяют требованию 0,25 < 0.1 / 0.1 < 1,1, определим жесткость в вертикальном направлении Kz одного резинового виброизолятова (рис.2.5.19):
, 
Оценим минимальное отношение (аzmin) частоты возмущающей силы к частоте собственных колебаний виброизолированного объекта (рис.2.5.19.).

Теперь можем рассчитать частоту собственных вертикальных колебаний (fz) виброизолятора при заданном аzmin:
Гц
Общая максимальная вертикальная жесткость Kzmах виброизоляторов равна:
н/м
С учетом жесткости находим необходимое общее количество (np) резиновых виброизоляторов (рис.2.5.19.): 
Горизонтальная жесткость (Кх; Ку) резинового виброизолятора с учетом модуля упругости (
Па) равна:

Следовательно, для того, чтобы уменьшить возмущающие силы до 196,2 Н необходимо использовать 5 резиновых виброизоляторов в форме кубика с А≥ 10см.

Рис. 2.5.20. Виброизоляция поста управления:
1 – пневмоамортизатор; 2 – железобетонная плита; 3 – пульт управления.
На рис.2.5.20.представлена схема виброизоляции поста оператора с применением пневмоамортизаторов. Воздух в пневмоамортизаторе находится под давлением 3-20 кПа, а нагрузка на пневмоамортизатор, выполненный в виде автомобильной камеры составляет 1000-4000 Н.
Частота собственных колебаний виброизолированного поста в зависимости от нагрузки находится в пределах 2…4 Гц, что обеспечивает виброизоляцию с µ= 1/ 150 при частоте вибрации 50 Гц.

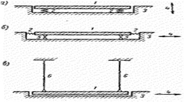
Рис.2.5.21. Принципиальные схемы пассивной виброизоляции рабочих мест.
1 – пассивно виброизолированния плита.
2 – виброизолятор. 3 – колеблющееся основания.
4 – направления колебания. 5 и 6 – опоры и подвески плиты.
Для рабочего места оператора(рис.2.5.17.) предусматривается виброизолированное сидение с использованием гидравлического демпфера, обеспечивающего коэффициент затухания 0.2...0.3, а снижение вибрации на частотах 16…63 Гц достигает 8 дБ

Рис. 2.5.22. Схема виброизоляции насосной установки
Вибропоглощение – поглощение амплитуды виброскорости упруговязким материалом. Сущность вибропоглощеня заключается в нанесении на вибрирущую поверхность упруговязких материалов: пластика, пористой резины, вибропоглощающих покрытий и мастик.
Вибропоглощение покрытий эффективно при условии, что протяженность поглоща-ющего слоя равна нескольким длинам волн колебаний изгиба.
Вибропоглощение малоэффективно при снижении интенсивности продольных волн, которые переносят большую колебательную энергию на высоких частотах. Выбор материала для покрытий принимают исходя из данных спектра вибраций. В зависимости от величины модуля упругости вибропоглощающие покрытия делятся на жесткие (Е=109 Па) и мягкие (Е=107 Па). Жесткие вибропоглощающие покрытия применяются в основном для снижения колебаний низких и средних частот. Мягкие применяют для снижения интенсивности высокочастотных вибраций. Высокой вибропоглощающей эффективностью обладают комозиционные материалы: «Полиакрил», «Випонит», листовые материалы - винипор, пенопласт и др., которые приклеиваются к металлическим частям оборудования (кожухам) при оптимальной толщине покрытия 2…3 толщины покрываемой конструкции. Такое покрытие эффективно и для снижения уровня шума.
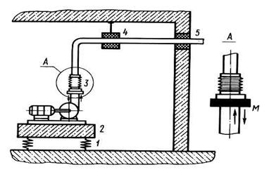
Виброгашение. Динамические гасители вибрации наиболее эффективно применяются для уменьшения вибрации машин со стабильной частотой колебаний (насосов, турбогенераторов, силовых установок и т.д.).Работа виброгасителя сводится к следующему (рис.2.5.20). Виброгаситель массой m и жесткостью К! присоединяется к вибрирующему механизму, колебания которого необходимо погасить (масса механизма М и жесткость К). Колебания механизма под действием возмущающей силы происходят по гармоническому закону F0 * sin ωt. Массу и жесткость виброгасителя m и К! подбирают таким образом, чтобы частота собственных колебаний виброгасителя была равна ω = ω0 . При этом, в каждый момент времени сила F1 от виброгасителя действует против силы F(виброгаситель входит в резонансные колебания, а колебания механизма массой М уменьшаются). Виброгашение применяется для снижения колебаний высотных объектов (теле- и радиоантенны, дымовые трубы, памятники). Частота собственных колебаний виброгасителей подбирается таким образом, чтобы она совпадала с частотой пульсации ветровой нагрузки. Недостатком применения динамических гасителей является то, что они позволяют снизить вибрацию только на одной частоте(2.5.23).
Рис. 2.5.23. Динамические гасители вибраций: а – принципиальная схема гасителя; б – динамическое гашение колебаний дымовой трубы.
Виброгасящее основание. Уменьшить воздействие вибрации от динамически неуравновешенных машин на основные конструкции зданий и сооружений можно следующим образом: увеличить массу фундамента, выполнить виброгасящее основание. Конструктивно виброгасящее основание выполняют из легких упругих материалов в виде акустических швов по периметру фундамента вибрирующей машины (дробилки, виброплощадки, мельницы, вентиляторы). На рис.2.5.24-2.5.27.приведены схемы виброгасящих оснований.

Рис. 2.5.24. Виброгасящее основание:
1 – виброплощадка; 2 – основание (фундамент); 3 – акустический шов.

Рис. 2.5.25. Установка агрегатов на виброгасящие основания: а – на фундаменте и на грунте; б – на перекрытии.

Рис. 2.5.26. Схема установки резинового коврика под фундамент виброплощадки.
Рис. 2.5.27. Виброплощадка на «открытой воздушной подушке »:
1 - виброплощадка; 2 - вентилятор;
3 – форма с бетоном






