Прямоточные парогенераторы с прямыми трубками теплопередающей поверхности.На АЭС «Окони-1» и «Дэвис-Бессе» с водой под давлением установлены прямоточные парогенераторы, производящие слабо перегретый пар. Характеристики этих парогенераторов представлены в табл. 7, конструктивная схема — на рис. 8.
Таблица 7
| Характеристики парогенераторов | АЭС | |
| «Окони-1» | «Девис-Бессе» | |
| Тепловая мощность, МВт | ||
| Число парогенераторов на реактор | ||
| Давление теплоносителя, МПа | 16,1 | 15,2 |
| Температура теплоносителя, °С: | ||
| на входе | ||
| на выходе | ||
| Расход теплоносителя, кг/с | ||
| Паропроизводительность, кг/с | ||
| Давление пара, МПа | 6,48 | 6,2 |
| Температура пара. °С | ||
| Давление питательной воды, МПа | 7,2 | — |
| Температура питательной воды, °С | — | |
| Диаметр и толщина стенки корпуса, м | — | 4,34X0,226 |
| Высота, м | — | |
| Наружный диаметр трубопроводов, мм: | ||
| «горячего» теплоносителя | — | |
| «холодного» теплоносителя | — | |
| Качество питательной воды парогенератора: | ||
| общее солесодержание, мкг/кг | — | |
| содержание кремния, мкг/кг | — | |
| содержание железа, мкг/кг | ||
| содержание меди, мкг/кг | — | |
| соли жесткости, мкг/кг | — | |
| рH | 9,3—9,5 | — |
Теплопередающая поверхность набрана из прямых труб, материал их — инконель. Для корпуса выбрана углеродистая сталь. Питательная вода через разбрызгивающее устройство и подается в кольцевой зазор между корпусом парогенератора и кожухом, отделяющим теплопередающую поверхность or корпуса.
|
|
|

Рис. 9 Прямоточный парогенератор с теплоносителем — вода под давлением для выработки перегретого пара поверхность нагрева змеевикового типа (проект, СССР): 1 — корпус парогенератора; 2 — верхняя часть трубного пучка; 3 — собирающая камера верхнего пучка и раздающая камера нижнего пучка труб; 4 — нижняя часть трубного пучка; 5 — собирающая камера нижнего трубного пучка: 6 —раздающая камера верхнего трубного пучка

Таблица 8
| Характеристика парогенератора | Прямоточный пароге нератор АЭС с ВВЭР (СССР, проект) |
| Электрическая мощность, МВт | |
| Тепловая мощность, МВт | |
| Паропроизводительность, кг/с | |
| Давление пара, МПа | 6,28 |
| Температура пара, °С | |
| Температура питательной воды. °С | |
| Расход теплоносителя, кг/с | |
| Давление теплоносителя, МПа | 15,7 |
| Температура теплоносителя, °С: | |
| на входе | |
| на выходе | |
| Скорость теплоносителя в трубах, м/с | 4,23 |
| Диаметр и толщина стенки труб, мм | 12x1,2 |
| Суммарная теплопередающая поверхность, м2 | 15 850 |
| Число труб, шт.: | |
| в нижнем спиральном пучке | |
| в верхнем спиральном пучке | |
| Число слоев навивки | |
| Шаг между слоями, мм | 14,5 |
| Количество трубок в первом слое: | |
| нижнего пучка | |
| верхнего пучка | |
| Количество трубок в последнем слое: | |
| нижнего пучка | |
| верхнего пучка | |
| Внутренний диаметр и толщина стенки коллектора, мм | 1650x195 |
| Внутренний диаметр трубопроводов, мм: | |
| подвода и отвода теплоносителя | |
| подвода питательной воды | |
| отвода перегретого пара | |
| Внутренний диаметр корпуса, мм | |
| Высота парогенератора, м | 26,5 |
| Масса парогенератора, т |
За счет конденсации части пара, поступающего в кольцевую щель через окна в кожухе, питательная вода нагревается до температуры кипения. Это позволяет поддерживать температуру корпуса равной температуре насыщения, что сводит к минимуму различие температур стенки трубы и корпуса и, следовательно, уменьшает до минимального значения разность температурных удлинений труб и корпуса.
|
|
|
Прямоточный парогенератор с витыми змеевиками (проект, СССР). На рис. 9 представлена схема, а в табл. 8 даны основные характеристики вертикального прямоточного парогенератора с перегревом пара. Теплопередающая поверхность парогенератора выполнена из витых змеевиков и разделена на два теплообменных пучка. В нижнем пучке питательная вода подогревается до температуры кипения и частично испаряется. В верхнем пучке влажный пар полностью испаряется и перегревается. Материал трубок нижнего пучка—сталь 0Х18Н10; верхнего—.сталь ОХ20Н46Б.
Трубки теплопередающей поверхности подсоединены к вертикально расположенному коллектору. Внутри коллектора установлены перегородки с отверстиями, которые делят поток теплоносителя на две части: одна направляется в трубки нижнего трубного пучка, другая — в трубки верхнего пучка. Питательная вода подается в парогенератор через патрубки, присоединенные к нижнему днищу корпуса. Перегретый пар выходит из патрубков в верхнем днище парогенератора.




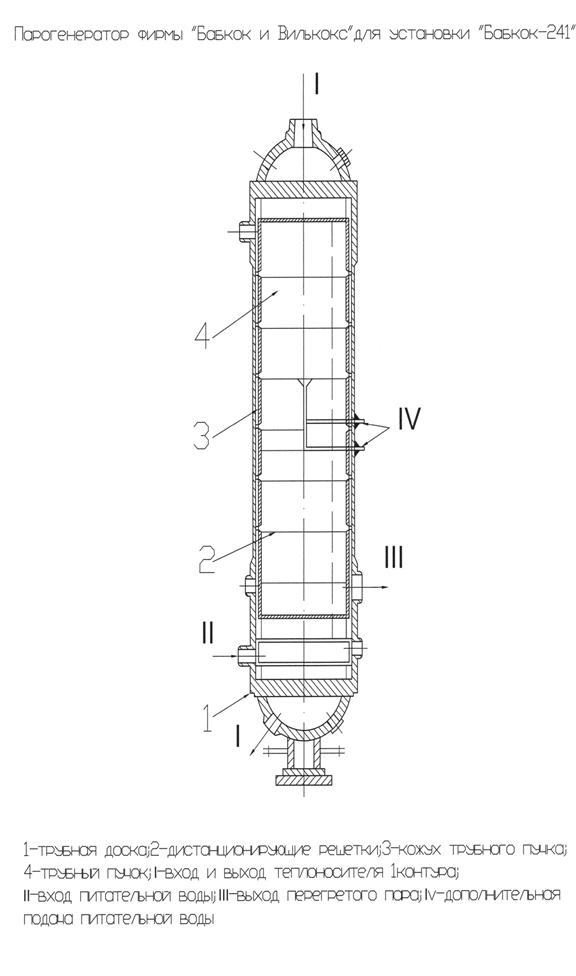
Прямоточный прямотрубный ПГ:
1— входная камера теплоносителя; 2 — трубная доска; 3 — трубы поверхности теплообмена; 4 — патрубок выхода пара; 5 — коллектор питательной воды; 6 — корпус ПГ; 7 — кожух трубного пучка; 8 — трубная доска; 9 — выходная камера теплоносителя.

3.1.5. Секционный парогенератор для АЭС с ВВЭР (проект, ЧССР)
Чехословацкими специалистами разработан проект многосекционного парогенератора для АЭС с ВВЭР. Подобного типа парогенераторы могут найти применение как аппараты большой единичной мощности. Схема парогенератора имеется в [1]. U-образные секции парогенератора выполнены по типу «пучок труб в трубе» и соединены с одним сепарационным барабаном. Теплоноситель Движется внутри труб пучка, рабочее тело (вода и пароводяная смесь) — в межтрубном пространстве секции, продольно омывая пучок труб. Подъемными и опускными трубами секции соединяются с сепарационным барабаном. Движение рабочего тела — за счет напора естественной циркуляции.
Таблица 9
| Характеристики парогенератора | Значение |
| Тепловая мощность, МВт | |
| Давление теплоносителя, МПа | 10,3 |
| Температура теплоносителя, °С; на входе на выходе | |
| Расход теплоносителя, кг/с | |
| Паропроизводителность. кг/с | 92,8 |
| Давление пара. МПа | 3,24 |
| Температура пара. °С | |
| Температура питательной воды, С | |
| Скорость теплоносителя, м/с: на экономайзерном участке на испарительном участке | 3,19 3,28 |
| Коэффициент теплоотдачи от теплоносители к стенке, кВт/(м2хК) на экономайзерном участке на испарительном участке | 24,8 25,1 |
| Коэффициент теплоотдачи от стенки к рабочему телу, кВт/(м2хК) на экономайзерном участке на испарительном участке | 23,2 |
| Коэффициент теплопередачи кВт/(м2хК): на экономайзерном участке на испарительном участке | 3,32 4,65 |
| Удельный тепловой поток на испарительном участке, кВт/м | |
| Кратность, естественной циркуляции | |
| Скорость циркуляции, м/с | 0,83 |
| Число секций | |
| Число трубок в секции | |
| Диаметр и толщина стенки трубки, мм | 16х1.4 |
| Диаметр толщина стенки трубы -корпуса секции, мм | 194х6 |
| Толщина трубной доски секции, мм | |
| Внутренний диаметр трубопроводов теплоносителя, мм | |
| Скорость теплоносителя в трубопроводах, м/с | 8,33 |
| Диаметр и толщина стенки опускных труб контура естественной циркуляции, мм | 102x3,5 |
| Скорость воды в опускных трубах, м/с | 1,75 |
| Гидравлическое сопротивление по контуру теплоносителя, МПа | 0,116 |
| Размеры сепарационного барабана, м: наружный диаметр длина | 1,8 |
| Вес парогенератора, т |
Материал трубок теплопередающей поверхности — сталь 1X18Н10Т. Наружные трубы секции и сепарационный барабан изготовляются из углеродистой стали. Основные характеристики парогенератора даны в табл. 9.
|
|
|






